GM Service Manual Online
For 1990-2009 cars only

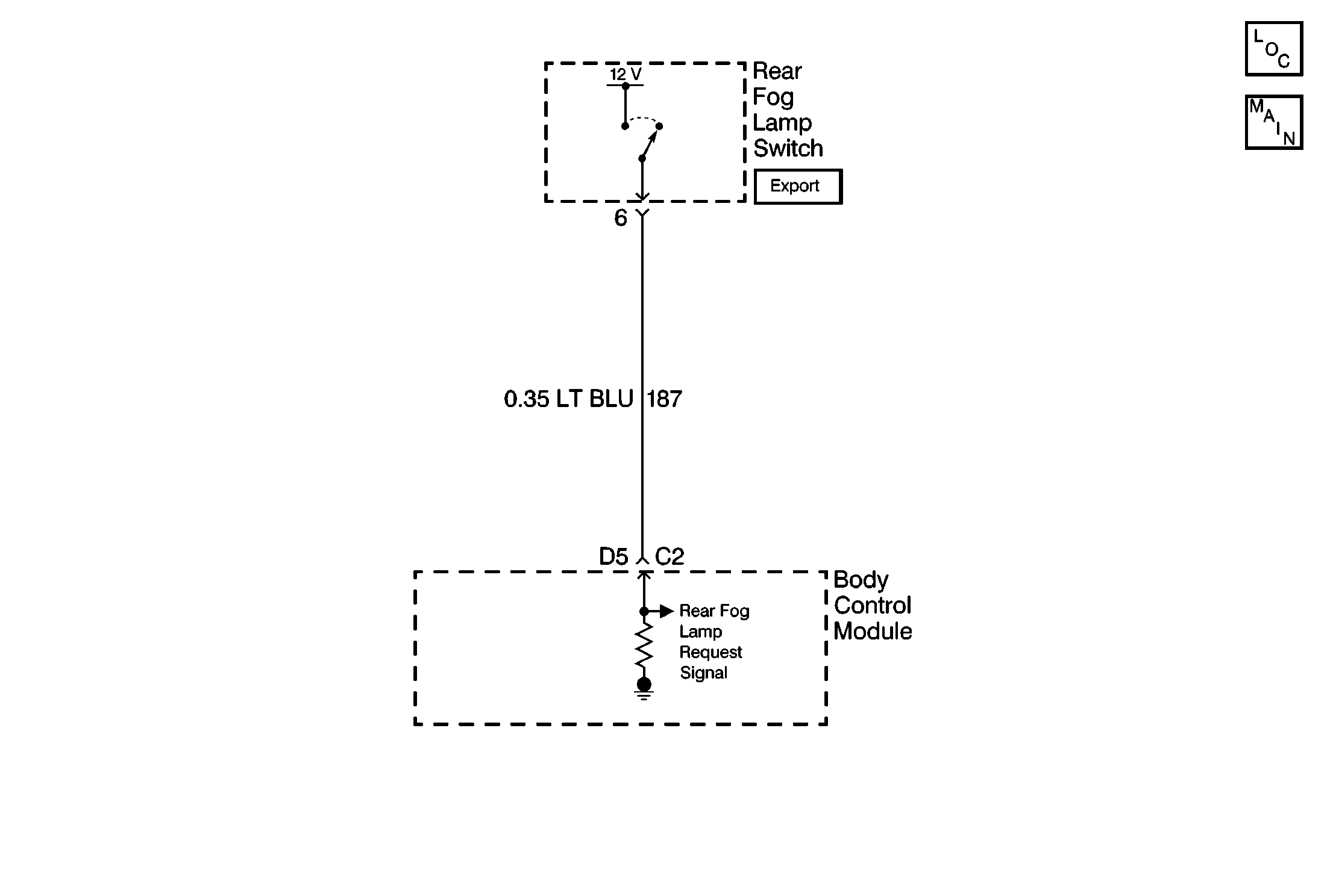
Object Number: 74050  Size: MF
Body Control Module Components
Body Control System Schematics
Handling Electrostatic Discharge Sensitive Parts Notice

Circuit Description

The rear fog lamp switch circuit provides a direct battery input to the BCM when the switch is pressed. This input allows the BCM to detect a rear fog lamps switch ON or OFF request. If the BCM detects battery voltage on the rear fog lamp circuit (CKT 187) when the rear lamps are OFF, the BCM will turn ON the lamps by energizing the rear fog lamp relay. If the BCM detects battery voltage after the rear fog lamps ON command, the BCM will turn OFF the lamps. The BCM monitors CKT 187 in order to determine how long the voltage has been applied. If the voltage is applied for longer than expected, a malfunction is present and a DTC will set.

Conditions for Setting the DTC

The BCM detects battery voltage on CKT 187 for longer than 60 seconds.

Action Taken When the DTC Sets

    • Stores a DTC B2408 in the BCM memory.
    • No driver warning message will be displayed for this DTC.

Conditions for Clearing the DTC

    • The BCM no longer detects battery voltage on CKT 187 for longer than 60 seconds.
    • A history DTC will clear after 50 consecutive ignition cycles if the condition for the malfunction is no longer present.
    • Use the IPC clearing DTCs feature.
    • Use a scan tool.

Diagnostic Aids

    • The following conditions may cause an intermittent malfunction:
       - There is an intermittent short to voltage in CKT 187.
       - The rear fog lamp switch is internally shorted to voltage or is sticking.
       - The rear fog lamp switch is pressed for longer than 60 seconds.
    • If CKT 187 is shorted to voltage, the rear fog lamps will remain ON or OFF at all times depending on whether the lamps were ON or OFF when the malfunction occurred. If the short occurred when the lamps were ON, the lamps will remain OFF at all times. If the short occurred when the lamps were OFF, the lamps will remain ON at all times. The BCM will remember whether the lamps were ON or OFF even if the ignition is switched OFF.
    • If the DTC is a history DTC, the problem may be intermittent. Perform the tests shown while moving related wiring and connectors. This can often cause the malfunction to occur. Refer to Intermittents and Poor Connections .

Test Description

The numbers below refer to the step numbers on the diagnostic table:

  1. This test determines if there is a short to voltage in the rear fog lamp switch circuit.

  2. This test determines if the short to voltage is located in CKT 187 or in the rear fog lamp switch.

DTC B2408 -- Rear Fog Lamp Switch Circuit Short to Voltage (Export Only)

Step

Action

Value(s)

Yes

No

1

Were you sent here from the BCM Diagnostic System Check?

--

Go to Step 2

Go to BCM Diagnostic System Check

2

  1. Turn OFF the ignition switch.
  2. Disconnect the BCM connector C2.
  3. Turn ON the ignition switch.
  4. With a test light connected to ground, probe BCM connector terminal (harness side) D5.

Is the test light ON?

--

Go to Step 3

Go to Step 5

3

  1. Turn OFF the ignition switch.
  2. Disconnect the fog lamp switch.
  3. Turn ON the ignition switch.
  4. With a test light connected to ground, probe BCM connector terminal (harness side) D5.

Is the test light ON?

--

Go to Step 6

Go to Step 7

4

  1. Turn OFF the ignition switch.
  2. Reconnect or install any connectors or components that were disconnected or removed.
  3. Turn ON the ignition switch.
  4. Clear any DTCs. Refer to Clearing DTCs .
  5. Wait 60 seconds and check for DTCs.

Does DTC B2408 set as current?

--

Go to Step 9

System OK

5

Check the rear fog lamp switch circuit for an intermittent malfunction. Refer to Diagnostic Aids.

Was a problem found?

--

Go to Step 8

Go to Step 4

6

Locate and repair the short to voltage in CKT 187.

Is the circuit repair complete?

--

Go to Step 10

--

7

Replace the rear fog lamp switch. Refer to Fog Lamp Switch Replacement in Lighting Systems.

Is the replacement complete?

--

Go to Step 10

--

8

Repair the intermittent malfunction. Refer to Diagnostic Aids.

Is the repair complete?

--

Go to Step 10

--

9

  1. Replace the BCM. Refer to Body Control Module Replacement .
  2. Program the BCM. Refer to Body Control Module (BCM) Programming/RPO Configuration .

Is the replacement complete?

--

Go to Step 10

--

10

  1. Turn OFF the ignition switch.
  2. Reconnect or install any connectors or components that were disconnected or removed.
  3. Turn ON the ignition switch.
  4. Clear any DTCs. Refer to Clearing DTCs .

Are all DTCs cleared?

--

Go to BCM Diagnostic System Check

--