GM Service Manual Online
For 1990-2009 cars only

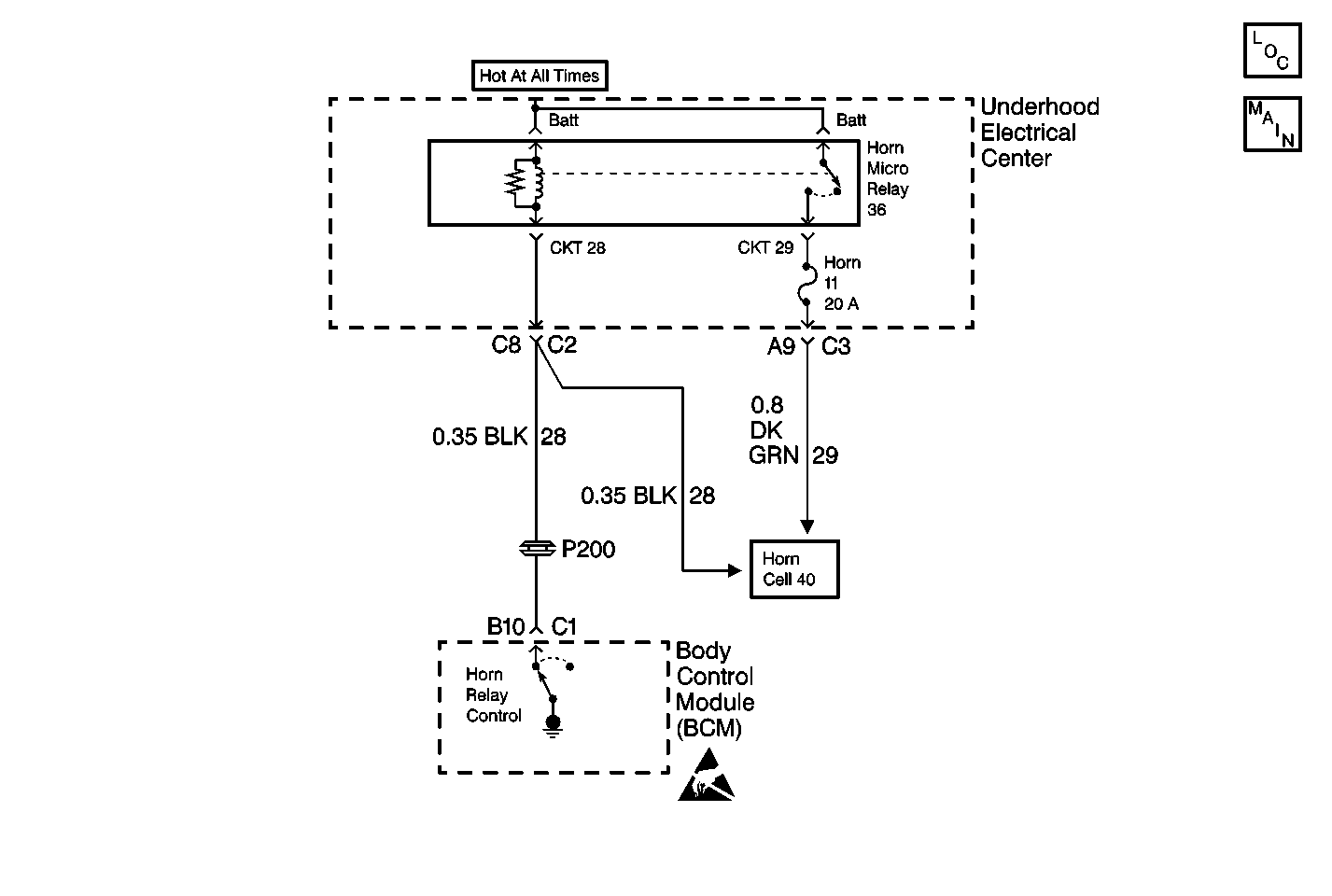
Object Number: 74046  Size: MF
Body Control Module Components
Body Control System Schematics
Horn Schematics
Handling Electrostatic Discharge Sensitive Parts Notice

Circuit Description

The horn circuit is part of a standard horn system except for the addition of a relay and the BCM providing a control circuit. The BCM can ground CKT 28 in order to energize the relay and turn ON the horns, allowing the horns to be used for the UTD functions. The BCM monitors the voltage level on the horn control circuit. When the BCM commands the relay ON, the voltage level on the control circuit should be low. When the relay is OFF, the voltage level should be high. If the BCM detects a voltage level other than expected, a malfunction is present and a DTC will set.

Conditions for Setting the DTC

    • The BCM detects a high voltage level (a short to voltage or BCM open internally) in CKT 28.
    • The BCM can only test for this condition when the BCM attempts to energize the horn relay.
    • All conditions must be present for 2 seconds.

Action Taken When the DTC Sets

    • Stores a DTC B2528 in the BCM memory.
    • No driver warning message will be displayed for this DTC.

Conditions for Clearing the DTC

    • This DTC requires an ignition cycle in order to change from current to history.
    • The BCM no longer requests an active horn relay.
    • The BCM no longer detects a high voltage level in CKT 28 only when the BCM is attempting to energize the horn relay.
    • A history DTC will clear after 50 consecutive ignition cycles if the condition for the malfunction is no longer present.
    • Use the IPC clearing DTCs feature.
    • Use a scan tool.

Diagnostic Aids

    • The following conditions may cause an intermittent malfunction:
       - There is an intermittent open or short to voltage in CKT 28.
       - There are poor connections at the BCM, the underhood electrical center, or the horn relay terminals.
       - The horn relay is shorted to voltage internally.
    • If the BCM is open internally, or if CKT 28 is shorted to voltage, the horn will remain OFF at all times.
    • The horn relay may be installed in the I/P electrical center in two directions and still function properly. Refer to Electrical Center Identification Views for relay circuit location.
    • If the DTC is a history DTC, the problem may be intermittent. Perform the tests shown while moving related wiring and connectors. This can often cause the malfunction to occur. Refer to Intermittents and Poor Connections .

Test Description

The numbers below refer to the step numbers on the diagnostic table:

  1. This test determines if there is a short to voltage in the horn circuit.

  2. This test checks the resistance of the horn relay coil.

  3. This test checks for an internal horn relay short.

  4. This test checks for an internal horn relay short.

  5. This test checks if the BCM can properly control the horn relay by commanding the BCM to ground CKT 28.

  6. This test determines if there is an open in CKT 28.

  7. This test determines if the BCM is causing the short to voltage.

  8. This test determines if the short to voltage is located in the steering column.

DTC B2528 -- Horn Relay Circuit Short to Voltage or BCM Internal Open

Step

Action

Value(s)

Yes

No

1

Were you sent here from the BCM Diagnostic System Check?

--

Go to Step 2

Go to Diagnostic System Check - Body Control System

2

  1. Turn OFF the ignition switch.
  2. Disconnect the horn relay.
  3. Turn ON the ignition switch.
  4. With a test light connected to ground, probe CKT 28 at the underhood electrical center horn relay terminal. Refer to Electrical Center Identification Views for relay circuit location.

Is the test light ON?

--

Go to Step 10

Go to Step 3

3

Measure the resistance between the horn relay terminals 1 and 2 (or 85 and 86).

Is the resistance within specifications?

75-105 ohms

Go to Step 4

Go to Step 15

4

Check for continuity between the horn relay terminals 1 and 3 (or 85 and 87).

Is there continuity?

--

Go to Step 15

Go to Step 5

5

Check for continuity between the horn relay terminals 1 and 5 (or 85 and 30).

Is there continuity?

--

Go to Step 15

Go to Step 6

6

  1. Turn ON the ignition switch.
  2. With a test light connected to B+, probe CKT 28 at the underhood electrical center horn relay terminal. Refer to Electrical Center Identification Views for relay circuit location.
  3. Using a scan tool, command the horn relay ON and OFF.

Does the test light turn ON and OFF with each command?

--

Go to Step 8

Go to Step 7

7

  1. Turn OFF the ignition switch.
  2. Disconnect the BCM connector C1.
  3. Check for continuity between the BCM connector terminal (harness side) B10 and CKT 28 at the underhood electrical center horn relay terminal. Refer to Electrical Center Identification Views for relay circuit location.

Is there continuity?

--

Go to Step 16

Go to Step 12

8

Check the horn circuit for an intermittent malfunction. Refer to Diagnostic Aids.

Was a problem found and repaired?

--

Go to Step 17

Go to Step 9

9

  1. Turn OFF the ignition switch.
  2. Reconnect or install any connectors or components that were disconnected or removed.
  3. Turn ON the ignition switch.
  4. Clear any DTCs. Refer to Clearing DTCs .
  5. Using a scan tool, cycle the horn relay.

Does DTC B2528 set as current?

--

Go to Step 16

System OK

10

  1. Turn OFF the ignition switch.
  2. Disconnect the BCM connector C1.
  3. Turn ON the ignition switch.
  4. With a test light connected to ground, probe CKT 28 at the underhood electrical center horn relay terminal. Refer to Electrical Center Identification Views for relay circuit location.

Is the test light ON?

--

Go to Step 11

Go to Step 16

11

  1. Disconnect the steering column connector C221.
  2. With a test light connected to ground, probe CKT 28 at the underhood electrical center horn relay terminal. Refer to Electrical Center Identification Views for relay circuit location.

Is the test light ON?

--

Go to Step 13

Go to Step 14

12

Locate and repair the open in the underhood electrical center or in CKT 28.

Is the circuit repair complete?

--

Go to Step 17

--

13

Locate and repair the short to voltage in the underhood electrical center or in CKT 28.

Is the circuit repair complete?

--

Go to Step 17

--

14

Locate and repair the short to voltage in the steering column.

Is the circuit repair complete?

--

Go to Step 17

--

15

Replace the horn relay.

Is the replacement complete?

--

Go to Step 17

--

16

  1. Replace the BCM. Refer to Body Control Module Replacement .
  2. Program the BCM. Refer to Body Control Module (BCM) Programming/RPO Configuration .

Is the replacement complete?

--

Go to Step 17

--

17

  1. Turn OFF the ignition switch.
  2. Reconnect or install any connectors or components that were disconnected or removed.
  3. Turn ON the ignition switch.
  4. Clear any DTCs. Refer to Clearing DTCs .

Are all DTCs cleared?

--

Go to Diagnostic System Check - Body Control System

--