GM Service Manual Online
For 1990-2009 cars only

Brake Pressure Modulator Valve Replacement Rear Mounted EBTCM/BPMV

Removal Procedure

Caution: For safety reasons, the brake pressure modulator valve assembly must not be repaired, the complete unit must be replaced. With the exception of the EBCM, no screws on the brake pressure modulator valve assembly may be loosened. If screws are loosened, it will not be possible to get the brake circuits leak-tight and personal injury may result.

  1. Turn the ignition switch to the OFF position.
  2. Important: Allow the stabilizer shaft to hang down in order to provide clearance.


    Object Number: 290083  Size: MH
  3. Remove the RH stabilizer shaft insulator clamp.
  4. Remove the LH stabilizer shaft insulator clamp.
  5. Remove the brake pipes from the BPMV, noting the location.
  6. Disconnect the EBTCM harness connector.
  7. Remove the BPMV pump motor ground wire.

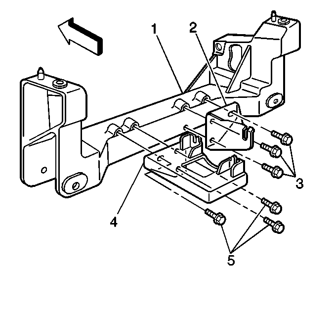
  8. Object Number: 284190  Size: SH
  9. Remove the right side EBTCM/BPMV bracket (2) from the crossmember by removing the three bolts (3).
  10. Remove the EBTCM and the BPMV together as one unit.

  11. Object Number: 143452  Size: SH
  12. Remove the insulator mounting bolt from the EBTCM.
  13. Remove the four EBTCM to BPMV bolts.
  14. Separate the EBTCM from the BPMV by gently pulling apart until separated. Be careful not to damage seal.

Installation Procedure


    Object Number: 143452  Size: SH
  1. Clean the seal and BPMV gasket surface with alcohol using a clean rag.
  2. Install the EBTCM to the BPMV.
  3. Notice: Use the correct fastener in the correct location. Replacement fasteners must be the correct part number for that application. Fasteners requiring replacement or fasteners requiring the use of thread locking compound or sealant are identified in the service procedure. Do not use paints, lubricants, or corrosion inhibitors on fasteners or fastener joint surfaces unless specified. These coatings affect fastener torque and joint clamping force and may damage the fastener. Use the correct tightening sequence and specifications when installing fasteners in order to avoid damage to parts and systems.

    Tighten
    Tighten the four mounting bolts to 3 N·m (27 lb in), then tighten to 6 N·m (53 lb in).

  4. Install the front EBTCM insulator mounting bolt.
  5. Tighten
    Tighten the EBTCM insulator mounting bolt to 14 N·m (10 lb ft).


    Object Number: 284206  Size: SH
  6. Position the EBTCM/BPMV assembly on the vehicle by slipping the BPMV insulator mounting bolts into the left side insulators (1).
  7. Install the right side bracket with the insulator attached to the EBTCM (2) by slipping the bracket insulator over the EBTCM insulator mounting bolt.
  8. Important: If the insulator nut was removed it must be replaced with a new insulator nut.

    Tighten
    If the insulator was removed tighten the insulator nut to 10 N·m (89 lb in).

  9. Install the right side bracket to the crossmember by installing the three bolts.
  10. Tighten
    Tighten the three bolts to 50 N·m (37 lb ft).


    Object Number: 290083  Size: MH

    Caution: Make sure brake pipes are correctly connected to BPMV. If brake pipes are switched by mistake Inlet vs. Outlet, wheel lockup will occur and personal injury may result.

    Important: If a new BPMV is being installed, remove the shipping plugs from the valve openings in the compartment during the next step.

  11. Install the brake pipe from the LF brake (3) on the BPMV.
  12. Tighten
    Tighten the brake pipe fittings to 16 N·m (12 lb ft).

  13. Install the brake pipe from the RF brake (5) on the BPMV.
  14. Tighten
    Tighten the brake pipe fittings to 16 N·m (12 lb ft).

  15. Install the brake pipe from the Proportioning Valve (6) on the BPMV.
  16. Tighten
    Tighten the brake pipe fittings to 16 N·m (12 lb ft).

  17. Install the brake pipe from the Master Cylinder (4) on the BPMV.
  18. Tighten
    Tighten the brake pipe fittings to 16 N·m (12 lb ft).

  19. Install the brake pipe from the LR brake (2) on the BPMV.
  20. Tighten
    Tighten the brake pipe fittings to 16 N·m (12 lb ft).

  21. Install the brake pipe from the RR brake (1) on the BPMV.
  22. Tighten
    Tighten the brake pipe fittings to 16 N·m (12 lb ft).

  23. Connect the BPMV pump motor ground.
  24. Connect the EBTCM harness connector.
  25. Important: Both sides of the EBTCM harness connector must be engaged with the lever before closing.

  26. Move the stabilizer shaft into position.
  27. Install the LH stabilizer shaft insulator clamp.
  28. Tighten
    Tighten the upper bolt to 65 N·m (49 lb ft).

    Tighten the lower bolt to 95 N·m (71 lb ft).

  29. Install the RH stabilizer shaft insulator clamp.
  30. Tighten
    Tighten the upper bolt to 65 N·m (49 lb ft).

    Tighten the lower bolt to 95 N·m (71 lb ft).

  31. Turn the ignition switch to the ON position, engine off.
  32. Fill the master cylinder reservoir.
  33. Bleed the system. Refer to Pressure Bleeding in Hydraulic Brakes if proper brake pedal height and feel do not return after the Pressure Brake System Bleeding perform the Antilock Brake System Automated Bleed Procedure .
  34. Perform the Diagnostic System Check .

Brake Pressure Modulator Valve Replacement Front Mounted EBTCM/BPMV

Removal Procedure

Notice: To prevent equipment damage, never connect or disconnect the wiring harness connection from the EBCM with the ignition switch in the ON position.


    Object Number: 284257  Size: SH
  1. Turn the ignition switch to the OFF position.
  2. Disconnect the EBTCM harness connector.
  3. Remove the brake pipes from the BPMV, noting the location.
  4. Remove the BPMV pump motor ground wire.

  5. Object Number: 284215  Size: SH
  6. Remove the three insulator nuts (2,3).
  7. Remove the EBTCM/BPMV from the vehicle as one unit.

  8. Object Number: 143452  Size: SH
  9. Remove the insulator mounting bolt from the EBTCM.
  10. Remove the four EBTCM to BPMV bolts.
  11. Separate the EBTCM from the BPMV by gently pulling apart until separated. Be careful not to damage seal.

Installation Procedure


    Object Number: 143452  Size: SH
  1. Clean the BPMV gasket surface with alcohol using a clean rag.
  2. Install the EBTCM to the BPMV.
  3. Notice: Use the correct fastener in the correct location. Replacement fasteners must be the correct part number for that application. Fasteners requiring replacement or fasteners requiring the use of thread locking compound or sealant are identified in the service procedure. Do not use paints, lubricants, or corrosion inhibitors on fasteners or fastener joint surfaces unless specified. These coatings affect fastener torque and joint clamping force and may damage the fastener. Use the correct tightening sequence and specifications when installing fasteners in order to avoid damage to parts and systems.

    Tighten
    Tighten the four mounting bolts to 3 N·m (27 lb in), then tighten to 6 N·m (53 lb in).

  4. Install the front EBTCM insulator mounting bolt.
  5. Tighten
    Tighten the EBTCM insulator mounting bolt to 14 N·m (10 lb ft).


    Object Number: 284215  Size: SH
  6. Install the EBTCM/BPMV into the bracket on the vehicle.
  7. Install the three insulator nuts (2,3).
  8. Important: If the insulator nut was removed it must be replaced with a new insulator nut (3).

    Tighten
    Tighten the three insulator nuts to 10 N·m (89 lb in).


    Object Number: 284257  Size: SH

    Caution: Make sure brake pipes are correctly connected to BPMV. If brake pipes are switched by mistake Inlet vs. Outlet, wheel lockup will occur and personal injury may result.

    Important: If a new BPMV is being installed, remove the shipping plugs from the valve openings in the compartment during the next step.

  9. Install the brake pipe from the LR brake (3) on the BPMV.
  10. Tighten
    Tighten the brake pipe fitting to 16 N·m (12 lb ft).

  11. Install the brake pipe from the RR brake (2) on the BPMV.
  12. Tighten
    Tighten the brake pipe fitting to 16 N·m (12 lb ft).

  13. Install the brake pipe from the Proportioning Valve (1) on the BPMV.
  14. Tighten
    Tighten the brake pipe fitting to 16 N·m (12 lb ft).

  15. Install the brake pipe from the LF brake (6) on the BPMV.
  16. Tighten
    Tighten the brake pipe fitting to 16 N·m (12 lb ft).

  17. Install the brake pipe from the RF brake (5) on the BPMV.
  18. Tighten
    Tighten the brake pipe fitting to 16 N·m (12 lb ft).

  19. Install the brake pipe from the Master Cylinder or the Combination Valve if the vehicle is equipped with Active Handling (4) on the BPMV.
  20. Tighten
    Tighten the brake pipe fitting to 16 N·m (12 lb ft).

  21. Connect the BPMV pump motor ground.
  22. Connect the EBTCM harness connector.
  23. Important: Both sides of the EBTCM harness connector must be engaged with lever before closing.

  24. Turn the ignition switch to the ON position, engine off.
  25. Perform the Diagnostic System Check .