GM Service Manual Online
For 1990-2009 cars only

Object Number: 383998  Size: MF
Engine Controls Component Views
Cell 20: Ignition Coil/Module Cylinders 1 and 3
OBD II Symbol Description Notice

Circuit Description

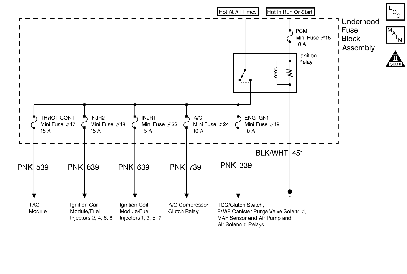
The IGN relay supplies a voltage to various fuses. The IGN relay is located in the underhood Electrical Center. The following components are powered by the IGN relay:

    • Injectors/Ignition coils
    • Throttle Actuator Control (TAC) module
    • Transmission
    • A/C system
    • EVAP solenoid
    • MAF sensor
    • AIR pump and AIR solenoid relays
    • TCC/Cruise and Extended Travel brake switches

Diagnostic Aids

Important: 

   • Remove any debris from the PCM\TAC module connector surfaces before servicing the PCM\TAC module. Inspect the PCM\TAC module connector gaskets when diagnosing/replacing the modules. Ensure that the gaskets are installed correctly. The gaskets prevent contaminate intrusion into the PCM\TAC modules.
   • For any test that requires probing the PCM or a component harness connector, use the Connector Test Adapter Kit J 35616 . Using this kit prevents damage to the harness/component terminals. Refer to Using Connector Test Adapters in Wiring Systems.

Ignition (IGN) Relay Underhood Electrical Center Terminal Identification

Front of Vehicle

Left Side of Vehicle

Ignition

B+

Right Side of Vehicle

Load

Ground

The following may cause an intermittent:

    • Poor connections; Refer to Intermittents and Poor Connections Diagnosis in Wiring Systems.
    • Corrosion
    • A mis-routed harness.
    • A rubbed through wire insulation
    • A broken wire inside the insulation

Test Description

The numbers below refer to the step numbers on the diagnostic table.

  1. This step tests the ignition relay ground circuit.

  2. This step isolates the circuit from the IGN relay . All of the circuits at the relay are good if the test lamp illuminates.

  3. Remove the underhood electrical center and inspect the circuits that are supplied a voltage by the IGN relay.

Step

Action

Value(s)

Yes

No

1

Did you perform the Powertrain On-Board Diagnostic (OBD) System Check?

--

Go to Step 2

Go to Powertrain On Board Diagnostic (OBD) System Check

2

  1. Turn OFF the ignition.
  2. Remove the underhood electrical center cover.
  3. Remove the IGN relay.
  4. Probe the B+ feed circuit to the IGN relay harness terminal with a test lamp J 35616-200 connected to a ground. Refer to Diagnostic Aids for the IGN relay terminal identification.

Does the test lamp illuminate?

--

Go to Step 3

Go to Step 8

3

  1. Turn ON the ignition leaving the engine OFF.
  2. Probe the ignition feed circuit to the IGN relay harness terminal with a test lamp J 35616-200 connected to a ground. Refer to Diagnostic Aids for the IGN relay terminal identification.

Does the test lamp illuminate?

--

Go to Step 4

Go to Step 9

4

Probe the IGN relay ground circuit at the underhood electrical center using the test lamp J 35616-200 connected to B+. Refer to Diagnostic Aids for terminal identification.

Does the test lamp illuminate?

--

Go to Step 5

Go to Step 10

5

  1. Turn OFF the ignition.
  2. Jumper the IGN relay B+ feed circuit and the IGN relay load circuit together using a fused jumper wire. Refer to Diagnostic Aids for the IGN relay terminal identification.
  3. Probe the fuses for the following components with a test lamp J 35616-200 connected to a ground.
  4. • A/C
    • INJR1
    • INJR2
    • THROT CONT
    • ENG IGN1

Does the test lamp illuminate for each of the circuits?

--

Go to Step 6

Go to Step 11

6

Inspect for poor connections for the IGN relay at the underhood electrical center. Refer to Intermittents and Poor Connections Diagnosis in Wiring Systems.

Did you find a poor connection?

--

Go to Step 11

Go to Step 7

7

Replace the IGN relay.

Is the action complete?

--

System OK

--

8

Repair the open B+ supply to the IGN relay. Refer to Wiring Repairs in Wiring Systems.

Is the action complete?

--

System OK

--

9

Repair the ignition feed circuit to the IGN relay. Refer to Wiring Repairs in Wiring Systems.

Is the action complete?

--

System OK

--

10

Repair the open ground circuit for the IGN relay. Refer to Wiring Repairs in Wiring Systems.

Is the action complete?

--

System OK

--

11

Replace the Underhood Electrical Center.

Is the action complete?

--

System OK

--