GM Service Manual Online
For 1990-2009 cars only

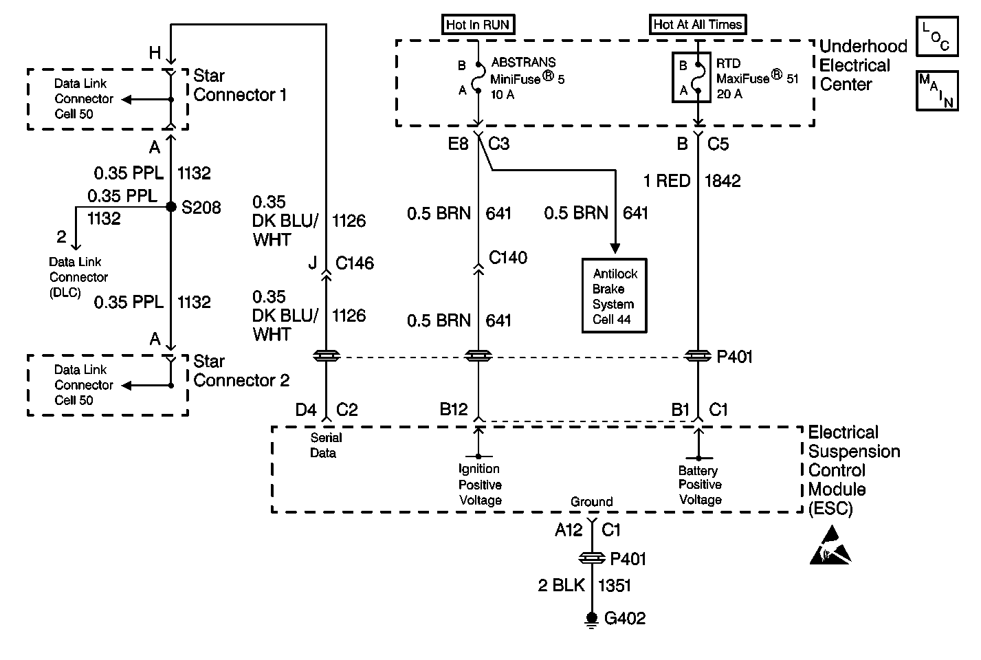
Object Number: 467142  Size: MF

Circuit Description

The RTD Diagnostic Check is an organized approach to identify problems associated with the RTD system. This diagnosis is the starting point for any RTD complaint, and will direct you to the next logical step in diagnosing that complaint. The ESC module is a very reliable component and not the likely cause of a RTD system malfunction. Most system complaints are linked to faulty wiring and connectors, and only occasionally to components. Understanding the RTD system and using the tables as written will reduce diagnostic time and prevent unnecessary parts replacement.

Diagnostic Aids

    • The following conditions may cause intermittent operation of the RTD system with no DTC stored:
       - Any condition which results in the interruption of power to the ESC module.
       - Out of range battery or ignition voltage.

Specifications
Normal battery or ignition voltage: 9.0-16.0 V.

       - Loose or damaged grounds.
    • Intermittent malfunctions in electronic systems may be very difficult to detect and accurately diagnose. The RTD system tests for different malfunctions under varying vehicle conditions. For this reason, a thorough test drive is often needed in order to repeat a malfunction. If the system malfunction is not repeated during the test drive, a good description of the complaint may be very useful in locating an intermittent malfunction. Most intermittent problems are due to faulty electrical connections or wiring. When an intermittent condition is suspected, check the suspected circuits for the following conditions:
       - Poor mating of connector halves or backed out terminals.
       - Improperly formed or damaged terminals.
       - Wire chafing.
       - A poor wire to terminal connection.
       - Dirty or corroded terminals.
       - A damaged connector body.
    • Use the J 35616-A Connector Test Adapter Kit whenever a diagnostic procedure requests terminal inspections or probing. Using the adapter ensures no damage to the terminal will occur, and will give an idea of whether contact tension is sufficient.
    • If the DTC is a history DTC, the problem may be intermittent. Using a scan tool, monitor the scan tool data of the suspected component while moving the wiring and the connectors. This can often cause the malfunction to occur.
    • The RTD system uses an ignition cycling diagnostic approach in order to reduce the occurrence of false or intermittent DTCs that do not affect the functionality of the RTD system. This allows for the fail-soft actions to be taken whenever a malfunction condition is current, but requires the malfunction to be current for a certain number of ignition cycles before the corresponding malfunction code and message will be stored or displayed. This feature can be disabled by clearing all history or current DTCs prior to any diagnostic procedure.
    • If the RTD detects a malfunction, the RTD system defaults with a fail-soft action. A fail-soft action refers to any specific action the RTD system takes in order to compensate for a detected problem. A typical RTD fail-soft action would be if the RTD system detects a malfunction with the ride control switch, the RTD system will ignore this input and fail-soft to the SPORT ride setting.

Test Description

The numbers below refer to the step numbers on the diagnostic table:

  1. This step will determine if communications can be established with the RTD system.

  2. This test checks for communication DTCs stored in the RTD system (communication DTCs begin with the letter U). Communication DTCs must be diagnosed and corrected first before diagnosing any other DTCs.

  3. This step checks for any stored RTD DTCs.

  4. This step checks if any malfunctions can be duplicated on a vehicle test drive.

  5. This step checks if communications can be established with the other systems connected to the same serial data line.

  6. This step checks for open fuses that power the ESC module.

  7. This step checks the ESC module power circuit.

  8. This step checks the ESC module ground circuit.

  9. This step will determine if there is an open in the serial data line between the ESC module and DLC terminal 2.

RTD Diagnostic System Check

Step

Action

Value(s)

Yes

No

1

  1. Turn OFF the ignition switch.
  2. Install a scan tool.
  3. Turn ON the ignition switch.
  4. Attempt to establish communications with the RTD system.

Does the scan tool communicate with the RTD system?

--

Go to Step 2

Go to Step 5

2

  1. Select display RTD DTC function with the scan tool.
  2. Check for any communication DTCs stored in the RTD system (communication DTCs begin with the letter U).

Are any communication DTCs stored?

--

Go to Diagnostic System Check - Data Link Communications

Go to Step 3

3

Check for any RTD DTCs. Refer to Diagnostic Trouble Code (DTC) List/Type .

Are any of these DTCs stored?

--

Go to Applicable DTC Table

Go to Step 4

4

  1. Using a scan tool, select clear DTC function (this will disable the ignition cycle counter). Refer to Diagnostic Aids.
  2. Road test the vehicle, avoiding smooth road surfaces, and driving equal amounts of time in each ride control switch position.
  3. Using a scan tool, select display RTD DTC function.

Are any DTCs stored?

--

Go to Applicable DTC Table

System OK

5

Attempt to establish communications with the other systems connected to the same serial data line (the PCM, the RFA, the IPC, etc.).

Does the scan tool communicate with any other system?

--

Go to Step 6

Go to Diagnostic System Check - Data Link Communications

6

  1. Turn ON the ignition switch.
  2. With a test light connected to ground, probe each RTD fuse.

Does the test light turn ON in all fuse circuits?

--

Go to Step 7

Go to Step 11

7

  1. Turn OFF the ignition switch.
  2. Disconnect the ESC module connectors C1, C2, and C3.
  3. Turn ON the ignition switch.
  4. With a test light connected to ground, probe all ESC module power circuits. Refer to Suspension Controls Schematics .

Does the test light turn ON in all circuits?

--

Go to Step 8

Go to Step 13

8

With a test light connected to B+, probe all ESC module ground circuits. Refer to Suspension Controls Schematics .

Does the test light turn ON in all circuits?

--

Go to Step 9

Go to Step 14

9

At the harness side of the ESC module connector C2, check for continuity between terminal D4 and DLC terminal 2.

Is there continuity?

Less Than 5 ohms

Go to Step 10

Go to Step 12

10

Replace the ESC module. Refer to Electronic Suspension Control Module Replacement .

Is the replacement complete?

--

Go to Step 15

--

11

  1. Repair the open in the ignition feed to the RTD fuse.
  2. If the fuse is open, locate and repair the short to ground in the circuit connected to the open fuse.

Is the repair complete?

--

Go to Step 15

--

12

Locate and repair the open in the serial data line CKT 1126.

Is the repair complete?

--

Go to Step 15

--

13

Locate and repair the open in the ESC module power circuits (CKT 641 or CKT 1242).

Is the repair complete?

--

Go to Step 15

--

14

Locate and repair the open in the ESC module ground circuit (CKT 1351).

Is the repair complete?

--

Go to Step 15

--

15

  1. Turn OFF the ignition switch.
  2. Connect or install any connector or components that were disconnected or removed.
  3. Turn ON the ignition switch.
  4. Using a scan tool, select clear DTCs.

Are all DTCs cleared?

--

System OK

--