GM Service Manual Online
For 1990-2009 cars only

Shock Absorber Disposal F45 (with Sensor)

Caution: Gas charged shock absorbers contain high pressure gas. Do not remove the snap ring from inside the top of the tube. If the snap ring is removed, the contents of the shock absorber will come out with extreme force which may result in personal injury.

Caution: To prevent personal injury, wear safety glasses when centerpunching and drilling the shock absorber. Use care not to puncture the shock absorber tube with the centerpunch.


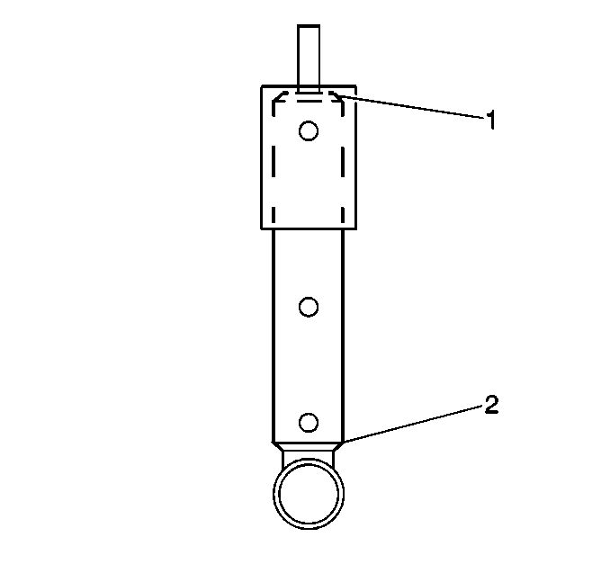
    Object Number: 415612  Size: SH
  1. Remove the upper shock cylinder dust cover.
  2. Make an indentation 40 mm (1.6 in) from the top (1) of the shock tube using a centerpunch.
  3. Clamp the shock absorber in a vise horizontally.
  4. Drill a hole in the shock absorber at the centerpunch mark using a 5 mm (3/16 in) drill bit. Gas or a gas/oil mixture will exhaust when the drill bit penetrates the shock absorber. Use shop towels in order to contain the escaping oil.
  5. Make an indentation in the middle of the shock tube with a centerpunch.
  6. Drill a second hole in the shock absorber at the centerpunch mark using a 5 mm (3/16 in) drill bit. Oil will exhaust when the drill bit penetrates the shock absorber. Use shop towels in order to contain the escaping oil.
  7. Remove the shock absorber from the vise and hold horizontally with the holes down to drain the oil from the tube. Move the rod in and out of the tube to completely drain the oil from the tube.

Shock Absorber Disposal FE1 and FE3 (without Sensor)

Caution: Gas charged shock absorbers contain high pressure gas. Do not remove the snap ring from inside the top of the tube. If the snap ring is removed, the contents of the shock absorber will come out with extreme force which may result in personal injury.

Caution: To prevent personal injury, wear safety glasses when centerpunching and drilling the shock absorber. Use care not to puncture the shock absorber tube with the centerpunch.


    Object Number: 415612  Size: SH
  1. Make an indentation 40 mm (1.6 in) from the base (2) of the shock tube using a centerpunch.
  2. Clamp the shock absorber in a vise horizontally with the shock absorber completely extended.
  3. Drill a hole in the shock absorber at the centerpunch using a 5 mm (3/16 in) drill bit. Gas or a gas/oil mixture will exhaust when the drill bit penetrates the shock absorber. Use shop towels in order to contain the escaping oil.
  4. Make an indentation in the middle of the tube with a centerpunch.
  5. Drill a second hole in the shock absorber at the centerpunch using a 5 mm (3/16 in) drill bit. Oil will exhaust when the drill bit penetrates the shock absorber. Use shop towels in order to contain the escaping oil.
  6. Remove the shock absorber from the vise and hold horizontally with the hole down to drain the oil from the tube. Move the rod in and out of the tube to completely drain the oil from the tube.