GM Service Manual Online
For 1990-2009 cars only

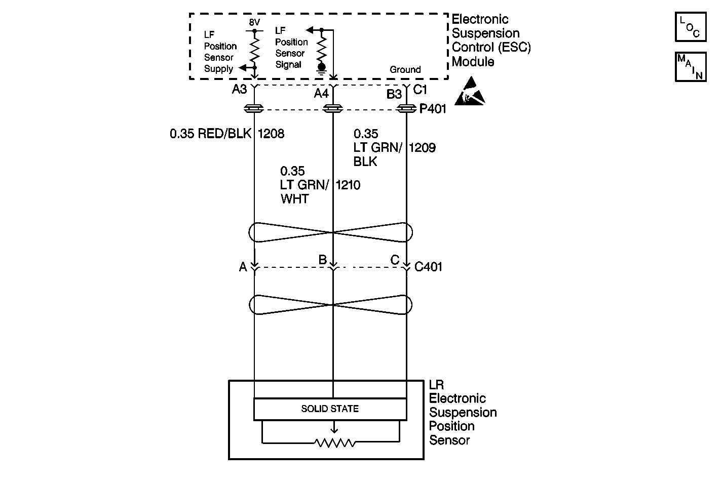
Object Number: 467132  Size: MF
Suspension Controls Components
Suspension Controls Schematics
Handling Electrostatic Discharge Sensitive Parts Notice

Circuit Description

The ESC module supplies 8 volts to the position sensors. The position sensors use the supplied 8 volts to produce an analog output range of 0-5 volts. The ESC module monitors the position sensor output voltage for an out of range condition. The position sensor normal operating range is 0.35-4.75 volts. An out of range condition is current if the data is not within this range.

Conditions for Setting the DTC

    • The ESC module senses position sensor output voltage under 0.35 volts or over 4.75 volts.
    • The condition must be detected for 1 second in 4 consecutive ignition cycles.

Action Taken When the DTC Sets

    • Stores a DTC C1762 in the ESC memory.
    • Provides shocks absorber solenoid control based on the vehicle speed only.
    • Sends a message to the IPC to display the SERVICE RIDE CONTROL message.

Conditions for Clearing the DTC

    • A history DTC will clear after 100 consecutive ignition cycles if the condition for the malfunction is no longer present.
    • The ESC module senses the correct position sensor output voltage (0.35-4.75 volts) for 1 second.
    • Use the IPC clearing DTC feature.
    • Using a scan tool.

Diagnostic Aids

    • The following conditions may cause an intermittent malfunction to occur:
       - An intermittent open or short in the LR position sensor circuit.
       - Bent, disconnected, or damaged position sensor linkage.
    • When using a scan tool in order to read position sensor voltage, always make sure the vehicle is sitting with the full vehicle weight on its wheels. Measuring position sensor voltage with the vehicle raised and the wheels hanging may lead to incorrect diagnosis.
    • The ESC module uses an ignition cycle counter diagnostic approach to set this DTC. This requires the ESC module to detect the malfunction 4 times before setting the DTC. To disable this feature, use a scan tool to clear all DTCs before preforming diagnostic procedures.
    • The malfunction may be set due to a DTC C1768 Position Sensor. Supply Overcurrent. If this is the case, refer to DTC C1768 Diagnostic Table.
    • An intermittent DTC C1762 may produce a random firm ride condition.
    • If the DTC is a history DTC, the problem may be intermittent. Using a scan tool, monitor the position sensor voltage while moving the wiring and the connectors. This can often cause the malfunction to occur.

Test Description

The numbers below refer to the step numbers on the diagnostic table:

  1. This step checks for a DTC C1768. This DTC must be diagnosed first before continuing to diagnose a DTC C1762.

  2. This step measures the LR position sensor voltage with a scan tool and checks if the voltage readings are within a specified range.

  3. This step checks for any visual damage to the LR position sensor.

  4. This step checks if the ESC module is able to provide supply voltage to the LR position sensor.

  5. This step checks if the ESC module is able to detect a change in position sensor voltage. The voltage reading will change from 0 volts (jumper removed) to 7.0-8.5 volts (jumper applied).

  6. This step checks for an intermittent malfunction and requests a thorough inspection of the related LR position sensor circuit wiring and connectors.

DTC C1762 -- LR Position Sensor Out of Range

Step

Action

Value(s)

Yes

No

1

Was the RTD Diagnostic System Check performed?

--

Go to Step 2

Go to RTD Diagnostic System Check

2

Using a scan tool, check if DTC C1768 is stored.

Is DTC C1768 stored?

--

Go to DTC C1768 Table

Go to Step 3

3

  1. Turn ON the ignition switch.
  2. Place the vehicle at the proper trim height (wheels not suspended).
  3. Using a scan tool, monitor the LR position sensor voltage.

Is the voltage indicated within the specified value?

0.35-4.75 V

Go to Step 7

Go to Step 4

4

Visually inspect the LR position sensor for signs of damage such as a bent arm or bracket, a disconnected sensor link, etc.

Was the damage found and repaired?

--

Go to Step 13

Go to Step 5

5

  1. Turn OFF the ignition switch.
  2. Disconnect the LR position sensor connector C401.
  3. Turn ON the ignition switch.
  4. At the harness side of the LR position sensor connector C401, measure the voltage between terminals A and C.

Is the voltage indicated within the specified value?

7.0-8.5 V

Go to Step 6

Go to Step 10

6

  1. Using a scan tool, monitor the LR position sensor voltage with connector C401 still disconnected.
  2. At the harness side of the LR position sensor connector C401, jumper terminals A and B and note the voltage reading on the scan tool.
  3. Remove the jumper wire.

Did the voltage reading on the scan tool change to the specified value with the jumper applied?

4.0-5.5 V

Go to Step 11

Go to Step 9

7

Check the LR position sensor circuit for an intermittent malfunction. Refer to Diagnostic Aids.

Was an intermittent malfunction found and repaired?

--

Go to Step 13

System OK

8

Check for an open, or a short to voltage on CKT 1209.

Was a circuit problem found and repaired?

--

Go to Step 13

Go to Step 12

9

Check for a short to ground, an open, or a short to voltage on CKT 1210.

Was a circuit problem found and repaired?

--

Go to Step 13

Go to Step 12

10

Check for an open, or short to voltage on CKT 1208.

Was a circuit problem found and repaired?

-

Go to Step 13

Go to Step 8

11

Replace the LR position sensor. Refer to Electronic Suspension Rear Position Sensor Replacement .

Is the repair complete?

--

Go to Step 13

--

12

Replace the ESC module. Refer to Electronic Suspension Control Module Replacement .

Is the repair complete?

--

Go to Step 13

--

13

  1. Turn OFF the ignition switch.
  2. Connect or install any connectors or components that were disconnected or removed.
  3. Turn ON the ignition switch.
  4. Using a scan tool, select clear DTCs.

Is the repair complete?

--

Go to RTD Diagnostic System Check

--