GM Service Manual Online
For 1990-2009 cars only

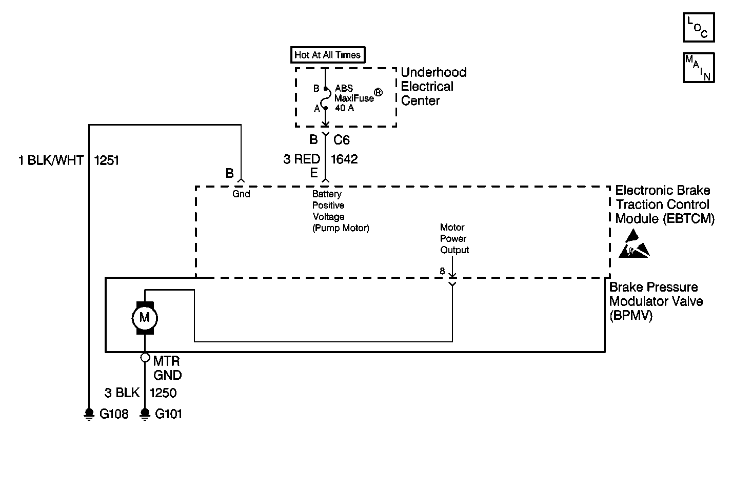
Object Number: 479931  Size: MF
Cell 44: Power and Ground
ABS Components
Antilock Brake System Schematic Icons

Circuit Description

The BPMV pump motor ground is supplied through a ground stud on the pump motor to a good ground.

Conditions for Setting the DTC

DTC C1242 can be set when the pump relay is commanded off. A malfunction exists if the pump motor ground CKT 1250 resistance is greater than 6900 ohms.

Action Taken When the DTC Sets

ABS/TCS/Active Handling (if equipped with RPO JL4) are disabled.

    • Indicators that turn on:
       - ABS indicator
       - Car Icon (TCS indicator)
    • Messages displayed on the DIC:
       - Service ABS
       - Service Traction System
       - Service Active HNDLG (if equipped with Active Handling RPO JL4)

Conditions for Clearing the DTC

    • Condition for DTC is no longer present and scan tool clear DTC function is used.
    • Fifty ignition cycles have passed with no DTCs detected.

Diagnostic Aids

    • It is very important that a thorough inspection of the wiring and connectors be performed. Failure to carefully and fully inspect wiring and connectors may result in misdiagnosis, causing part replacement with reappearance of the malfunction.
    • An intermittent malfunction can be caused by poor connections, broken insulation, or a wire that is broken inside the insulation.
    • If an intermittent malfunction exists refer to Testing for Electrical Intermittents in Wiring Systems.

Test Description

The numbers below refer to step numbers on the diagnostic table.

  1. Checks for good pump motor ground.

  2. Checks for good pump motor ground through the BPMV.

DTC C1242 BPMV Pump Motor Circuit Open

Step

Action

Value(s)

Yes

No

1

Was the Diagnostic System Check performed?

--

Go to Step 2

Go to Diagnostic System Check - ABS

2

  1. Turn the ignition switch to the OFF position.
  2. Using J 39200 DMM, measure resistance between the motor ground stud and a good chassis ground.

Is the resistance within the range specified in the Value(s) column?

0-2 ohms

Go to Step 3

Go to Step 8

3

  1. Disconnect the EBTCM connector.
  2. Remove the EBTCM from BPMV.
  3. Inspect the EBTCM to BPMV connector for conditions which could cause intermittents, such as damage, corrosion, poor terminal contact, or presence of brake fluid. Refer to General Electrical Diagnosis in Wiring Systems.

Is connector OK and cavity free of brake fluid?

--

Go to Step 4

Go to Step 5

4

Using J 39200 DMM, measure resistance between BPMV internal connector terminal 8 and motor ground stud.

Is the resistance within the range specified in the Value(s) column?

0.2-10 ohms

Go to Step 6

Go to Step 7

5

  1. If connector corrosion or damage is evident, replace BPMV and/or EBTCM as necessary.
  2. If brake fluid is present, replace BPMV and EBTCM.

Is the replacement complete?

--

Go to Diagnostic System Check - ABS

--

6

Replace the EBTCM. Refer to Electronic Brake Control Module Replacement .

Is repair complete?

--

Go to Diagnostic System Check - ABS

--

7

Replace the BPMV. Refer to Brake Pressure Modulator Valve Replacement .

Is repair complete?

--

Go to Diagnostic System Check - ABS

--

8

Repair open or high resistance in CKT 1250. Refer to Wiring Repairs in Wiring Systems.

Is repair complete?

--

Go to Diagnostic System Check - ABS

--