GM Service Manual Online
For 1990-2009 cars only
Makes
🢒
Chevrolet
🢒
1999
🢒
Corvette
🢒
Steering
🢒
Power Steering System
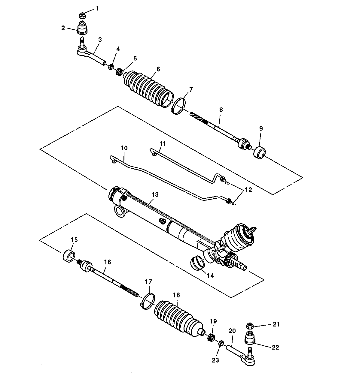
🢒 Power Steering Rack and Pinion Gear Disassembled View
Power Rack and Pinion-End Take Off
(1)
Prevailing Torque Nut
(2)
Tie Rod Seal
(3)
Outer Tie Rod Assembly
(4)
Hex Jam Nut
(5)
Tie Rod End Clamp
(6)
Rack and Pinion Boot
(7)
Boot Clamp
(8)
Inner Tie Rod Assembly
(9)
Shock Dampener Ring
(10)
Cylinder Line Assembly (LH)
(11)
Cylinder Line Assembly (RH)
(12)
O-ring Seal
(13)
Rack and Pinion Gear Assembly (Partial)
(14)
Dust Cover
(15)
Shock Dampener Ring
(16)
Inner Tie Rod Assembly
(17)
Boot Clamp
(18)
Rack and Pinion Boot
(19)
Tie Rod End Clamp
(20)
Outer Tie Rod Assembly
(21)
Prevailing Torque Nut
(22)
Tie Rod Seal
(23)
Hex Jam Nut