GM Service Manual Online
For 1990-2009 cars only
Makes
🢒
Chevrolet
🢒
1999
🢒
Corvette
🢒
Restraints
🢒
SIR
🢒 SIR Schematics
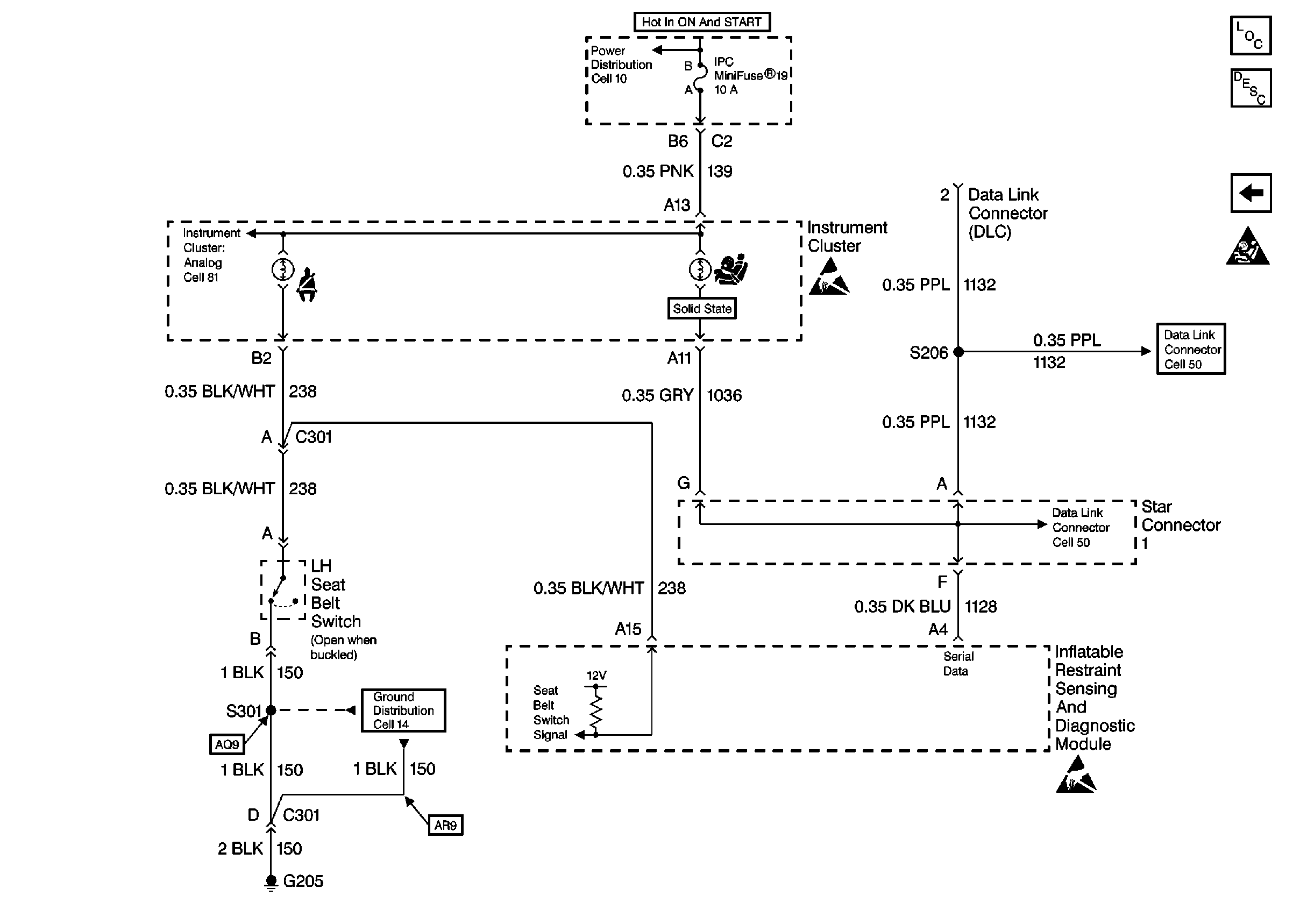
Figure
1:
Cell 47: Power and Ground
Cell 47: LH Seat Belt Switch and DLC
SIR Handling Caution
Handling ESD Sensitive Parts Notice
Cell 10: I/P Fuses 15, 16, 13, 20, 19
Cell 14: SP102, SP208, G104
SIR Components
SIR System Operation
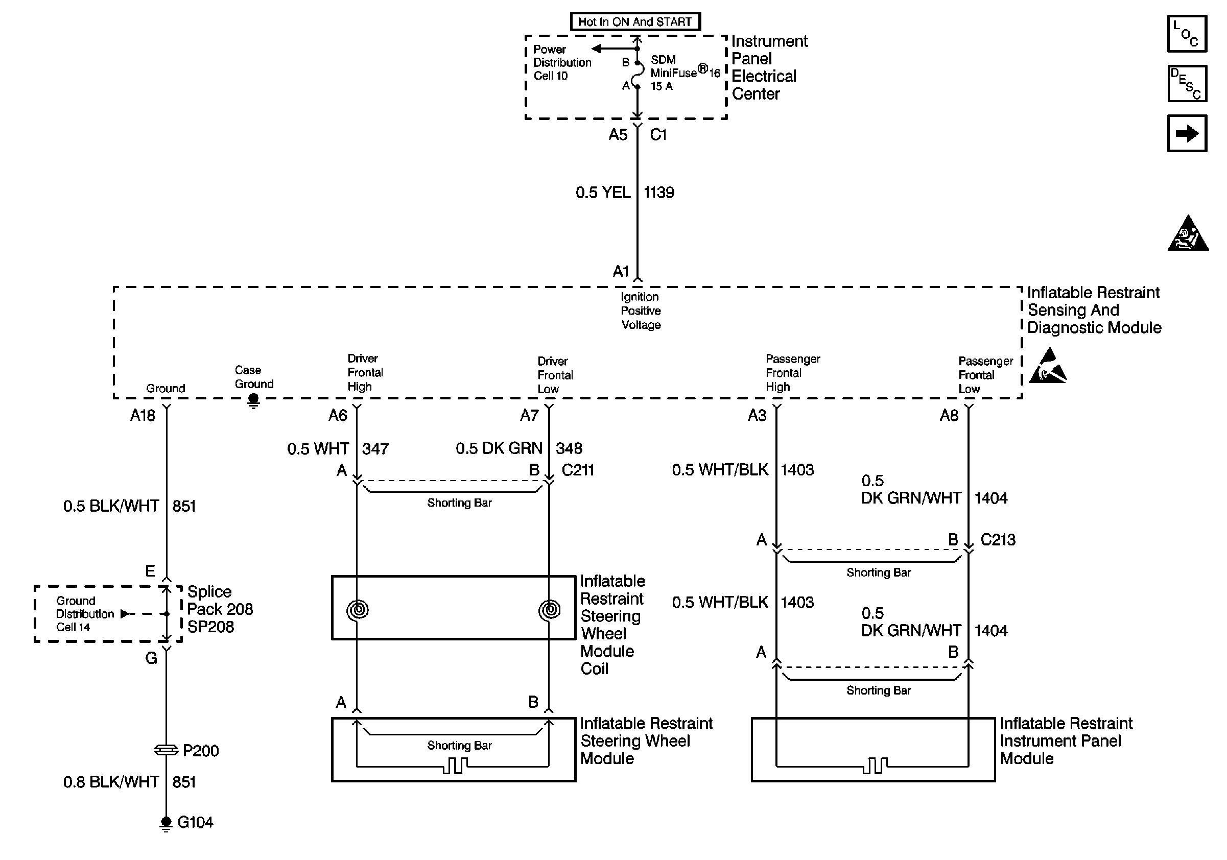
Figure
2:
Cell 47: LH Seat Belt Switch and DLC
Cell 47: Power and Ground
SIR Handling Caution
Class 2 Serial Data Cell 50
Class 2 Serial Data Cell 50
Handling ESD Sensitive Parts Notice
Handling ESD Sensitive Parts Notice
Cell 10: I/P Fuses 15, 16, 13, 20, 19
Cell 14: G205
SIR Components
SIR System Operation
Cell 81: Indicators