GM Service Manual Online
For 1990-2009 cars only

Object Number: 488110  Size: MF
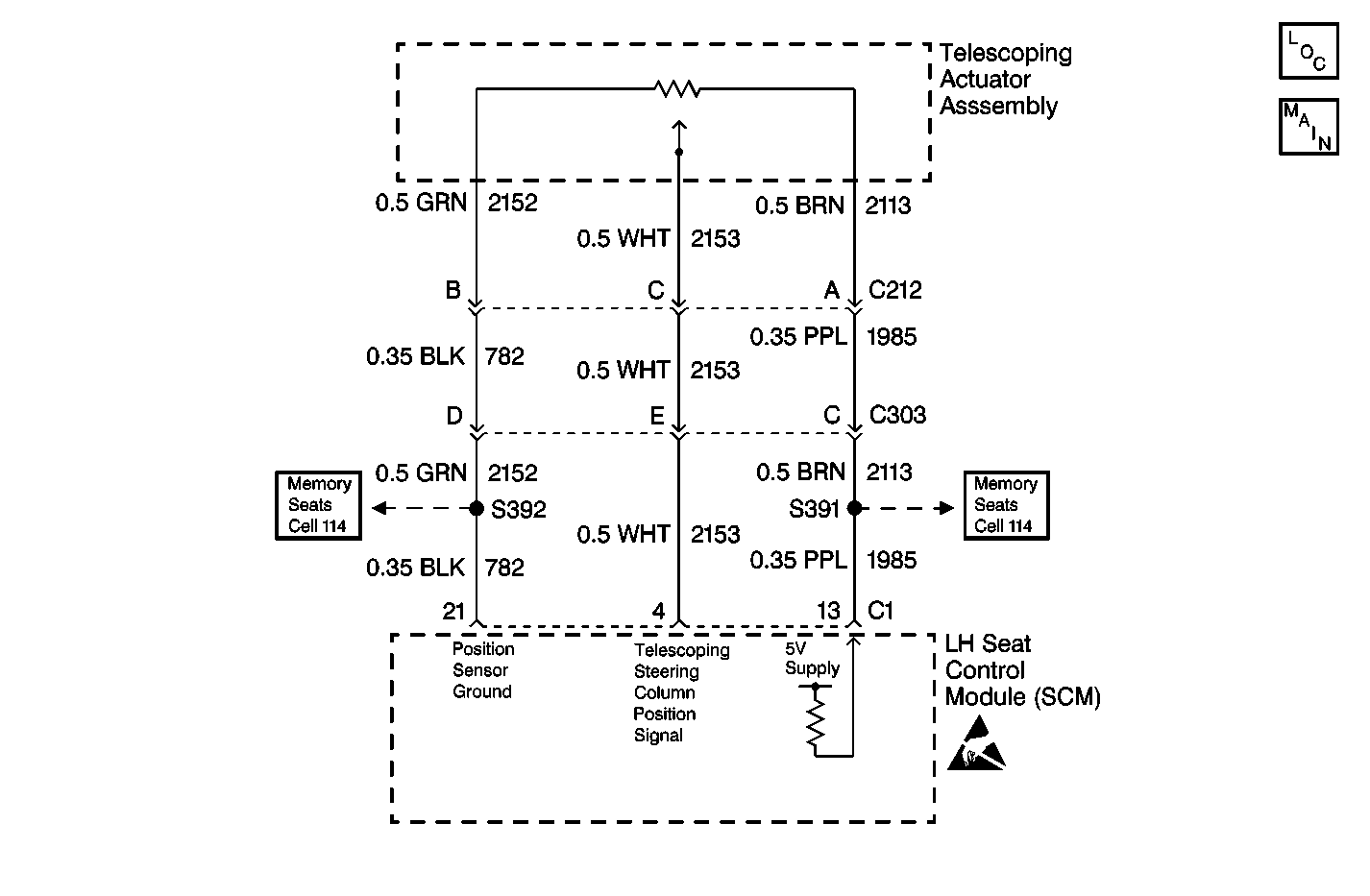
Tilt/Telescoping Steering Column Schematics
Power Seats Schematics
Power Seats Schematics
Handling Electrostatic Discharge Sensitive Parts Notice
Tilt Wheel/Column Components

Circuit Description

The memory seat and telescoping steering column position settings are stored in the LH Seat Control Module (SCM). The SCM measures and stores the steering column position by using a position sensor, which is an internal part of the telescoping actuator. The SCM provides the position sensor with a 5 volt power supply (circuit 2113), and ground (circuit 2152). The SCM monitors the position sensor signal voltage (circuit 2153), which ranges from 0.1-4.78 volts depending on the steering column position. The steering colunm position sensor becomes active only when the SCM detects a steering column in/out switch input.

Conditions for Setting the DTC

The steering column position sensor signal, to the SCM (circuit 2153), is less than .1 volt or greater than 4.78 volts for 2 seconds or more.

Action Taken When the DTC Sets

    • A history DTC B2860 is stored in the SCM memory.
    • This DTC can only be set as a history code even if the malfunction is current.
    • No driver warning message will be displayed for this DTC.
    • The memory operation/function of the faulted position sensor is disabled.

Conditions for Clearing the DTC

    • The steering column position sensor input, to the SCM (circuit 2153), is within .1 volt to 4.78 volts for 2 seconds or more.
    • Using a scan tool.

Diagnostic Aids

    • If the DTC does not reset after the code is cleared the problem may be intermittent. Perform the tests shown while moving related wiring and connectors. This can often cause the malfunction to occur. Refer to Intermittents and Poor Connections Diagnosis in Wiring Systems.
    • The following conditions may also cause an intermittent malfunction:
       - There is an intermittent open, short to ground, or short to voltage in circuits 2113, 2152 or 2153.
       - The steering column position sensor is open or shorted internally.
    • If the SCM is unable to determine the correct steering column position, manual operation of the telescoping steering column will be functional, but the SCM will be unable to recall the correct memory settings.
    • Using a scan tool, select SCM data display and monitor the telescoping steering column in/out position data. Operate the steering column in both directions while monitoring the position sensor data. The voltage should range from .1 volt to 4.78 volts depending on the steering column position.

Test Description

The numbers below refer to the step numbers on the diagnostic table:

  1. This test checks if a DTC B2860 stored in the SCM memory.

  2. This test checks the telescoping steering column position sensor voltage using a scan tool. Normal position sensor voltage range is between 0.1-4.78 volts.

  3. This test checks if the SCM is sending the correct supply voltage to the position sensor. The supply voltage measured must be between 4.0-5.5 volts.

  4. This test checks for an open or short to voltage in CKT 782 or in the SCM internal ground circuit.

  5. This test checks the output voltage level at the position sensor signal circuit. The signal voltage measured must be between 3.5-5.5 volts.

DTC B2860

Step

Action

Value(s)

Yes

No

1

Were you sent here from the Power Seat Diagnostic System Check?

--

Go to Step 2

Go to Power Seats System Check

2

Using a scan tool, select SCM DTC display and check for a DTC B2860.

Is DTC B2860 stored as history?

--

Go to Step 3

Go to Step 6

3

Using a scan tool, select SCM data display and monitor the telescoping steering column position sensor data while operating the column adjustment in and out.

Does the scan tool display position sensor voltage within the specified range?

0.1-4.78 V

Go to Step 12

Go to Step 4

4

  1. Turn OFF the ignition switch.
  2. Disconnect the telescoping actuator connector C212.
  3. Turn ON the ignition switch.
  4. Measure voltage at the telescoping actuator connector C212 (harness side), between terminal A and ground while operating the column adjuster.

Is the voltage within the specified range?

4.0-5.5 V

Go to Step 5

Go to Step 7

5

Measure voltage at the telescoping actuator connector C212 (harness side), between terminals A and C while operating the column adjuster.

Is the voltage within the specified range?

4.0-5.5 V

Go to Step 10

Go to Step 8

6

  1. Turn OFF the ignition switch.
  2. Disconnect the telescoping actuator connector C212.
  3. Turn ON the ignition switch.
  4. Measure voltage at the telescoping actuator connector C212 (harness side), between terminal B and ground while operating the horizontal adjuster.

Is the voltage within the specified range?

3.5-5.5 V

Go to Step 10

Go to Step 9

7

Check for an open or short (to ground or voltage) in CKT 2113.

Was a problem found and repaired?

--

Go to Step 14

Go to Step 11

8

Check for an open or short to voltage in CKT 2152.

Was a problem found and repaired?

--

Go to Step 14

Go to Step 11

9

Check for an open or short (to ground or voltage) in CKT 2153.

Was a problem found and repaired?

--

Go to Step 14

Go to Step 11

10

Replace the telescoping actuator assembly. Refer to Telescope Actuator Assembly - Disassemble - Off Vehicle Telescope Actuator Assembly - Assemble - Off Vehicle .

Is the replacement complete?

--

Go to Step 14

--

11

Replace the SCM. Refer to Memory Seat Control Module Replacement .

Is the replacement complete?

--

Go to Step 14

--

12

Check the telescoping steering column position sensor circuit for an intermittent malfunction. Refer to Diagnostic Aids.

Was a problem found and repaired?

--

Go to Step 14

Go to Step 13

13

  1. Turn OFF the ignition switch.
  2. Reconnect or install any connectors or components that were disconnected or removed.
  3. Turn ON the ignition switch.
  4. Clear any DTCs.
  5. Wait 2 seconds.

Does DTC B2860 set as history?

--

Go to Step 11

System OK

14

  1. Turn OFF the ignition switch.
  2. Reconnect or install any connectors or components that were disconnected or removed.
  3. Turn ON the ignition switch.
  4. Clear any DTCs.

Is the repair complete?

--

Go to Power Seats System Check

--