GM Service Manual Online
For 1990-2009 cars only

Removal Procedure


    Object Number: 63817  Size: SH
  1. Remove the striker cover. Pull the cover loose from hook and loop fastener patches.

  2. Object Number: 63814  Size: SH
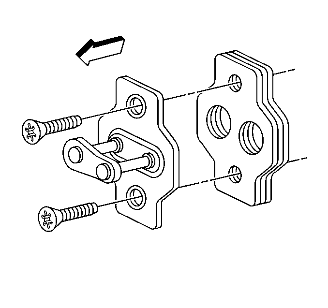
  3. Remove the screws attaching the striker.
  4. Remove the shims and the striker.

Installation Procedure


    Object Number: 63814  Size: SH
  1. Position the striker and shims to the lock pillar.
  2. Loosely install the attaching screws.
  3. Close the door to align the striker.
  4. Notice: Use the correct fastener in the correct location. Replacement fasteners must be the correct part number for that application. Fasteners requiring replacement or fasteners requiring the use of thread locking compound or sealant are identified in the service procedure. Do not use paints, lubricants, or corrosion inhibitors on fasteners or fastener joint surfaces unless specified. These coatings affect fastener torque and joint clamping force and may damage the fastener. Use the correct tightening sequence and specifications when installing fasteners in order to avoid damage to parts and systems.

  5. Open the door and tighten the screws.
  6. Tighten
    Tighten the door lock striker screws to 24 N·m (18 lb ft).


    Object Number: 63817  Size: SH
  7. Install the striker cover.