GM Service Manual Online
For 1990-2009 cars only

Removal Procedure


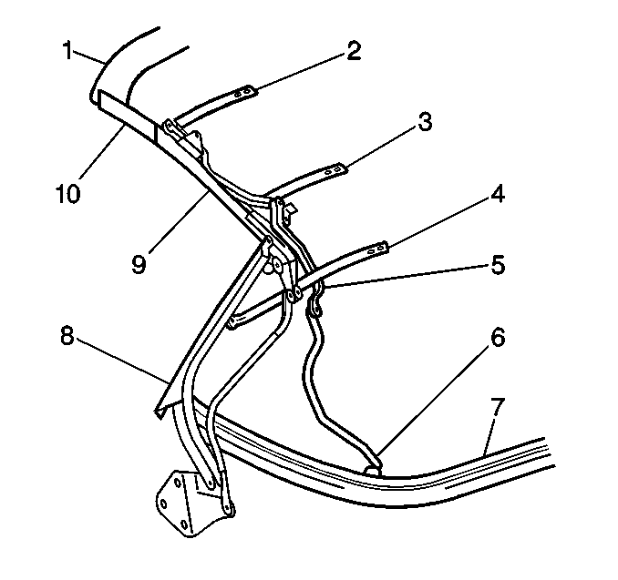
    Object Number: 214138  Size: SH
  1. Remove the convertible top and place it upside down on a clean flat surface. Refer to Folding Top Replacement .
  2. Remove the screws attaching the headliner to the rear side rail.

  3. Object Number: 289908  Size: SH
  4. Remove the fastener attaching the front side rail weatherstrip to the number one bow.
  5. Remove the seal compression panel from the number one bow.

  6. Object Number: 214592  Size: SH
  7. Remove the staples attaching the corner of the top material to the number 1 bow (1) and peel back the cover to expose the tension cable bracket fabric flap.
  8. Remove the staples attaching the tension cable guide flap to the number 1 bow.
  9. Remove the screw attaching the headlining to the number 1 bow.
  10. Remove the speed nut attaching the headlining to the number one bow.
  11. Remove the nuts attaching the number one bow to the front side rail.

  12. Object Number: 289895  Size: SH
  13. Remove the screw attaching the main control link to the front side rail.
  14. Remove the screw attaching the main control link to the center side rail.
  15. Remove the screw attaching the center rail to the rear side rail.
  16. Remove the screw attaching the center rail to the balance link.
  17. Remove the front and center rail assembly.
  18. Transfer the side rail weatherstrips and retainers if necessary.

Installation Procedure


    Object Number: 311345  Size: SH

    Notice: Use the correct fastener in the correct location. Replacement fasteners must be the correct part number for that application. Fasteners requiring replacement or fasteners requiring the use of thread locking compound or sealant are identified in the service procedure. Do not use paints, lubricants, or corrosion inhibitors on fasteners or fastener joint surfaces unless specified. These coatings affect fastener torque and joint clamping force and may damage the fastener. Use the correct tightening sequence and specifications when installing fasteners in order to avoid damage to parts and systems.

  1. Install the spacers and screw attaching the center rail (9) to the rear side rail (8).
  2. Tighten
    Tighten the center rail to rear side rail screw to 19 N·m (14 lb ft).

  3. Install the spacers and the screw attaching the center rail (9) to the balance link.
  4. Tighten
    Tighten the center rail to balance link bolt to 23 N·m (17 lb ft).


    Object Number: 289895  Size: SH
  5. Install the spacers and the screw attaching the main control link to the front side rail.
  6. Tighten
    Tighten the main control link to side rail bolt to 20 N·m (15 lb ft).

  7. Install the spacers and the screw attaching the main control link to the center side rail.
  8. Tighten
    Tighten the main control link to center side rail to 20 N·m (15 lb ft).


    Object Number: 214592  Size: SH
  9. Install the nuts attaching the number 1 bow (1) to the front side rail.
  10. Tighten
    Tighten the number 1 bow to side rail nuts to 14 N·m (10 lb ft).

  11. Install the speed nuts attaching the headlining to the number one bow.
  12. Staple the tension cable guide flap to the number one bow.
  13. Stable the top material to the number one bow.
  14. Install the headlining attaching screw to the number one bow.

  15. Object Number: 289908  Size: SH
  16. Install the seal compression panel to the number one bow.
  17. Tighten
    Tighten the seal compression panel screws to 2 N·m (17 lb in).

  18. Install the fastener attaching the front side rail seal to the number one bow.

  19. Object Number: 214136  Size: SH
  20. Install the folding top. Refer to Folding Top Replacement .
  21. Tighten
    Tighten the folding top mounting bolt to 25 N·m (18 lb ft).