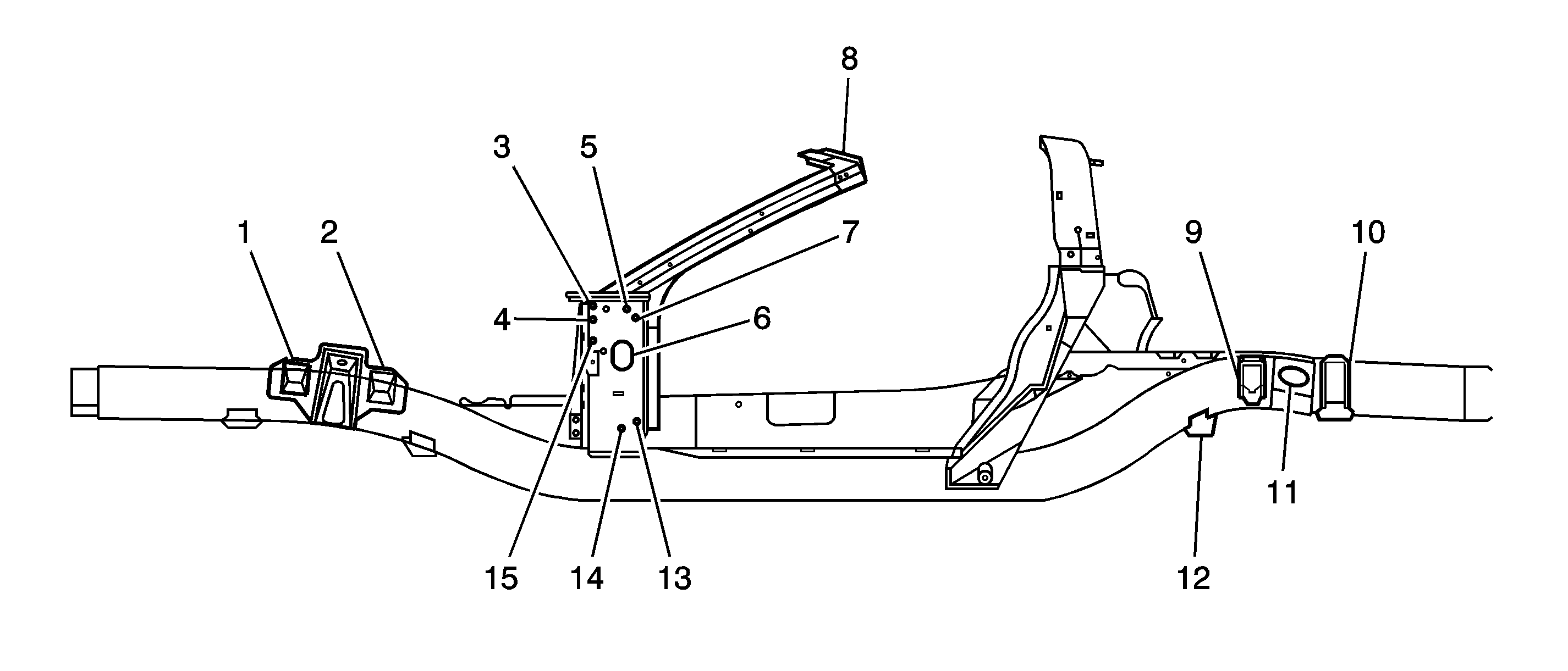
Reference Number | Length (mm) | Width (mm) | Height (mm) | Hole Size |
|---|---|---|---|---|
1 | 1335 | 223 | 723 | 10 mm |
2 | 1207 | 430 | 566 | 13 mm hex |
3 | 844 | 428 | 540 | 20 mm LH; 20x25 mm RH |
4 | 569 | 520 | 739 | 22 mm |
5 | 213 | 727 | 335 | 18x35 mm |
6 | 1188 | 738 | 335 | 18x35 mm |
7 | 1365 | 706 | 334 | 13 mm |
8 | 1923 | 378 | 528 | 15 mm |
9 | 2330 | 359 | 575 | 15 mm |
10 | 2435 | 359 | 584 | 20 mm |
11 | 2622 | 359 | 730 | 12 mm rail top |
12 | 2731 | 75 | 572 | 10 mm |
13 | 2731 | 75 | 572 | 10 mm |
14 | 2293 | 359 | 575 | 20x25 mm |
15 | 1552 | 643 | 362 | 13 mm |
16 | 0 | 550 | 10 mm | |
17 | 336 | 432 | 447 | 15 mm |
18 | 966 | 430 | 558 | 18 mm hex |
19 | 1335 | 223 | 723 | 10 mm |
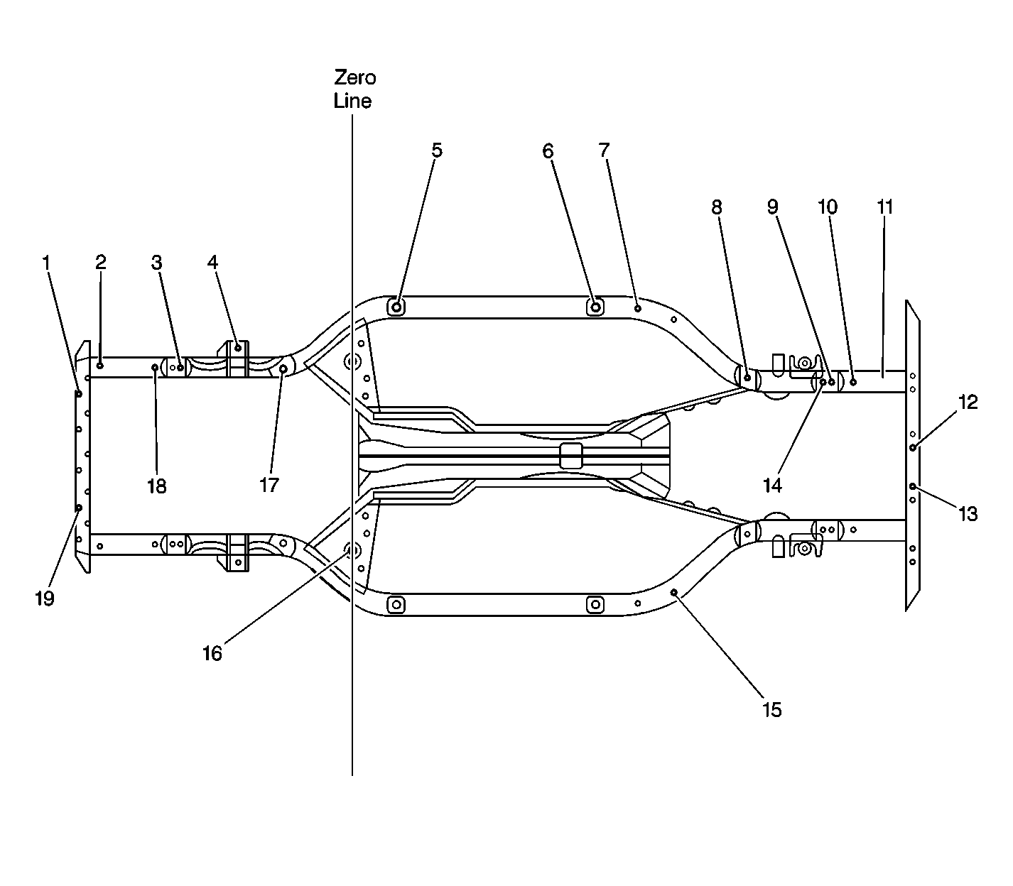
Reference Number | Length (mm) | Width (mm) | Height (mm) | Hole Size |
|---|---|---|---|---|
1 | 815 | 738 | 8 mm | |
2 | 665 | 755 | 8 mm | |
3 | 465 | 763 | 8 mm | |
4 | 255 | 764 | 8 mm | |
5 | 130 | 763 | 8 mm | |
6 | 0 | 755 | 8 mm | |
7 | 1596 | 768 | 1025 | 20 mm |
8 | 1800 | 746 | 1025 | 3.4 mm |
9 | 2001 | 729 | 1090 | 3.4 mm |
10 | 2203 | 709 | 1101 | 3.4 mm |
11 | 2405 | 688 | 1105 | 3.4 mm |
12 | 2605 | 666 | 1104 | 3.4 mm |
13 | 1052 | 450 | 725 | 9 mm stud |
14 | 1145 | 444 | 726 | 8 mm stud |
Reference Number | Length (mm) | Width (mm) | Height (mm) | Hole Size |
|---|---|---|---|---|
1 | 757 | 471 | 764 | |
2 | 411 | 471 | 725 | |
3 | 160 | 767 | 905 | 12 mm |
4 | 160 | 768 | 864 | 9 mm |
5 | 260 | 767 | 897 | 12 mm |
6 | 245 | 771 | 762 | 50x70 mm |
7 | 285 | 768 | 870 | 12 mm |
8 | 945 | 577 | 1285 | |
9 | 2049 | 450 | 707 | 13 mm |
10 | 2341 | 451 | 705 | 13 mm |
11 | 2195 | 467 | 708 | 55 mm |
12 | 1923 | 378 | 528 | 15 mm |
13 | 285 | 776 | 570 | 12 mm |
14 | 244 | 774 | 547 | |
15 | 160 | 771 | 805 |