GM Service Manual Online
For 1990-2009 cars only
Makes
🢒
Chevrolet
🢒
1999
🢒
Corvette
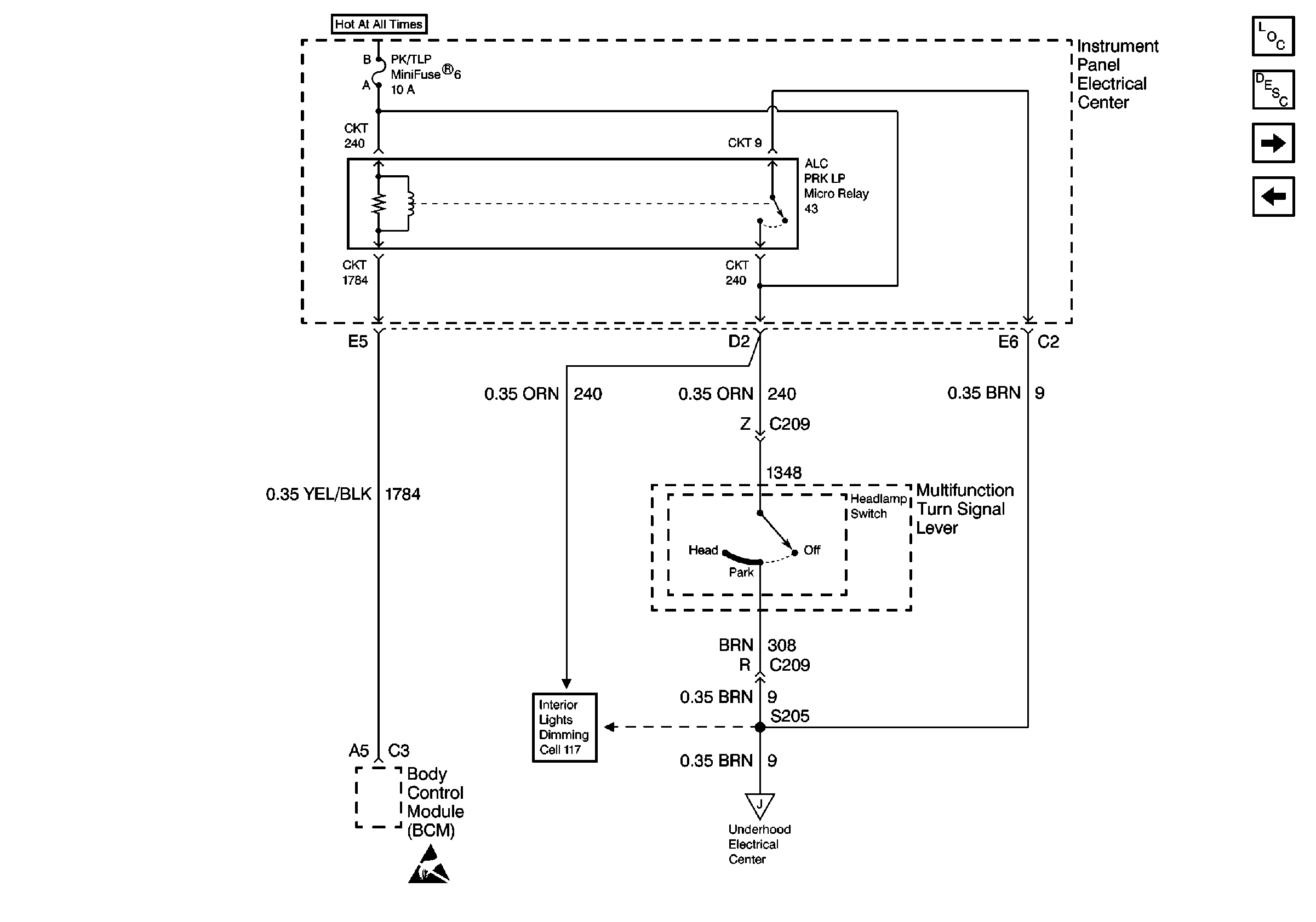
🢒 Cell 110: ALC PRK LP Relay
Cell 110: ALC PRK LP Relay
Cell 110: ALC PRK LP Relay
Lighting Systems Components
Exterior Lights Circuit Description
Cell 110: Front Park Lamps
Cell 110: Stoplamp Switch
Cell 110: Front Park Lamps
Cell 117: ALC PRK LP Relay
Handling ESD Sensitive Parts Notice