GM Service Manual Online
For 1990-2009 cars only

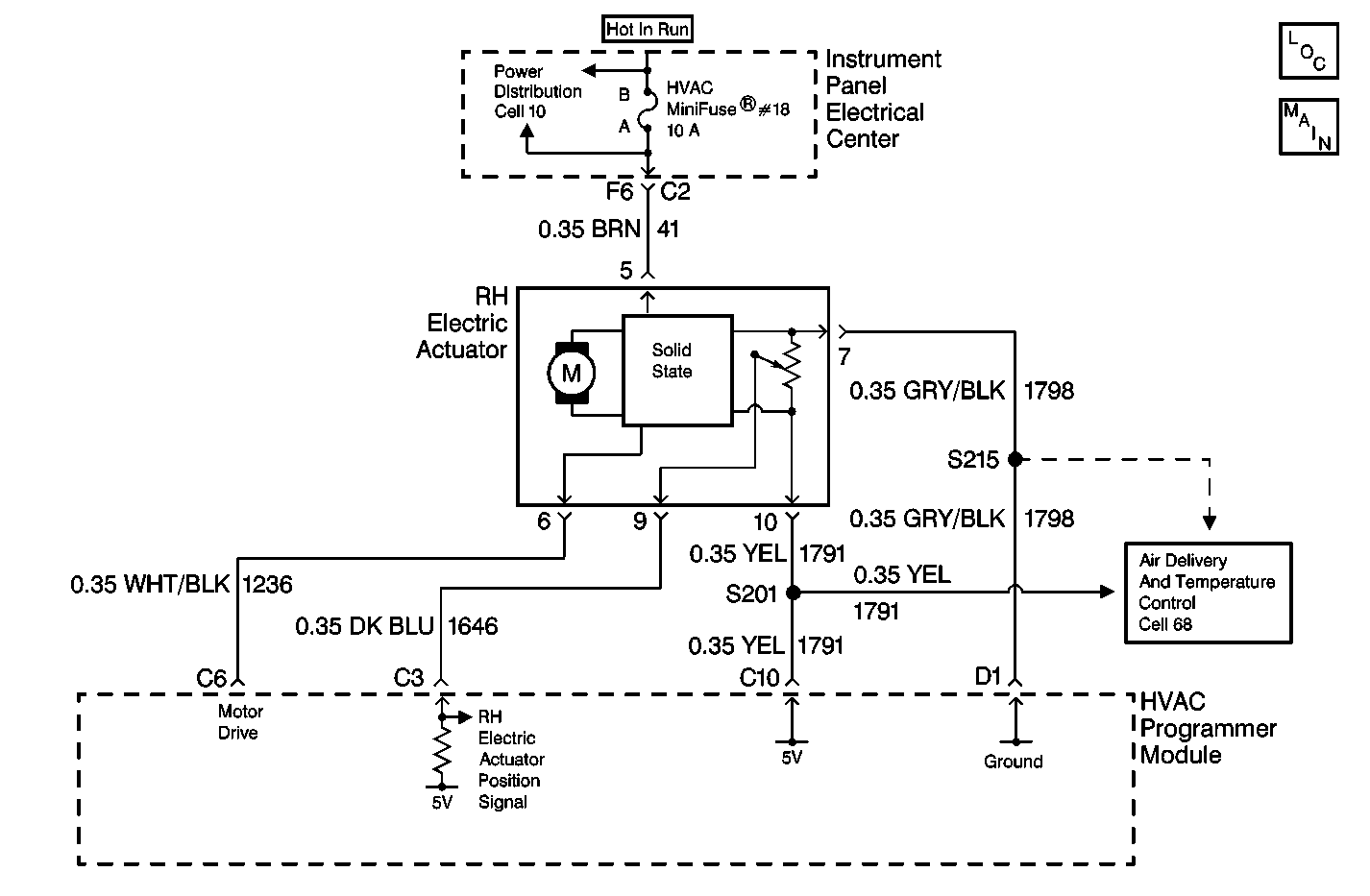
Object Number: 498428  Size: MF
HVAC Air Delivery/Temperature Control Schematics
HVAC Air Delivery/Temperature Control Schematics
Power Distribution Schematics
HVAC Components

Circuit Description

The HVAC Control Assembly receives a RH electric actuator position signal from the RH electric actuator. The RH electric actuator position sensor is a potentiometer that is tied to a 5 volt reference source through CKT 1791 and to ground through CKT 1798, both from the HVAC Control Assembly. The variable output from the potentiometer feeds back a position signal through CKT 1646 to a pull-up resistor located in the HVAC Control Assembly. This signal is used to determine the necessary drive signal to the RH electric actuator motor to provide the proper air mix door position. This value is stored in the Keep Alive Memory (KAM) portion of the HVAC Control Assembly.

Conditions for Setting the DTC

    • With the ignition in the ON position, CKT 1646 is checked continuously.
    • CKT 1646 stays at or near 0 volts.

Action Taken When the DTC Sets

    • The HVAC Control Assembly stores a DTC B0365 in memory.
    • No driver warning message will be displayed for this DTC.

Conditions for Clearing the DTC

    • Using the IPC clearing feature.
    • Using a scan tool.
    • A history DTC will clear after 50 consecutive ignition cycles if the conditions for the fault is no longer present.

Diagnostic Aids

    • If the DTC is a history or an intermittent. Try to perform the tests shown while "wiggling" wiring and connectors, this can often cause the malfunction to appear.
    • Visually inspect sensor connector and harness for damage, corrosion or water intrusion.
    • Check for adequate terminal tension, mis-routed harness, rubbed through wire insulation, and broken wire inside insulation.
    • Install a scan tool to the diagnostic link connector. Turn the ignition switch to the ON position. Select the OUTPUT CONTROL screen in HVAC special functions. Use the MISCELLANEOUS TEST screen to manually drive the RH electric actuator with the scan tool from fully open to fully closed. Monitor the RH MIX MTR POSITION FEEDBACK with the scan tool when this is done. A normal position feedback signal should range between 0-255 counts as the electric actuator is being moved.

Test Description

The numbers below refer to the step numbers on the diagnostic table:

  1. This test checks for the 5 volt reference signal being sent from the HVAC Control Assembly along CKT 1791.

  2. This step is determining if a short to battery voltage exists on CKT 1791.

  3. This step is checking for the 5 volt reference signal being sent from the HVAC Control Assembly along CKT 1646.

  4. This step is checking for a short to ground in CKT 1646.

  5. This step will repair a short to ground in CKT 1646.

  6. Replace the HVAC Control Assembly.

  7. This test checks for a short to ground in CKT 1791.

  8. Repair the short to ground in CKT 1791.

  9. This step is checking for continuity of CKT 1798.

  10. Repair open in CKT 1798.

  11. This step will replace the RH electric actuator.

  12. Erase all DTCs and recheck for repair verification.

  13. This step is determining if a short to battery voltage exists on CKT 1791 with the HVAC control head and the RH electric actuator disconnected.

  14. Check for an open in CKT 1791.

  15. Repair the open in CKT 1791.

  16. Repair the short to battery voltage in CKT 1791.

DTC B0365 - RH Actuator Feedback Short to Ground (CJ2)

Step

Action

Value(s)

Yes

No

1

Were you sent here from the HVAC System Check (CJ2)?

--

Go to Step 2

Go to HVAC System Check

2

  1. Disconnect the RH electric actuator connector.
  2. Turn the ignition switch to the ON position.
  3. Use a DMM to measure the voltage between the RH electric actuator connector terminal 10 and ground.

Is the voltage within the specified values?

4.0-6.0V

Go to Step 4

Go to Step 3

3

Is the measured voltage in step #2 greater than the specified value?

6.0V

Go to Step 14

Go to Step 15

4

Use a DMM to measure the voltage between the RH electric actuator connector terminal 9 and ground.

Is the voltage within the specified values?

4.0-6.0V

Go to Step 8

Go to Step 5

5

  1. HVAC Control Assembly connector disconnected.
  2. Connect a DMM between the HVAC Control Assembly connector terminal C3 and ground.
  3. Check circuit 1646 for continuity to ground.

Is circuit 1646 shorted to ground?

--

Go to Step 6

Go to Step 7

6

Locate and repair a short to ground in circuit 1646.

Is the repair complete?

--

Go to Step 13

--

7

Replace the HVAC Control Assembly.

Refer to Control Assembly Replacement .

Is the repair complete?

--

Go to Step 13

--

8

  1. Connect a DMM between the HVAC Control Assembly connector terminal C10 and ground.
  2. Check circuit 1791 for continuity to ground.

Is circuit 1791 shorted to ground?

--

Go to Step 9

Go to Step 10

9

Locate and repair a short to ground in circuit 1791.

Is the repair complete?

--

Go to Step 13

--

10

  1. Connect a DMM between the HVAC Control Assembly connector terminal D1 and the RH electric actuator connector terminal 7.
  2. Measure the resistance of circuit 1798.

Is the resistance within specified values?

0-2 ohms

Go to Step 12

Go to Step 11

11

Locate and repair an open or high resistance in CKT 1798.

Is the repair complete?

--

Go to Step 13

--

12

Replace the RH Electric Actuator.

Refer to Temperature Actuator Replacement .

Is the repair complete?

--

Go to Step 13

--

13

Using a scan tool, clear all DTCs from memory.

Refer to Diagnostic Trouble Code (DTC) Clearing .

Do all DTCs erase from memory?

--

Go to HVAC System Check

Go to appropriate DTC table for diagnosis

14

  1. Turn the ignition switch to the OFF position.
  2. Disconnect the HVAC Control Assembly connector.
  3. RH electric actuator connector disconnected.
  4. Turn the ignition switch to the ON position.
  5. Use a DMM to measure the voltage between the RH electric actuator connector terminal 10 and ground.

Is the voltage greater then the specified value?

6.0V

Go to Step 17

Go to Step 7

15

  1. Turn the ignition switch to the OFF position.
  2. Disconnect the HVAC Control Assembly connector.
  3. Using a DMM measure the resistance of circuit 1791 between the HVAC Control Assembly connector terminal C10 and the RH electric actuator connector terminal 10.

Is the resistance within the specified values?

0-2 ohms

Go to Step 7

Go to Step 16

16

Locate and repair an open or a high resistance in CKT 1791 between the RH electric actuator connector and the HVAC Control Assembly.

Is the repair complete?

--

Go to Step 13

--

17

Locate and repair a short to battery voltage in CKT 1791 between the RH electric actuator connector and the HVAC Control Assembly.

Is the repair complete?

--

Go to Step 13

--