GM Service Manual Online
For 1990-2009 cars only

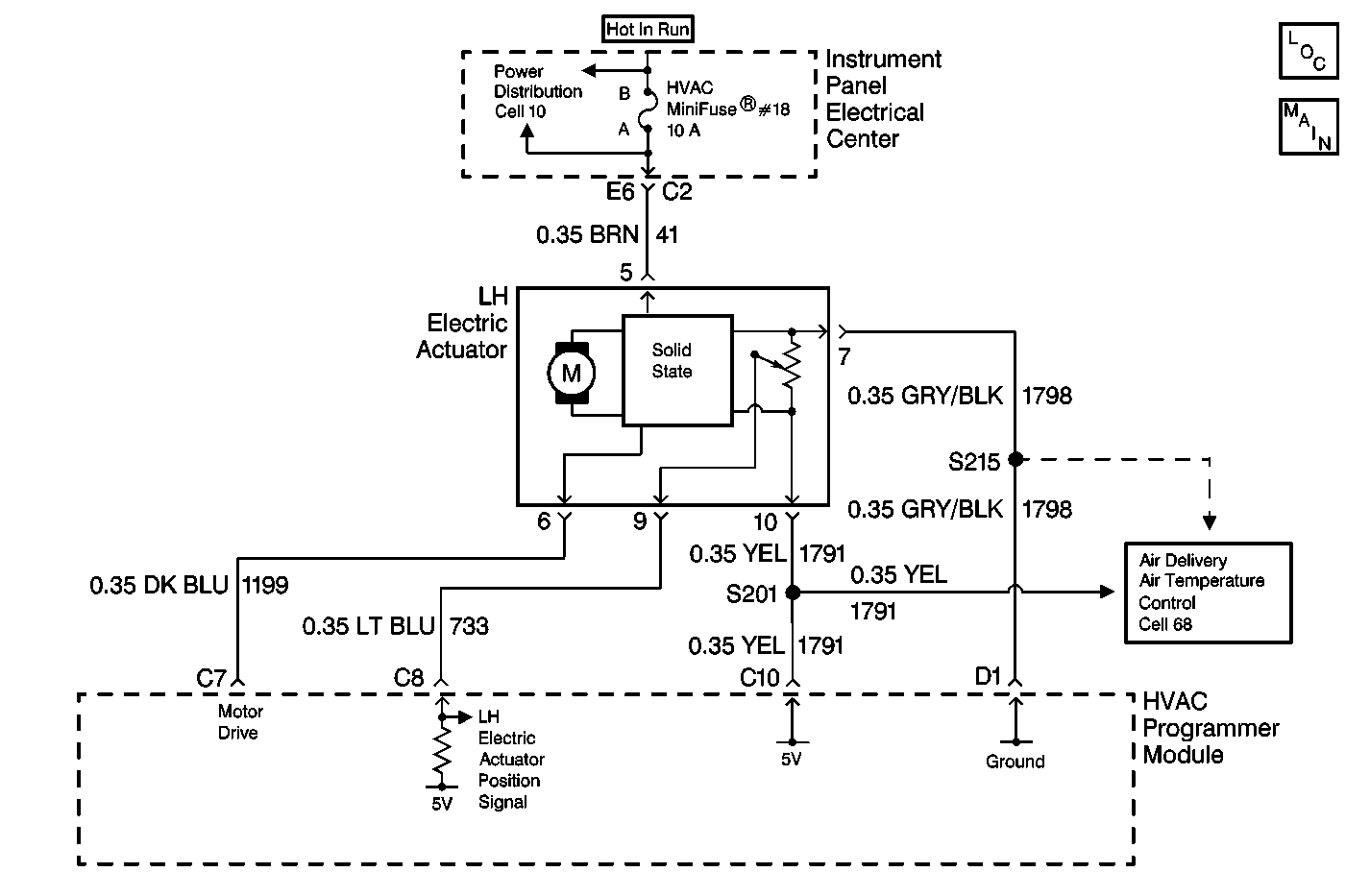
Object Number: 498423  Size: MF
HVAC Air Delivery/Temperature Control Schematics
HVAC Air Delivery/Temperature Control Schematics
Power Distribution Schematics
HVAC Components

Circuit Description

The HVAC Control Assembly receives a LH electric actuator position signal from the LH electric actuator. The LH electric actuator position sensor is a potentiometer that is tied to a 5 volt reference source through CKT 1791 and to ground through CKT 1798, both from the HVAC Control Assembly. The variable output from the potentiometer feeds back a position signal through CKT 733 to a pull-up resistor located in the HVAC Control Assembly. This signal is used to determine the necessary drive signal to the LH electric actuator motor to provide the proper air mix door position. This value is stored in the Keep Alive Memory (KAM) portion of the HVAC Control Assembly.

When the HVAC Control Assembly is first connected to power (or the battery connection is established), the system will perform an initialization routine lasting approximately 60 seconds. During this routine, both RH and LH electric actuators will cycle full travel in both directions learning the end positions. Position feedback readings are sent back to the HVAC Control Assembly and compared to a range of acceptable end readings. If during initialization the position feedback readings are not within the acceptable range, a diagnostic code will be set. If the position feedback readings reach values of 0-5 counts or 250-255 counts, the HVAC Control Assembly will then interpret the reading as a "feedback-short" or "feedback-open" condition respectively. IMPORTANT: Feedback-short or feedback-open conditions can occur due to electric actuators being initialized while not being attached to the HVAC module case.

Conditions for Setting the DTC

    • A damaged or bound up temperature door mechanism.
    • Improper alignment of the temperature door after electric actuator replacement.
    • The electric actuator has not been initialized after replacement.
    • During initialization, the position feedback reading is not within an acceptable range.

Action Taken When the DTC Sets

    • The HVAC Control Assembly stores a DTC B0441 in memory.
    • No driver warning message will be displayed for this DTC.

Conditions for Clearing the DTC

    • Using the IPC clearing feature.
    • Using a scan tool.
    • A history DTC will clear after 50 consecutive ignition cycles if the conditions for the fault is no longer present.

Diagnostic Aids

    • If the DTC is a history or an intermittent. Try to perform the tests shown while "wiggling" wiring and connectors, this can often cause the malfunction to appear.
    • Visually inspect sensor connector and harness for damage, corrosion or water intrusion.
    • Check for adequate terminal tension, mis-routed harness, rubbed through wire insulation, and broken wire inside insulation.
    • Install a scan tool to the diagnostic link connector. Turn the ignition switch to the ON position. Select the OUTPUT CONTROL screen in HVAC special functions. Use the MISCELLANEOUS TEST screen to manually drive the LH electric actuator with the scan tool from fully open to fully closed. Monitor the LH MIX MTR POSITION FEEDBACK with the scan tool when this is done. A normal position feedback signal should range between 0-255 counts as the electric actuator is being moved.

Test Description

The numbers below refer to the step numbers on the diagnostic table:

  1. This test checks for the 5 volt reference signal being sent from the HVAC Control Assembly along CKT 1791.

  2. This step is determining if a short to battery voltage exists on CKT 1791.

  3. This step is checking for the 5 volt reference signal being sent from the HVAC Control Assembly along CKT 733.

  4. This step is checking for a short to ground in CKT 733.

  5. This step will repair a short to ground in CKT 733.

  6. Replace the HVAC Control Assembly.

  7. This step is checking for continuity of CKT 1798.

  8. Repair the open or high resistance in CKT 1798.

  9. This step will replace the LH electric actuator.

  10. Erase all DTCs and recheck for repair verification.

  11. This step is determining if a short to battery voltage exists on CKT 1791 with the HVAC Control Assembly and the LH electric actuator.

  12. Checks for an open in CKT 1791.

  13. Repair an open in CKT 1791.

  14. Repair a short to battery voltage in CKT 1791.

DTC B0441 - Left Actuator Out of Range (CJ2)

Step

Action

Value(s)

Yes

No

1

Were you sent here from the HVAC System Check (CJ2)?

--

Go to Step 2

Go to HVAC System Check

2

  1. Remove the Bose® module.
  2. Disconnect the LH electric actuator connector.
  3. Turn the ignition switch to the ON position.
  4. Use a DMM to measure the voltage between the LH electric actuator connector terminal 10 and ground.

Is the voltage within the specified values?

4.0-6.0V

Go to Step 4

Go to Step 3

3

Is the measured voltage in step #2 greater than the specified value?

6.0V

Go to Step 12

Go to Step 13

4

Use a DMM to measure the voltage between the LH electric actuator connector terminal 9 and ground.

Is the voltage within the specified values?

4.0-6.0V

Go to Step 8

Go to Step 5

5

  1. Disconnect the HVAC Control Assembly connector.
  2. LH electric actuator connector disconnected.
  3. Connect a DMM between the HVAC Control Assembly connector terminal C8 and ground.
  4. Check CKT 733 for continuity to ground.

Is CKT 733 shorted to ground?

--

Go to Step 6

Go to Step 7

6

Locate and repair a short to ground in CKT 733.

Is the repair complete?

--

Go to Step 11

--

7

Replace the HVAC Control Assembly.

Refer to Control Assembly Replacement .

Is the repair complete?

--

Go to Step 11

--

8

Using a DMM measure the resistance of circuit 1798 from the HVAC Control Assembly connector terminal D1 and the LH electric actuator connector terminal 7.

Is the resistance within specified values?

0-2 ohms

Go to Step 10

Go to Step 9

9

Locate and repair an open or high resistance in CKT 1798.

Is the repair complete?

--

Go to Step 11

--

10

Check the LH electric actuator for any binding or damage. If OK, replace the LH electric actuator.

Refer to Temperature Actuator Replacement .

Is the repair complete?

--

Go to Step 11

--

11

Using a scan tool, clear all DTCs from memory.

Refer to Diagnostic Trouble Code (DTC) Clearing .

Do all DTCs erase from memory?

--

Go to HVAC System Check

Go to appropriate DTC table for diagnosis

12

  1. Turn the ignition switch to the OFF position.
  2. Disconnect the HVAC Control Assembly connector.
  3. LH electric actuator connector disconnected.
  4. Turn the ignition switch to the ON position.
  5. Use a DMM to measure the voltage between the LH electric actuator connector terminal 10 and ground.

Is the voltage greater than the specified value?

6.0V

Go to Step 15

Go to Step 7

13

  1. Turn the ignition switch to the OFF position.
  2. Disconnect the HVAC Control Assembly connector.
  3. Using a DMM measure the resistance of circuit 1791 from the HVAC Control Assembly connector terminal C10 to the LH electric actuator connector terminal 10 .

Is the resistance within specified values?

0-2 ohms

Go to Step 7

Go to Step 14

14

Locate and repair an open or a high resistance in CKT 1791 between the LH electric actuator connector and the HVAC Control Assembly.

Is the repair complete?

--

Go to Step 11

--

15

Locate and repair the short to battery voltage in CKT 1791 between the LH electric actuator connector and the HVAC Control Assembly.

Is the repair complete?

--

Go to Step 11

--