GM Service Manual Online
For 1990-2009 cars only

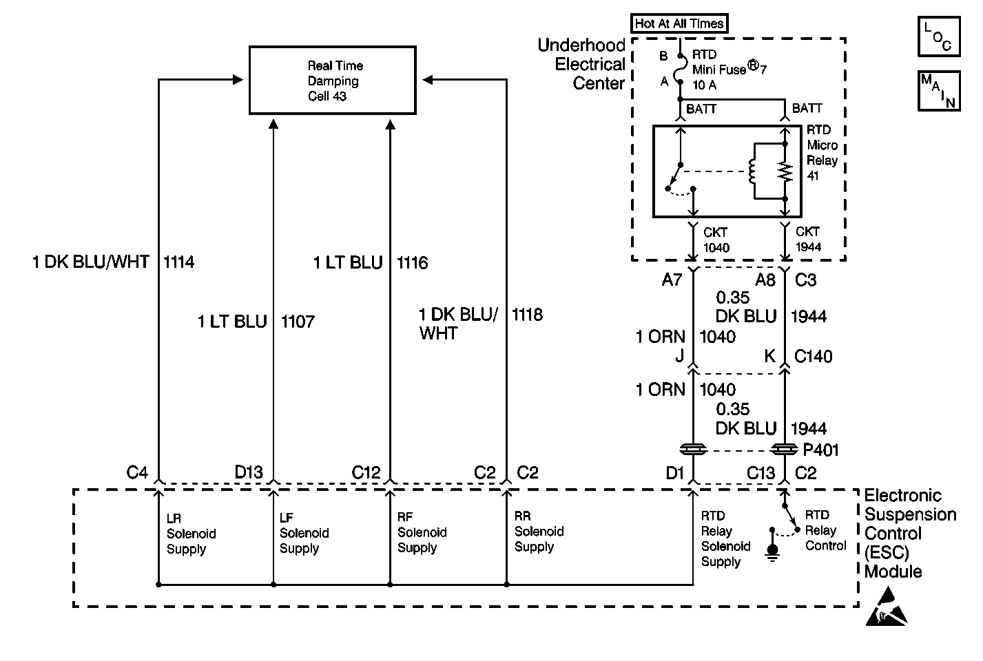
Object Number: 467137  Size: MF
Suspension Controls Components
Suspension Controls Schematics
Handling Electrostatic Discharge Sensitive Parts Notice

Circuit Description

Solenoid supply voltage is applied to the ESC module through the RTD relay circuit. The ESC module controls the RTD relay by grounding CKT 1944. This closes the relay contacts providing each shock absorber solenoid with supply voltage through the ESC module's internal solenoid supply circuitry. Each individual solenoid drive then controls the operation of the corresponding shock absorber. The ESC module monitors the RTD relay control/solenoid supply circuits for any malfunction conditions.

Conditions for Setting the DTC

    • The ESC module detects low voltage (an open or a short to ground) on the RTD relay solenoid supply CKT 1040.
    • There is a loss of voltage on all four shock absorber supply circuits.
    • Detection for this DTC can only be accomplished during the ON (relay applied) state.

Action Taken When the DTC Sets

    • Stores a DTC C1786 in the ESC memory.
    • Commands 0% PWM duty cycle in order to disable all four solenoids.
    • Sends a message to the IPC to display the SERVICE RIDE CONTROL and SHOCKS INOPERATIVE messages.
    • Sends a message to the PCM to limit the speed. The PCM then sends a message to the IPC to display the MAXIMUM SPEED 129 km/h (80 mph) message.

Conditions for Clearing the DTC

    • The ESC module no longer detects low voltage (an open or a short to ground) on the RTD relay solenoid supply CKT 1040.
    • No shock absorber short to ground DTCs are present.
    • A history DTC will clear after 100 consecutive ignition cycles if the condition for the malfunction is no longer present.
    • The IPC clearing DTCs feature
    • Using a scan tool.

Diagnostic Aids

    • The following conditions may cause an intermittent malfunction:
       - An open or a short to ground on the RTD relay solenoid supply CKT 1040.
       - An open RTD relay contact(s).
       - An open or removed RTD relay fuse #7.
       - A short to ground on any shock absorber solenoid supply circuits.
    • The RTD relay provides supply voltage to all four shock absorber solenoids. Therefore, multiple shock absorber solenoid open or short to ground DTCs may also be stored along with a DTC C1786. Diagnose a DTC C1786 first before attempting to diagnose multiple shock absorber solenoid DTCs.
    • The RTD relay may be installed in the underhood electrical center in two directions and still function properly. Refer to Power Distribution Schematics in Wiring Systems for electrical center identification.
    • If the conditions for a DTC C1786 are current, the ESC module will command 0% PWM duty cycle in order to disable all four solenoids. The vehicle will experience a soft ride condition.

Test Description

The numbers below refer to the step numbers on the diagnostic table:

  1. This step checks if DTCs C1787 or C1788 are stored in the ESC module. These DTCs may cause a DTC C1786 to store.

  2. This step checks if the RTD relay fuse is open. A DTC C1786 will set if the RTD fuse is open or removed.

  3. This step checks if supply voltage is available to the ESC module at terminal D1.

  4. This step checks the battery circuit to the RTD relay.

  5. This step checks if a short to ground is present in the CKT 1040 or the RTD relay.

  6. This step checks for a short to ground on all solenoid supply circuits.

DTC C1786 -- RTD Relay Malfunction

Step

Action

Value(s)

Yes

No

1

Was the RTD Diagnostic System Check performed?

--

Go to Step 2

Go to RTD Diagnostic System Check

2

Using a scan tool, check if DTCs C1787 or C1788 are stored.

Are any of the indicated DTCs stored?

--

Go to Applicable DTC Table

Go to Step 3

3

Check the RTD Relay Fuse #7.

Is the RTD relay fuse open?

--

Go to Step 6

Go to Step 4

4

  1. Turn ON the ignition switch.
  2. At the harness side of the ESC module connector C2, backprobe terminal D1 while measuring the voltage.

Was the voltage indicated over the specified value?

10.0 V

Go to Step 10

Go to Step 5

5

  1. Turn OFF the ignition switch.
  2. Disconnect the RTD relay.
  3. At the underhood electrical center, measure the voltage on the RTD relay Batt circuit terminal. Refer to Power Distribution Schematics in Wiring Systems for electrical center identification.

Was the voltage indicated over the specified value?

10.0 V

Go to Step 8

Go to Step 9

6

  1. Turn OFF the ignition switch.
  2. Disconnect the ESC module connector C2.
  3. At the harness side of the ESC module connector C2, check for continuity between terminal D1 and ground.

Is there continuity?

--

Go to Step 8

Go to Step 7

7

Check all four shock absorber solenoid supply circuits for a short to ground (CKTs 1114, 1116, 1107 and 1118).

Was a circuit problem found and repaired?

--

Go to Step 13

Go to Step 12

8

Check for an open or short to ground in CKT 1040.

Was a problem found and repaired?

--

Go to Step 13

Go to Step 11

9

Locate and repair the open in the underhood electrical center or the power feed to the electrical center.

Is the circuit repair complete?

--

Go to Step 13

--

10

Check the RTD relay solenoid supply circuit for the following intermittent malfunctions:

    • Short to ground in CKT 1040.
    • Short to ground on any shock absorber solenoid supply circuit.

Was an intermittent malfunction found and repaired?

--

Go to Step 13

System OK

11

Replace the RTD relay.

Is the repair complete?

--

Go to Step 13

--

12

Replace the ESC module. Refer to Electronic Suspension Control Module Replacement .

Is the repair complete?

--

Go to Step 13

--

13

  1. Turn OFF the ignition switch.
  2. Connect or install any connectors or components that were disconnected or removed.
  3. Turn ON the ignition switch.
  4. Using a scan tool, select clear DTCs.

Is the repair complete?

--

Go to RTD Diagnostic System Check

--