GM Service Manual Online
For 1990-2009 cars only

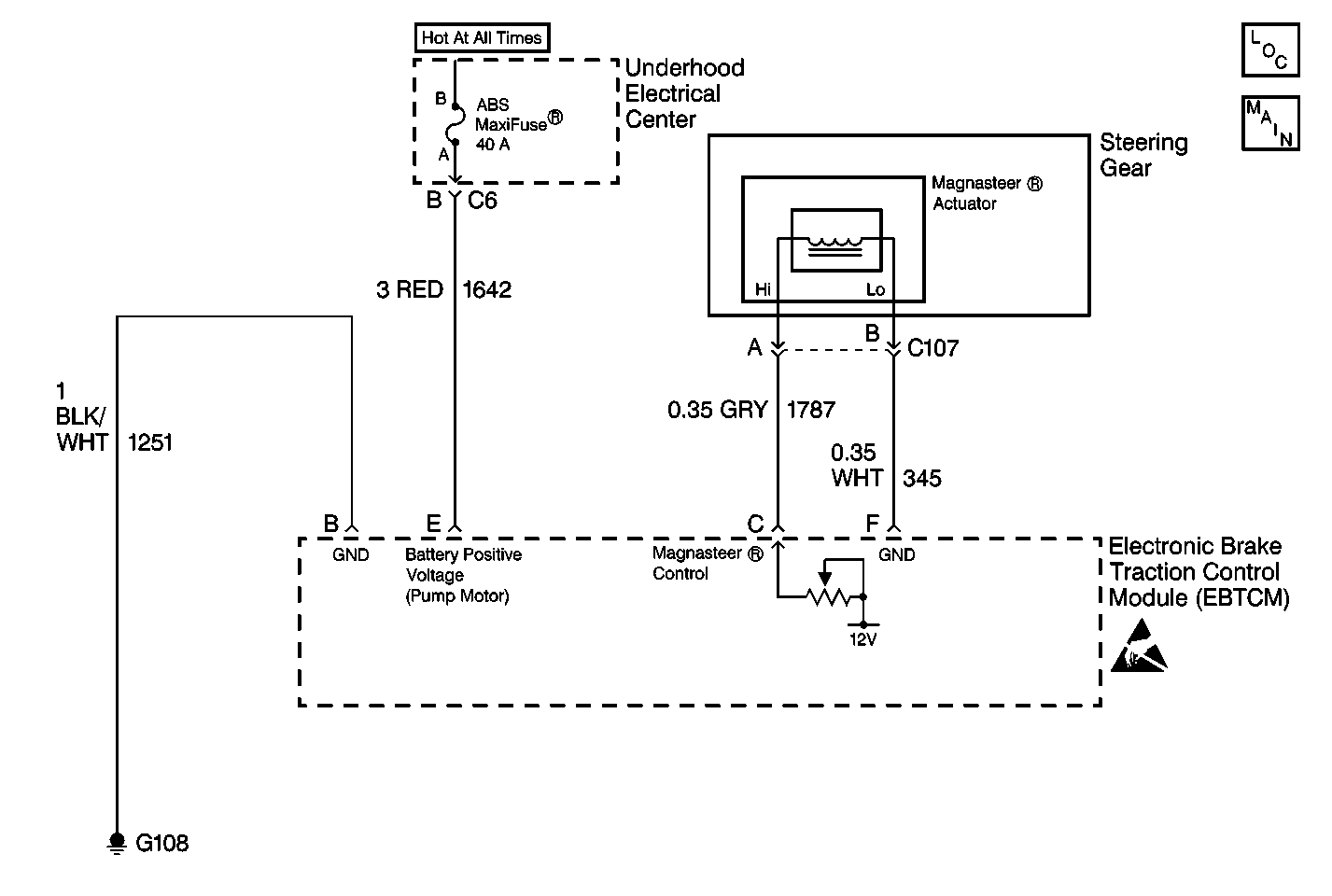
Object Number: 482556  Size: MF
Cell 45: Steering Wheel Position Sensor
Steering Controls Components

Circuit Description

The Speed dependent Steering System (Magnasteer®) incorporates its controller into the EBTCM. The EBTCM controls the amount of current supplied to the Magnasteer® actuator based on input from the wheel speed sensors.

Magnasteer® 2 also uses inputs from the wheel speed sensors along with added input from the Steering Wheel Position Sensor.

Conditions for Setting the DTC

One or both of the Magnasteer® actuator circuit wires become open or shorted.

Action Taken When the DTC Sets

A malfunction DTC is stored. No ABS or Car Icon (TCS indicator) indicators are turned on but Magnasteer® is disabled. ABS/TCS remains functional.

Conditions for Clearing the DTC

    • Condition for DTC is no longer present and scan tool clear DTC function is used.
    • Fifty ignition cycles have passed with no DTC(s) detected.

Diagnostic Aids

    • It is very important that a thorough inspection of the wiring and connectors be performed. Failure to carefully and fully inspect wiring and connectors may result in misdiagnosis, causing part replacement with reappearance of the malfunction.
    • An intermittent malfunction can be caused by poor connections, broken insulation, or a wire that is broken inside the insulation.
    • If an intermittent malfunction exists refer to Testing for Electrical Intermittents

Test Description

The numbers below refer to step numbers on the diagnostic table.

  1. Checks for an open in the Magnasteer® actuator or Magnasteer® CKT.

  2. Checks for a short to ground in the Magnasteer® actuator or Magnasteer® CKT.

  3. Checks for a short to voltage in the Magnasteer® CKT.

  4. Checks for a short to voltage in the Magnasteer® CKT.

DTC C1241 Magnasteer® Malfunction

Step

Action

Value(s)

Yes

No

1

Was the ABS Diagnostic System Check performed?

--

Go to Step 2

Go to Diagnostic System Check - ABS

2

  1. Inspect the Magnasteer® wiring and connectors for damage.
  2. Inspect the Magnasteer® Actuator for looseness or damage.

Is physical damage of Actuator evident?

--

Go to Step 3

Go to Step 4

3

Repair as necessary.

Is the repair complete?

--

Go to Diagnostic System Check - ABS

--

4

  1. Turn the ignition switch to the OFF position.
  2. Disconnect the EBTCM.
  3. Install the J 39700 Universal Pinout Box using the J 39700-25 cable adapter to the EBTCM harness connector only.
  4. Using J 39200 DMM, measure the resistance between terminals C and F of J 39700 .

Is the resistance within the range specified in the value(s) column?

2-3ohms

Go to Step 12

Go to Step 5

5

  1. Disconnect the Magnasteer® Actuator.
  2. Using J 39200 DMM, measure the resistance between terminals A and B of the Magnasteer® Actuator Connector.

Is the resistance within the range specified in the value(s) column?

2-3ohms

Go to Step 6

Go to Step 11

6

  1. Connect a jumper between the Magnasteer® Actuator harness connector terminal A and ground.
  2. Using J 39200 DMM, measure the resistance between terminals C and B of J 39700 .

Is the resistance within the range specified in the value(s) column?

0-5ohms

Go to Step 8

Go to Step 7

7

Repair CKT 1787 for an open or high resistance. Refer to Wiring Repairs in Wiring Systems.

Is the repair complete?

--

Go to Diagnostic System Check - ABS

--

8

  1. Connect a jumper between the Magnasteer® Actuator harness connector terminal B and ground.
  2. Using J 39200 DMM, measure the resistance between terminals F and B of J 39700 .

Is the resistance within the range specified in the value(s) column?

0-5ohms

Go to Step 10

Go to Step 9

9

Repair CKT 345 for an open or high resistance. Refer to Wiring Repairs in Wiring Systems.

Is the repair complete?

--

Go to Diagnostic System Check - ABS

--

10

Malfunction is intermittent. Inspect all connectors and harnesses for damage that may result in an open or high resistance when connected. Refer to Testing for Electrical Intermittents in Wiring Systems.

Is the repair complete?

--

Go to Diagnostic System Check - ABS

--

11

Replace the Power Steering Gear. Refer to Steering Gear Replacement in Power Steering System.

Is the replacement complete?

--

Go to Diagnostic System Check - ABS

--

12

Using J 39200 DMM, measure the resistance between terminals C and B of J 39700 .

Is the resistance within the range specified in the value(s) column?

OL (infinite)

Go to Step 19

Go to Step 13

13

  1. Disconnect the Magnasteer® Actuator.
  2. Using J 39200 DMM, measure the resistance between terminal A and ground of the Magnasteer® Actuator Connector.

Is the resistance within the range specified in the value(s) column?

OL (infinite)

Go to Step 14

Go to Step 11

14

Using J 39200 DMM, measure the resistance between terminals F and B of J 39700 .

Is the resistance within the range specified in the value(s) column?

OL (infinite)

Go to Step 16

Go to Step 15

15

Repair CKT 345 for a short to ground. Refer to Wiring Repairs in Wiring Systems.

Is the repair complete?

--

Go to Diagnostic System Check - ABS

--

16

Using J 39200 DMM, measure the resistance between terminals C and B of J 39700 .

Is the resistance within the range specified in the value(s) column?

OL (infinite)

Go to Step 17

Go to Step 18

17

Malfunction is intermittent. Inspect all connectors and harnesses for damage that may result in a short to ground when connected. Refer to Testing for Electrical Intermittents in Wiring Systems.

Is the repair complete?

--

Go to Diagnostic System Check - ABS

--

18

Repair CKT 1787 for a short to ground. Refer to Wiring Repairs in Wiring Systems.

Is the repair complete?

--

Go to Diagnostic System Check - ABS

--

19

  1. Disconnect the Magnasteer® Actuator.
  2. Turn the ignition switch to the ON position, engine off.
  3. Using J 39200 DMM, measure the voltage at terminal F of J 39700 .

Is the voltage within the range specified in the value(s) column?

Above 1V

Go to Step 20

Go to Step 21

20

Repair CKT 345 for a short to voltage. Refer to Wiring Repairs in Wiring Systems.

Is the repair complete?

--

Go to Diagnostic System Check - ABS

--

21

Using J 39200 DMM, measure the voltage at terminal C of J 39700 .

Is the voltage within the range specified in the value(s) column?

Above 1V

Go to Step 22

Go to Step 23

22

Repair CKT 1787 for a short to voltage. Refer to Wiring Repairs in Wiring Systems.

Is the repair complete?

--

Go to Diagnostic System Check - ABS

--

23

Replace the EBTCM. Refer to Electronic Brake Control Module Replacement .

Is the replacement complete?

--

Go to Diagnostic System Check - ABS

--