GM Service Manual Online
For 1990-2009 cars only

Brake Pressure Modulator Valve (BPMV)

EBTCM/BPMV


Object Number: 106483  Size: MF
(1)Electronic Brake and Traction Control Module (EBTCM)
(2)Brake Pressure Modulator Valve (BPMV)
(3)Pump Motor
(4)Pump Motor Relay
(5)Solenoid Valve Relay
(6)Moisture Seal Between EBTCM and the BPMV
(7)EBTCM to BPMV Connectors
(8)EBTCM to BPMV Mounting Screws

The Brake Pressure Modulator Valve (BPMV) provides brake fluid modulation for each of the individual wheel circuits as required during an Antilock, Traction Control, or Active Handling (RPO JL4) event. During the Antilock mode, the BPMV can maintain or reduce brake fluid pressure independent of the pressure generated in the master cylinder. The BPMV does not provide more pressure than is applied by the master cylinder during an Antilock brake event. During a Traction Control or an Active Handling event the BPMV applies pressure independent of the master cylinder to the individual wheel circuits.

With the exception of the EBTCM, the Brake Pressure Modulator Valve (BPMV) is an integral, non-serviceable component. The BPMV should never be disassembled.

The BPMV consists of several other components which are described as follows:

Pump Motor

The BPMV contains a motor driven recirculation pump. The pump serves two purposes: 1) During ABS Reduce Pressure events, it transfers fluid from the brake calipers back to the master cylinder; and 2) During traction control, or an Active Handling event, the pump transfers fluid to the brake calipers. The pump and motor are located within the BPMV and are not serviced separately.

ABS Valves

The ABS valves decrease or maintain brake fluid pressure at the individual wheel circuits. There are four Inlet, and four Outlet solenoid valves. The solenoid valves maintain, increase, or decrease brake fluid pressure to the individual wheel circuits. The EBTCM commands the valves to their correct position during an Antilock, Traction Control, or Active Handling event. During antilock mode, the pressure in each hydraulic circuit can be held or released by activating the appropriate valves. The normal state of the Inlet valves is open, while the normal state of the Outlet valves is closed. This allows direct master cylinder pressure to the brakes during normal braking. The ABS valves are located within the BPMV and are not serviced separately.

Master Cylinder Isolation Valve (s)

There is one Master Cylinder Isolation Valve within the BPMV if the vehicle is equipped with ABS/TCS only. This valve isolates the master cylinder so the pump motor can build brake fluid pressure for the rear brakes during a traction event. There are two Master Cylinder Isolation Valves in the BPMV if the vehicle is equipped with Active Handling (RPO JL4). These valves isolate the master cylinder so the pump motor can build brake fluid pressure for the front and rear wheel brakes as needed during a Traction Control or Active Handling event.

Prime Valve (s)

There is one Prime Valve within the BPMV if the vehicle is equipped with ABS/TCS only. This valve allows the pump to draw fluid from the master cylinder reservoir, through the compensating ports in the master cylinder bore to build pressure in the individual wheel brakes as needed. There are two Prime Valves in the BPMV if the vehicle is equipped with Active Handling (RPO JL4). These valves allow the pump to draw fluid from the master cylinder reservoir, through the compensating ports in the master cylinder bore to build pressure in the individual wheel brakes as needed.

Electronic Brake And Traction Control Module (EBCM)

The function of the EBCM is to monitor inputs from all related sensors, determine wheel slip tendencies, yaw rate error if equipped with Active Handling (RPO JL4), control the brake system during Antilock, Traction Control, or Active Handling events and monitor the system for proper operation.

The EBCM continuously checks the speed of each wheel to determine if any wheel is beginning to slip. If a wheel slip tendency is detected, the EBCM commands appropriate valve positions to modulate brake fluid pressure in some or all of the hydraulic circuits to prevent wheel slip and provide optimum braking. The EBCM continues to control pressure in individual hydraulic circuits until a slipping tendency is no longer present. If equipped with Active Handling the EBCM also monitors the yaw rate error. If the yaw rate error becomes too large, the EBCM will modulate brake fluid pressure to the individual wheel brakes as needed to restore the proper yaw rate error. If the EBCM detects a system malfunction, it can disable the Antilock, Traction Control, and Active Handling functions and turn on the Antilock and/or Car Icon (TCS indicator) Indicators in the instrument cluster.

Pump Motor Relay and Solenoid Valve Relay

The pump motor relay provides power to the pump motor during Antilock braking, Traction Control or Active Handling (if equipped with RPO JL4). The Solenoid Valve Relay provides power to the solenoid valves in the Brake Pressure Modulator Valve (BPMV). Both of these relays are an integral part of the EBCM and cannot be serviced separately.

Stoplamp Switch

The Stoplamp switch is an input to the EBCM. The EBCM uses the Stoplamp switch to tell when the brake pedal is being applied so that traction control can be disabled if necessary.

Wheel Speed Sensors

A Wheel Speed Sensor (WSS) is present at each wheel. The sensors transmit wheel speed information to the EBCM by means of a small AC voltage. This voltage is generated by magnetic induction caused by passing a toothed sensor ring (part of the integral hub/bearing assembly) past a stationary sensor. The signal is transmitted to the EBCM through shielded wiring to help reduce electro-magnetic interference that can cause false or noisy WSS inputs to the EBCM.

Front Wheel Speed Sensor


Object Number: 106486  Size: LH
(1)Front Wheel Speed Sensor
(2)Integral Hub/Bearing

The front wheel speed sensor is located in the hub/bearing assembly and is non-adjustable. Sensor gap is set at time of assembly.

Rear Wheel Speed Sensor


Object Number: 106488  Size: LH
(1)Integral Hub/Bearing
(2)Rear Wheel Speed Sensor

The rear wheel speed sensors are mounted in the bearing assembly and are non-adjustable. Sensor gap is set at the time of assembly.

Steering Wheel Position Sensor (SWPS)


Object Number: 106494  Size: SH

The Steering Wheel Position sensor has four outputs:

    • Digital output phase A
    • Digital output phase B
    • Index pulse (Non-Active Handling vehicles only)
    • Analog output

This information is used to calculate three things:

    • The front wheel's position when centered.
    • The front wheel's position when turning.
    • The vehicle's lateral acceleration. This is used for Magnasteer®2.

The EBCM uses the digital input (Phase A and Phase B) from the Steering Wheel Position Sensor to calculate the direction the driver of the vehicle is trying to steer during an ABS and/or Active Handling (RPO JL4) event. This information is also used to calculate the vehicle's lateral acceleration for Magnasteer®2.

The EBCM runs a centering routine when the vehicle speed goes above 30 Km/h (18 mph). When the vehicle reaches 30 Km/h (18 mph), the EBCM monitors the Steering Wheel Position Sensor inputs (Phase A, Phase B and Analog voltage) to see if the steering wheel is moving. If the steering wheel is not moving for a set period of time then the EBCM assumes the vehicle is going in a straight line. At this point, the EBCM looks at the analog voltage signal and reads the voltage. This voltage, normally around 2.5V, is then considered the center position and the digital degrees also become zero at the same time. This centering routine is necessary to compensate for wear in the steering and suspension. Wear in the steering and suspension can result in a change in the relationship between the steering wheel and the front tires when driving in a straight line. By running the centering routine, the EBCM can compensate for these changes by changing the digital and analog center position.

Traction Control/Active Handling System On/Off Switch

The Traction Control/Active Handling On/Off Switch is a momentary on switch that allows the driver to shut off the TCS and Active Handling (RPO JL4) if equipped, for personal or diagnostic reasons, by pressing and releasing the switch. If the vehicle is equipped with Active Handling, the TCS/Active Handling On/Off switch can be pressed and held for 5 seconds; this places the system in Competitive driving mode. Competitive driving mode turns the TCS off but still allows Active Handling to be active. The switch is located in the center console.

Lateral Accelerometer (RPO JL4)


Object Number: 106492  Size: SH

The Lateral Accelerometer is a self contained unit which uses a reference voltage of 5 volts. The sensor's operating range is -1.5 - +1.5G, resulting in an output range of 0.25-4.75 volts. Zero lateral acceleration results in an output signal of 2.5 volts. The EBCM uses the Lateral Accelerometer along with the Steering Wheel Position Sensor, and the Wheel Speed Sensors to calculate the desired yaw rate. The EBCM compares the desired yaw rate to the actual yaw rate that is received from the Yaw Rate Sensor. The difference between the actual yaw rate and the desired yaw rate is the yaw rate error. The Lateral Accelerometer is also used for the Bank Angle Compensation calculation. The Bank Angle Compensation calculation is an important part of the Active Handling algorithm.

Yaw Rate Sensor (RPO JL4)


Object Number: 106491  Size: SH

The Yaw Rate Sensor is a self contained unit which uses a reference voltage of 5 volts. The sensor's range is -75 - +75 degrees/second, resulting in a signal proportional output of 0.25-4.75 volts. Zero yaw rate is 2.5 volts. The EBCM uses the Yaw Rate Sensor to determine the vehicles actual yaw rate to compare to the desired yaw rate. The difference between the actual yaw rate and the desired yaw rate is the yaw rate error.

Brake Pressure Sensor (RPO JL4)


Object Number: 309893  Size: SH
(1)0 Ring
(2)Brake Pressure Sensor

The Brake Pressure Sensor is a solid state self contained pressure sensor. The sensor has an operating range of 0.20-4.80 volts, resulting in a reading between 0-2000 psi. The EBCM uses the input from the Brake Pressure Sensor during an Active Handling event to give more accurate control over the braking system.

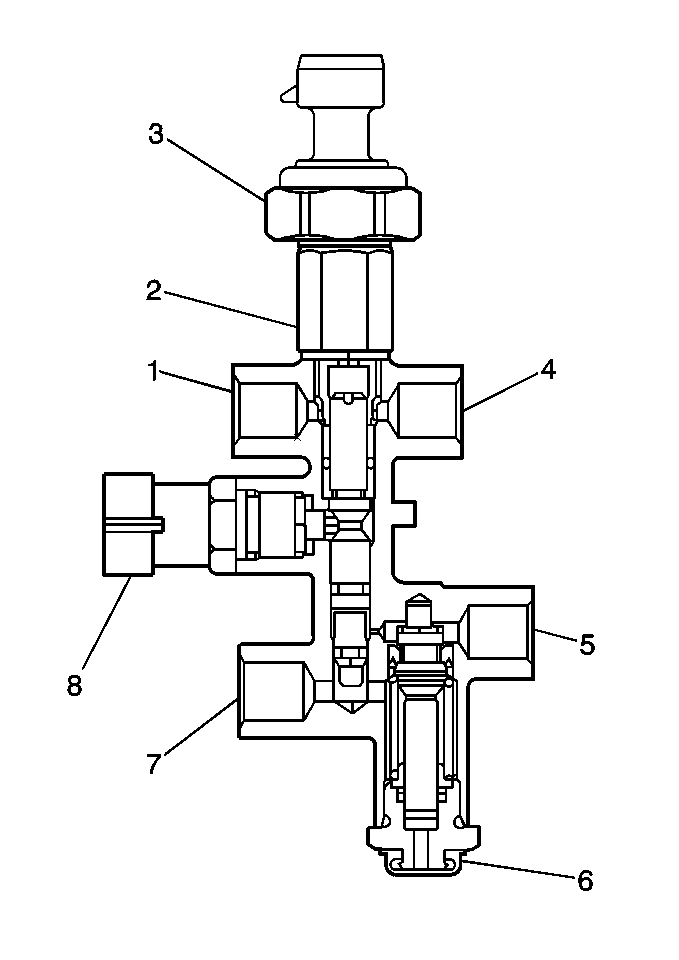
Combination Valve (RPO JL4)


Object Number: 309886  Size: MH
(1)Front brake line port from the master cylinder
(2)Adaptor
(3)Brake Pressure Sensor
(4)Front brake line port to the front brakes
(5)Rear brake line port to the rear brakes
(6)Proportioning Valve
(7)Rear brake line port from the master cylinder
(8)Brake Pressure Differential Valve

The combination valve consists of three components placed in housing.

    • Brake Pressure Sensor (3)
    • Brake Pressure Differential Switch (8)
    • Proportioning Valve (6)