GM Service Manual Online
For 1990-2009 cars only

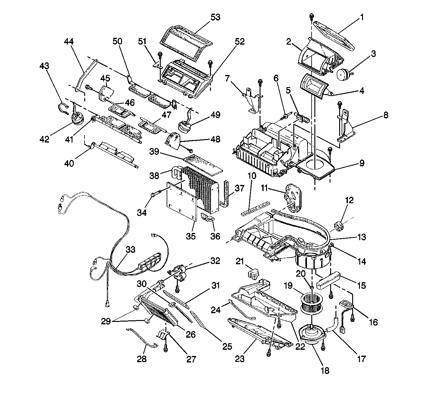
HVAC Module Components


Object Number: 297288  Size: LF
(1)Air Inlet Seal
(2)Air Inlet Case
(3)Air Inlet Valve Vacuum Actuator
(4)Air Inlet Valve
(5)Inside Air Temperature Sensor Aspirator
(6)HVAC Module Stud
(7)HVAC Module Upper Bracket - LH
(8)HVAC Module Upper Bracket - RH
(9)HVAC Module Case - Upper
(10)HVAC Module Case Seal
(11)A/C Evaporator Tube and Heater Core Pipe Seal
(12)A/C Evaporator Drain Seal
(13)HVAC Module Case Seal (Primary)
(14)HVAC Module Case - Lower
(15)Vacuum Control Solenoid Valve
(16)Blower Motor Control Module
(17)Blower Motor Cooling Tube
(18)Blower Motor
(19)Blower Motor Impeller
(20)Blower Motor Impeller Retaining Nut
(21)Heater Core Cover Cavity Seal
(22)Heater Core Cover
(23)Heater Core Outlet Cover
(24)Heater Core Side Seal
(25)Heater Core Side Seal
(26)Heater Core
(27)Heater Core Retaining Clamp
(28)Heater Core Outer Seal
(29)Heater Core Seal
(30)Heater Core Center Seal
(31)Heater Core Upper Seal
(32)Heater Core Tube Retainer Clamp
(33)HVAC Module Vacuum Harness
(34)A/C Evaporator Core Water Filter Retainer
(35)A/C Evaporator Core Water Filter
(36)A/C Evaporator Core Lower Seal
(37)A/C Evaporator Core Side Seal
(38)A/C Evaporator Core
(39)A/C Evaporator Core Upper Seal
(40)Heater Valve
(41)Mode Valve
(42)Mode Valve Vacuum Actuator
(43)Mode Valve Vacuum Actuator Retaining Tie Strap
(44)Heater and Defroster Valve Link
(45)Temperature Valve Electric Actuator - LH
(46)Temperature Valve - LH
(47)Temperature Valve - RH
(48)Temperature Valve Electric Actuator - RH
(49)Defroster Valve Vacuum Actuator
(50)Defroster Valve
(51)Mode Valve Shelf Bracket
(52)Air Distribution Case
(53)Air Distribution Case Seal

Air enters the heater, ventilation and air conditioning (HVAC) module where it may be cooled for air conditioning or defrost modes, and then heated as necessary before being sent to the proper outlets for discharge into the passenger compartment. Within the HVAC module, valves (doors) guide the airflow in response to the position of the mode control on the HVAC control head.

Other components of the air distribution system include the plenum, the blower motor, the evaporator core and the heater core. The plenum provides a source of outside air to the system. The blower motor draws air from the plenum or from the vehicle interior into the HVAC module and forces it through the air distribution system to the outlets. The evaporator core is a part of the refrigeration system. The evaporator cools the air from the blower motor when operating in an air conditioning or defrosting mode. The heater core provides heat which can be used to warm the air downstream from the evaporator core.

Air Inlet Valve

The first valve in the air distribution system is the air inlet valve. This two-position valve controls the two air entrances which feed air to the blower motor. When RECIRC mode is selected, vacuum is applied to the air inlet vacuum actuator and the air inlet valve opens the entrance which supplies inside air from the passenger compartment. In this position, the air inlet valve partially closes the entrance for outside air so only a slight amount can enter. Re-circulating the cooled air inside the passenger compartment when the outside temperature is very high gives a faster cool down to a more comfortable temperature.

When OUTSIDE AIR mode is selected, the air inlet vacuum actuator is vented to normal air pressure and the air inlet valve completely closes off the entrance for inside air. Only fresh outside air is used in the system in this mode.

Blower Motor

The blower motor is located in the evaporator and heater core module on the passenger side of the vehicle. The blower motor draws in air and pushes it through the evaporator core. A small portion of the blower output is recirculated through the blower motor housing to provide cooling for the motor.

Temperature Valves

There are two temperature valves, driver (LH) and passenger (RH). Each temperature valve is controlled by a corresponding electric actuator, LH or RH respectively. The temperature valve electric actuators move the associated temperature valve to the desired positions which in turn produce the proper temperature of the air delivered to each side (LH and RH) of the passenger compartment. The electric actuators are controlled by the temperature control knobs on the HVAC control head. The LH temperature control knob is the primary control for both of the electric actuators. When the MODE button on the HVAC control head is depressed, the LH temperature control knob will operate both of the electric actuators to obtain the same temperature to both the LH and RH sides of the passenger compartment. When the AUTO button is depressed, the RH temperature control knob will control the RH electric actuator to provide a different temperature (if desired) to the RH side of the passenger compartment, unless the LH temperature control knob is set to the maximum cold or the maximum hot setting. If the LH temperature control knob is set to the maximum cold or the maximum hot setting, the LH temperature control knob will control both the LH and RH electric actuators. When the LH temperature control knob is in any other position, the RH temperature control knob may be used to control the RH electric actuator. When the LH temperature control knob is in the full cold position, the actuators position the temperature valves such that the air flow will by-pass the heater core. With the knob in any other position but full cold, the actuators position the temperature valves to allow air to pass through the heater core. The hotter the control knob setting, the more air passes through the heater core, increasing the air temperature entering the passenger compartment.

Mode Valve

The mode valve in the at-rest (no vacuum) position, allows a blend of air to the instrument panel and the floor outlets; as in BI-LEVEL mode. The mode valve can be opened (full-down) or closed (full-up) by applying vacuum to one side or the other of the three-position mode valve vacuum actuator. When opened (full-down) by applying vacuum to the lower side of the vacuum actuator, air will exit the instrument panel outlets (air is blocked off from entering the floor outlets); as in UPPER mode. When closed (full-up) by applying vacuum to the upper side of the vacuum actuator, the instrument panel outlets will be closed off and air will be delivered to the floor outlets depending on the corresponding position of the heater valve; as in LOWER or DEFOG modes.

Heater and Defroster Valves

The heater and defroster valves are operated by a three-position defroster valve vacuum actuator attached to the defroster valve, which is in-turn connected by a link to the heater valve. When the defroster valve vacuum actuator is in the at rest (no vacuum) position, a blend of air is directed to the defroster and the floor outlets; as in DEFOG mode. When vacuum is applied to the lower side of the defroster valve vacuum actuator, the defroster valve is opened (full-down) and the heater valve is closed (full-down), allowing air to be directed to the defroster outlets; as in DEFROST mode. When vacuum is applied to the upper side of the vacuum actuator, the defroster valve is closed (full-up), blocking off the defroster outlets, and the heater valve is opened (full-up), allowing air to enter the floor outlets depending on the corresponding position of the mode valve; as in BI-LEVEL or LOWER modes.

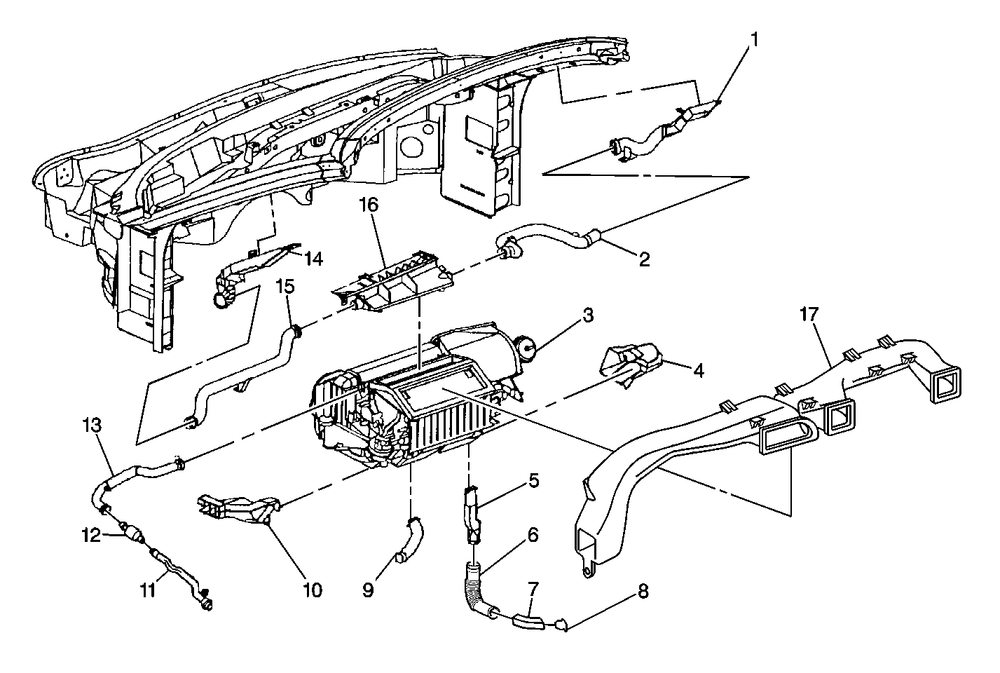
Ducts and Outlets

HVAC System Interior Ducts - Primary


Object Number: 297271  Size: MF
(1)Windshield Defogger Outlet Duct - Upper, RH
(2)Windshield Defogger Outlet Duct - Lower, RH
(3)HVAC Module
(4)Floor Air Outlet Duct - RH
(5)Floor Air Outlet Duct - Rear, RH
(6)Carpet Air Outlet Duct
(7)Carpet Air Outlet - Inner
(8)Carpet Air Outlet - Outer
(9)Floor Air Outlet Duct - Rear, LH
(10)Floor Air Outlet Duct - LH
(11)Inside Air Temperature Sensor Aspirator Duct - Rear
(12)Inside Air Temperature Sensor Aspirator Duct - Muffler
(13)Inside Air Temperature Sensor Aspirator Duct - Front
(14)Windshield Defogger Outlet Duct - Upper, LH
(15)Windshield Defogger Outlet Duct - Lower, LH
(16)Windshield Defroster Outlet Duct
(17)Air Distribution Duct

There are adjustable outlets in the instrument panel and the driver's door. In addition, there are two side window defogger outlets, one in each windshield side garnish molding. The instrument panel and door outlets are fed by the air distribution duct. The side window defogger outlets are fed by side window defogger ducts connected to the windshield defroster duct.

Heated or cooled air can be directed to the windshield through the windshield defroster duct. Heated or cooled air can be directed to the floor through four floor ducts.

Vacuum System

 

Defroster Valve Vacuum Actuator

Mode Valve Vacuum Actuator

Air Inlet Valve Vacuum Actuator

Vacuum Hose Color

Red

Yellow

Blue

Brown

Orange (Recirc Mode)

Orange (Outside Mode)

UPPER

Vacuum

Vent

Vacuum

Vent

Vacuum

Vent

BI-LEVEL

Vacuum

Vent

Vent

Vent

Vacuum

Vent

LOWER

Vacuum

Vent

Vent

Vacuum

Vacuum

Vent

DEFOG

Vent

Vent

Vent

Vacuum

N/A

Vent

DEFROST

Vent

Vacuum

Vent

Vacuum

N/A

Vent

All valves in the HVAC module except the temperature valve are controlled by engine vacuum drawn from the vacuum tank, mounted on the RH hinge pillar. The vacuum is routed by a vacuum control solenoid valve (mounted to the RH side of the HVAC module, near the blower motor) to spring-loaded vacuum actuators on the HVAC module. Vacuum stored in the vacuum tank is prevented from bleeding back to its source during conditions of low engine manifold vacuum (acceleration, heavy load, etc.) by a check valve in the vacuum source line.

The vacuum control solenoid valve is controlled by the HVAC control head, which sends the commands necessary to obtain the mode which has been selected. For each mode selected, the HVAC control head energizes or de-energizes specific solenoids in the vacuum control solenoid valve in order to direct vacuum to specific hoses to overcome the force of the spring within the appropriate vacuum actuator(s). The vacuum control solenoid valve also vents the hoses to each remaining vacuum actuator to normal air pressure, allowing the actuator spring to expand. This results in the valves (doors) being properly positioned for the selected operating mode.

The mode, defroster and heater valves use three-position vacuum actuators. A three-position vacuum actuator has a diaphragm with a spring on both sides. At rest (no vacuum applied) the diaphragm will be in the mid-position, allowing for a blend mode. When vacuum is applied to either end of the diaphragm, the diaphragm will move the affected valve to either stop, which will direct airflow to only one of the two possible outlets.

When air is directed to the floor outlets, as in LOWER mode, a small amount of air still bleeds through the defroster outlets to help eliminate re-fogging of the windshield.

Ventilation


Object Number: 171268  Size: SH

The air distribution system provides fresh air ventilation for the passenger compartment in all operating modes. A small amount of outside air is still provided in the RECIRC mode while most of the air is re-circulated. Even in the OFF mode, fresh air is forced into the air distribution system by the forward movement of the vehicle.

After being warmed or cooled to the desired temperature, the air is discharged from the outlets. When all the windows are closed, the addition of outside air builds a slight positive pressure within the passenger compartment. The pressure forces stale air to leave the vehicle through a pressure relief valve, located behind the LR wheelhouse inside the quarter panel.