GM Service Manual Online
For 1990-2009 cars only
Makes
🢒
Chevrolet
🢒
2000
🢒
Corvette
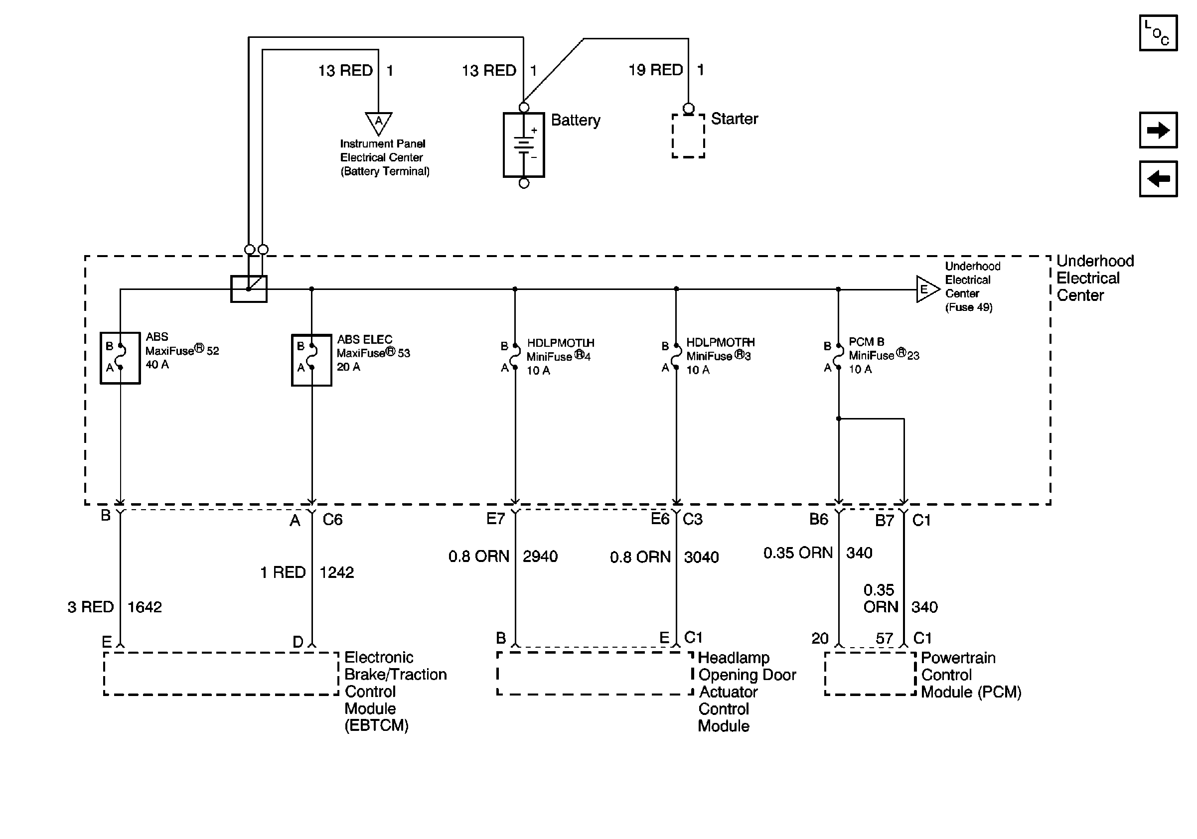
🢒 U/H Fuses 52, 53, 4, 3, 23
U/H Fuses 52, 53, 4, 3, 23
U/H Fuses 52, 53, 4, 3, 23
Power and Grounding Components
U/H Fuses 49, 11, 6, 2, Relays 45, 36, 39, 38
Underhood Electrical Center
I/P Fuses 33, 34, 30, 31, 4, Circuit Breaker 35
U/H Fuses 49, 11, 6, 2, Relays 45, 36, 39, 38