GM Service Manual Online
For 1990-2009 cars only

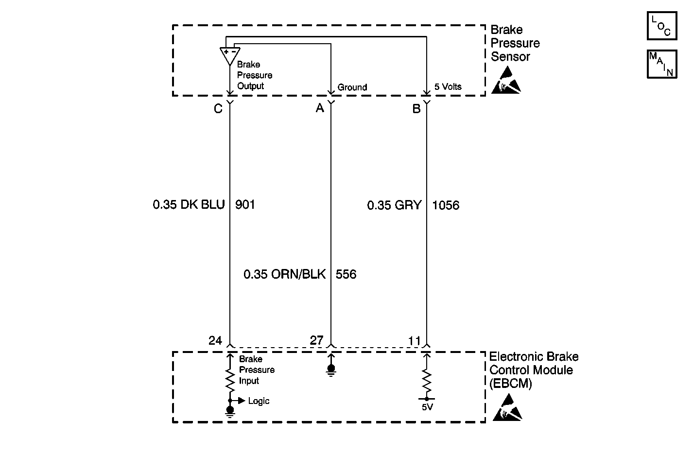
Object Number: 568065  Size: MF
ABS Components
Antilock Brake System Schematics

Circuit Description

The EBCM uses input from the Brake Pressure Sensor for more accurate control during an Active Handling event.

Conditions for Setting the DTC

DTC C1245 can be set after two consecutive ignition cycles if the vehicle speed is greater than 40 Km/h (25 mph) and the Brake Pressure Sensor is always above 100 psi.

Action Taken When the DTC Sets

Active Handling is disabled.

    • Indicators that turn on:
        Car Icon (TCS indicator)
    • Messages displayed on the DIC:
        Service Active HNDLG

Conditions for Clearing the DTC

    • Condition for DTC is no longer present and scan tool clear DTC function is used.
    • Fifty ignition cycles have passed with no DTCs detected.

Diagnostic Aids

    • It is very important that a thorough inspection of the wiring and connectors be performed. Failure to carefully and fully inspect wiring and connectors may result in misdiagnosis, causing part replacement with reappearance of the malfunction.
    • An intermittent malfunction can be caused by poor connections, broken insulation, or a wire that is broken inside the insulation.
    • If an intermittent malfunction exists refer to Intermittents and Poor Connections in Wiring Systems.

Test Description

The number(s) below refer to the step number(s) on the diagnostic table.

  1. This step checks for the proper signal state.

  2. This step checks for a short to voltage.

DTC C1245 Brake Pressure Sensor Always High

Step

Action

Value(s)

Yes

No

1

Was the Diagnostic System Check performed?

--

Go to Step 2

Go to Diagnostic System Check - ABS

2

  1. Turn the ignition switch to the ON position, engine off.
  2. Using a scan tool in ABS/TCS/Active Handling Data List read the Brake Pressure Sensor State.

Does the Brake Pressure Sensor State read OFF?

--

Go to Step 3

Go to Step 4

3

Replace the EBCM. Refer to Electronic Brake Control Module Replacement .

Is the replacement complete?

--

Go to Diagnostic System Check - ABS

--

4

  1. Turn the ignition switch to the OFF position.
  2. Disconnect the EBCM harness connector.
  3. Install the J 39700 Universal Pinout Box using the J 39700-25 cable adapter to the EBCM harness connector only.
  4. Disconnect the Brake Pressure Sensor connector.
  5. Turn the ignition switch to the ON position, engine OFF.
  6. Using J 39200 DMM, measure the voltage at terminal 24 of J 39700 .

Is the voltage within the range specified in the values column?

Above 1.5 V

Go to Step 5

Go to Step 6

5

Repair CKT 901 for a short to voltage. Refer to Wiring Repairs in Wiring Systems.

Is the repair complete?

--

Go to Diagnostic System Check - ABS

--

6

Replace the Brake Pressure Sensor. Refer to Combination Valve Replacement .

Is the replacement complete?

--

Go to Diagnostic System Check - ABS

--