GM Service Manual Online
For 1990-2009 cars only

Object Number: 538655  Size: MF
Power and Grounding Components
Body Control System Schematics
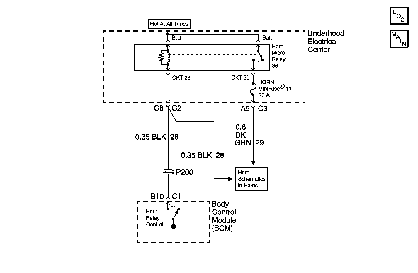
Horn Schematics

Circuit Description

The horn circuit is part of a standard horn system except for the addition of a relay and the BCM providing a control circuit. The BCM can ground the horn relay control circuit in order to energize the relay and turn ON the horns, allowing the horns to be used for Universal Theft Deterrent (UTD) and Remote Function Actuation (RFA) functions. The BCM monitors the voltage level on the horn control circuit. When the BCM commands the relay ON, the voltage level on the control circuit should be low. When the relay is OFF, the voltage level should be high. If the BCM detects a voltage level other than expected, a malfunction is present and a DTC will set.

Conditions for Setting the DTC

    • The BCM detects a low voltage level (an open or a short to ground) in the horn relay control circuit.
    • The BCM can only test for this condition with the horn relay de-energized.
    • The condition must be present for 2 seconds.

Action Taken When the DTC Sets

    • Stores a DTC B2527 in the BCM memory.
    • No driver warning message will be displayed for this DTC.

Conditions for Clearing the DTC

    • This DTC requires an ignition cycle in order to change from current to history.
    • The BCM no longer detects a high voltage level in the horn relay control circuit only with the horn relay de-energized.
    • A history DTC will clear after 50 consecutive ignition cycles if the condition for the malfunction is no longer present.
    • Use the IPC clearing DTCs feature.
    • Use a scan tool.

Diagnostic Aids

    • The following conditions may cause an intermittent malfunction:
       - There is an intermittent open or short to ground in the horn relay control circuit.
       - There is high resistance in the relay coil.
       - There is a short to ground in the horn pad.
       - There are poor connections at the BCM, the underhood electrical center, or the horn relay terminals.
       - The horn relay is open or shorted to ground internally.
    • If the horn relay control circuit is shorted to ground, the horn will remain ON at all times. If the horn relay control circuit is open, the BCM may not be able to provide horn control functions, but the horn may still operate correctly depending on where the open circuit is located.
    • The horn relay may be installed in the I/P electrical center in two directions and still function properly. Refer to Electrical Center Identification in Wiring Systems for electrical center circuit identification.
    • If the DTC is a history DTC, the problem may be intermittent. Perform the tests shown while moving related wiring and connectors. This can often cause the malfunction to occur. Refer to Intermittents and Poor Connections .

Test Description

The number(s) below refer to the step number(s) on the diagnostic table.

  1. Listen for an audible click when the Horn relay operates. Command both the ON and OFF states. Repeat the commands as necessary.

  2. Tests for voltage at the coil side of the Horn relay.

  3. Verifies that the BCM is providing ground to the Horn relay.

  4. Tests if ground is constantly being applied to the Horn relay.

  5. Tests for an open in the Horn control circuit.

  6. When the BCM is replaced, use a scan tool to perform the BCM RPO Reprogram procedure. Refer to Body Control Module (BCM) Programming/RPO Configuration .

Step

Action

Value(s)

Yes

No

1

Did you perform the BCM Diagnostic System Check?

--

Go to Step 2

Go to Diagnostic System Check - Body Control System

2

  1. Install a scan tool.
  2. Turn ON the ignition, with the engine OFF.
  3. With a scan tool, command the Horn relay ON and OFF.

Does the Horn relay turn ON and OFF with each command?

--

Go to Diagnostic Aids

Go to Step 3

3

  1. Turn OFF the ignition.
  2. Disconnect the Horn relay.
  3. Turn ON the ignition, with the engine OFF.
  4. Probe the coil side feed circuit of the Horn relay with a test lamp that is connected to a good ground. Refer to Power Distribution Schematics in Wiring Systems for electrical center circuit identification.

Does the test lamp illuminate?

--

Go to Step 4

Go to Step 10

4

  1. Connect a test lamp between the control circuit of the Horn relay and the coil side feed circuit of the Horn relay. Refer to Power Distribution Schematics in Wiring Systems for electrical center circuit identification.
  2. With a scan tool, command the Horn relay ON and OFF .

Does the test lamp turn ON and OFF with each command?

--

Go to Step 8

Go to Step 5

5

Does the test lamp remain illuminated with each command?

--

Go to Step 7

Go to Step 6

6

Test the control circuit of the Horn relay for an open. Refer to Circuit Testing and Wiring Repairs in Wiring Systems.

Did you find and correct the condition?

--

Go to Step 13

Go to Step 9

7

Test the control circuit of the Horn relay for a short to ground. Refer to Circuit Testing and Wiring Repairs in Wiring Systems.

Did you find and correct the condition?

--

Go to Step 13

Go to Step 9

8

Inspect for poor connections at the Horn relay. Refer to Testing for Intermittent Conditions and Poor Connections and Connector Repairs in Wiring Systems.

Did you find and correct the condition?

--

Go to Step 13

Go to Step 11

9

Inspect for poor connections at the harness connector of the BCM. Refer to Testing for Intermittent Conditions and Poor Connections and Connector Repairs in Wiring Systems.

Did you find and correct the condition?

--

Go to Step 13

Go to Step 12

10

Repair the coil side feed circuit of the Horn relay. Refer to Wiring Repairs in Wiring Systems.

Did you complete the repair?

--

Go to Step 13

--

11

Replace the Horn relay.

Did you complete the replacement?

--

Go to Step 13

--

12

Important: Perform the BCM RPO Reprogram procedure. Refer to Body Control Module (BCM) Programming/RPO Configuration .

Replace the BCM. Refer to Body Control Module Replacement .

Did you complete the replacement?

--

Go to Step 13

--

13

  1. Use the scan tool in order to clear the DTCs .
  2. Operate the vehicle within the Conditions for Setting the DTC as specified in the supporting text.

Does the DTC reset?

--

Go to Step 2

System OK