GM Service Manual Online
For 1990-2009 cars only

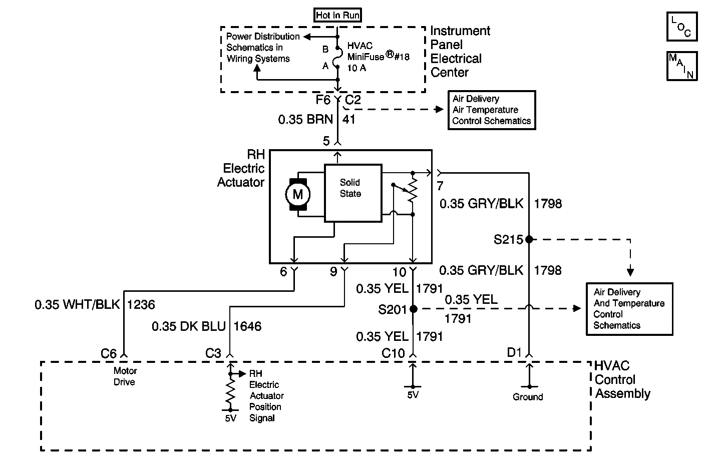
Object Number: 625441  Size: MF
HVAC Components
HVAC Air Delivery/Temperature Control Schematics
HVAC Air Delivery/Temperature Control Schematics
HVAC Air Delivery/Temperature Control Schematics
Power Distribution Schematics

Circuit Description

The HVAC Control Assembly receives a RH electric actuator position signal from the RH electric actuator. The RH electric actuator position sensor is a potentiometer that is tied to a 5 volt reference source through CKT 1791 and to ground through CKT 1798, both from the HVAC Control Assembly. The variable output from the potentiometer feeds back a position signal through CKT 1646 to a pull-up resistor located in the HVAC Control Assembly. This signal is used to determine the necessary drive signal to the RH electric actuator motor to provide the proper air mix door position. This value is stored in the Keep Alive Memory (KAM) portion of the HVAC Control Assembly.

When the HVAC Control Assembly is first connected to power (or the battery connection is established), the system will perform an initialization routine lasting approximately 60 seconds. During this routine, both RH and LH electric actuators will cycle full travel in both directions learning the end positions. Position feedback readings are sent back to the HVAC Control Assembly and compared to a range of acceptable end readings. If during initialization the position feedback readings are not within the acceptable range, a diagnostic code will be set. If the position feedback readings reach values of 0-5 counts or 250-255 counts, the HVAC Control Assembly will then interpret the reading as a "feedback-short" or "feedback-open" condition respectively. IMPORTANT: Feedback-short or feedback-open conditions can occur due to electric actuators being initialized while not being attached to the HVAC module case.

Conditions for Setting the DTC

    • A damaged or bound up temperature door mechanism.
    • Improper alignment of the temperature door after electric actuator replacement.
    • The electric actuator has not been initialized after replacement.
    • During initialization, the position feedback reading is not within an acceptable range.

Action Taken When the DTC Sets

    • The HVAC Control Assembly stores a DTC B0446 in memory.
    • No driver warning message will be displayed for this DTC.

Conditions for Clearing the DTC

    • Using the IPC clearing feature.
    • Using a scan tool.
    • A history DTC will clear after 50 consecutive ignition cycles if the conditions for the fault is no longer present.

Diagnostic Aids

    • If the DTC is a history or an intermittent. Try to perform the tests shown while "wiggling" wiring and connectors, this can often cause the malfunction to appear.
    • Visually inspect sensor connector and harness for damage, corrosion or water intrusion.
    • Check for adequate terminal tension, mis-routed harness, rubbed through wire insulation, and broken wire inside insulation.
    • Install a scan tool to the diagnostic link connector. Turn the ignition switch to the ON position. Select the OUTPUT CONTROL screen in HVAC special functions. Use the MISCELLANEOUS TEST screen to manually drive the RH electric actuator with the scan tool from fully open to fully closed. Monitor the RH MIX MTR POSITION FEEDBACK with the scan tool when this is done. A normal position feedback signal should range between 0-255 counts as the electric actuator is being moved.

Test Description

The number(s) below refer to the step number(s) on the diagnostic table.

  1. Tests for the proper operation of the circuit in the high voltage range.

  2. Tests for the proper operation of the circuit in the low voltage range. If the fuse in the jumper opens when you perform this test, the signal circuit is shorted to voltage.

  3. Tests for a short to ground in the 5 volt reference circuit.

  4. Tests for an open, high resistance or short to voltage in the 5 volt reference circuit.

Step

Action

Value(s)

Yes

No

1

Did you perform the HVAC (CJ2) Diagnostic System Check?

--

Go to Step 2

Go to Diagnostic System Check

2

  1. Install a scan tool.
  2. Turn ON the ignition, with the engine OFF.
  3. With a scan tool, observe the RH MIX MTR POSITION FEEDBACK parameter in the HVAC data list.

Does the scan tool indicate that the RH MIX MTR POSITION FEEDBACK parameter is within the specified range?

5-250 counts

Go to Diagnostic Aids

Go to Step 3

3

  1. Turn OFF the ignition.
  2. Disconnect the RH Electric Actuator.
  3. Turn ON the ignition, with the engine OFF.
  4. With a scan tool, observe the RH MIX MTR POSITION FEEDBACK parameter.

Does the scan tool indicate that the RH MIX MTR POSITION FEEDBACK parameter is greater than the specified value?

250 counts

Go to Step 4

Go to Step 8

4

  1. Turn OFF the ignition
  2. Connect a 3 amp fused jumper wire between the signal circuit of the RH Electric Actuator and the ground circuit of the RH Electric Actuator.
  3. Turn ON the ignition, with the engine OFF.
  4. With a scan tool, observe the RH MIX MTR POSITION FEEDBACK parameter.

Does the scan tool indicate that the RH MIX MTR POSITION FEEDBACK parameter is less than the specified value?

5 counts

Go to Step 5

Go to Step 9

5

  1. Turn OFF the ignition
  2. Disconnect the fused jumper wire.
  3. Connect a 3 amp fused jumper wire between the 5 volt reference circuit of the RH Electric Actuator and the signal circuit of the RH Electric Actuator.
  4. Turn ON the ignition, with the engine OFF.
  5. With a scan tool, observe the RH MIX MTR POSITION FEEDBACK parameter.

Does the scan tool indicate that the RH MIX MTR POSITION FEEDBACK parameter is greater than the specified value?

250 counts

Go to Step 7

Go to Step 6

6

Test the 5 volt reference circuit of the RH Electric Actuator for a short to ground. Refer to Circuit Testing and Wiring Repairs in Wiring Systems.

Did you find and correct the condition?

--

Go to Step 15

Go to Step 12

7

Test the 5 volt reference circuit of the RH Electric Actuator for an open, high resistance or short to voltage. Refer to Circuit Testing and Wiring Repairs in Wiring Systems.

Did you find and correct the condition?

--

Go to Step 15

Go to Step 11

8

Test the signal circuit of the RH Electric Actuator for a short to ground. Refer to Circuit Testing and Wiring Repairs in Wiring Systems.

Did you find and correct the condition?

--

Go to Step 15

Go to Step 12

9

Test the signal circuit of the RH Electric Actuator for a short to voltage, a high resistance, or an open. Refer to Circuit Testing and Wiring Repairs in Wiring Systems.

Did you find and correct the condition?

--

Go to Step 15

Go to Step 10

10

Test the ground circuit of the RH Electric Actuator for a high resistance or an open. Refer to Circuit Testing and Wiring Repairs in Wiring Systems.

Did you find and correct the condition?

--

Go to Step 15

Go to Step 12

11

Inspect for poor connections at the harness connector of the RH Electric Actuator. Refer to Testing for Intermittent Conditions and Poor Connections and Connector Repairs in Wiring Systems.

Did you find and correct the condition?

--

Go to Step 15

Go to Step 13

12

Inspect for poor connections at the harness connector of the HVAC Control Assembly. Refer to Testing for Intermittent Conditions and Poor Connections and Connector Repairs in Wiring Systems.

Did you find and correct the condition?

--

Go to Step 15

Go to Step 14

13

Replace the RH Electric Actuator. Refer to Temperature Actuator Replacement .

Did you complete the replacement?

--

Go to Step 15

--

14

Replace the HVAC Control Assembly. Refer to Control Assembly Replacement .

Did you complete the replacement?

--

Go to Step 15

--

15

  1. Use the scan tool in order to clear the DTCs.
  2. Operate the vehicle within the Conditions for Running the DTC as specified in the supporting text.

Does the DTC reset?

--

Go to Step 2

System OK