GM Service Manual Online
For 1990-2009 cars only

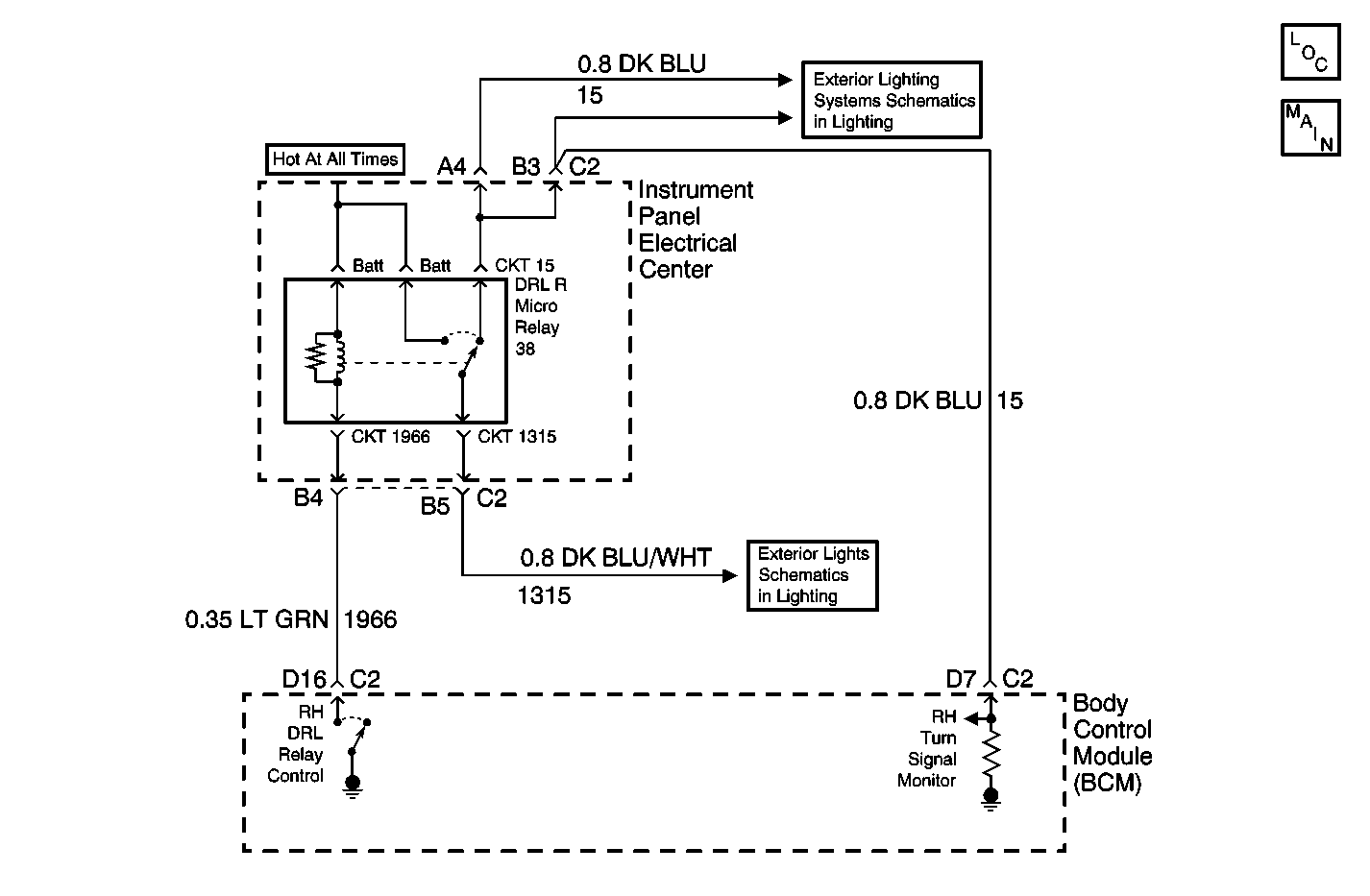
Object Number: 538790  Size: MF
Power and Grounding Components
Body Control System Schematics
Exterior Lights Schematics
Exterior Lights Schematics

Circuit Description

The BCM monitors the RF turn signal circuit in order to determine the status of the turn signal switch. If the BCM detects an oscillating voltage on the RH turn signal monitor circuit, the BCM interprets this as a RF turn signal ON request from the turn signal switch. The BCM will de-energize the RH DRL relay, which will disable the RF turn signal lamp (which is ON for the DRL), thus allowing the RF turn signal to flash. If the BCM does not detect an oscillating voltage on the RH turn signal monitor circuit, the BCM interprets this as the RF turn signal being OFF. The BCM will then energize the RH DRL relay and continue normal DRL operation. The BCM monitors the RH turn signal monitor circuit and determines how long voltage is applied. If the voltage is applied for longer than expected, a malfunction is present and a DTC will set.

Conditions for Setting the DTC

    • The BCM detects continuous battery voltage on the RH turn signal monitor circuit.
    • The condition must be present for longer than 5 seconds.

Action Taken When the DTC Sets

    • Stores a DTC B2578 in the BCM memory.
    • No driver warning message will be displayed for this DTC.

Conditions for Clearing the DTC

    • This DTC requires an ignition cycle in order to change from current to history.
    • The BCM no longer detects continuous battery voltage on the RH turn signal monitor circuit for longer than 5 seconds.
    • A history DTC will clear after 50 consecutive ignition cycles if the condition for the malfunction is no longer present.
    • Use the IPC clearing DTCs feature.
    • Use a scan tool.

Diagnostic Aids

    • The following conditions may cause an intermittent malfunction:
       - There is an intermittent short to voltage in the RH turn signal monitor circuit.
       - The turn signal switch or the hazard switch is internally shorted or is sticking.
    • The BCM needs to detect voltage oscillations on the RH turn signal monitor circuit in order to de-energize the RH DRL relay. If the BCM detects continuous voltage on the RH turn signal monitor circuit, the BCM interprets this as a short to voltage. The BCM will continue with normal DRL operation, and the RF turn signal will remain inoperative.
    • If the DTC is a history DTC, the problem may be intermittent. Perform the tests shown while moving related wiring and connectors. This can often cause the malfunction to occur. Refer to Intermittents and Poor Connections .

Test Description

The number(s) below refer to the step number(s) on the diagnostic table.

  1. Tests if a DTC B2583 is stored in the BCM. If both the RH and LH turn signal monitor DTCs are stored, test the hazard switch and related circuits for a short to voltage.

  2. Tests if the BCM is receiving oscillating voltage on the RH turn signal monitor circuit. If the test light is ON steady, the BCM will set a DTC B2578.

  3. Tests if the BCM is receiving oscillating voltage on the RH turn signal monitor circuit. If the test light is ON steady, the BCM will set a DTC B2578.

  4. Tests if the turn signal switch or related circuits are shorted to voltage.

  5. Tests if the hazard switch or related circuits are shorted to voltage.

  6. Tests if the instrument panel cluster turn signal indicator is shorted to voltage.

  7. Tests if the body control module is shorted to voltage.

  8. When the BCM is replaced, use a scan tool to perform the BCM RPO Reprogram procedure. Refer to Body Control Module (BCM) Programming/RPO Configuration .

Step

Action

Value(s)

Yes

No

1

Did you perform the BCM Diagnostic System Check?

--

Go to Step 2

Go to Diagnostic System Check - Body Control System

2

  1. Install a scan tool.
  2. Turn ON the ignition, with the engine OFF.
  3. Select the BCM display DTC function on the scan tool.

Does the scan tool display DTC B2583?

--

Go to Step 10

Go to Step 3

3

  1. Turn OFF the ignition.
  2. Disconnect the RH DRL relay.
  3. Turn ON the ignition, with the engine OFF.
  4. Probe the RH turn signal monitor circuit at the RH DRL relay with a test lamp that is connected to a good ground. Refer to Power Distribution Schematics in Wiring Systems for electrical center circuit identification.
  5. Turn ON the RH turn signals

Does the test lamp turn ON and OFF with the RH turn signals?

--

Go to Step 13

Go to Step 4

4

Does the test lamp remain illuminated?

--

Go to Step 5

Go to Turn Signal Lamps Inoperative

5

Disconnect the turn signal switch.

Does the test lamp remain illuminated?

--

Go to Step 6

Go to Step 9

6

Disconnect the hazard switch.

Does the test lamp remain illuminated?

--

Go to Step 7

Go to Step 10

7

Disconnect the instrument panel cluster.

Does the test lamp remain illuminated?

--

Go to Step 8

Go to Step 11

8

Disconnect the body control module.

Does the test lamp remain illuminated?

--

Go to Step 12

Go to Step 14

9

Repair a short to voltage in the turn signal switch circuit. Refer to Wiring Repairs in Wiring Systems.

Did you complete the repair?

--

Go to Step 15

--

10

Repair a short to voltage in the hazard switch circuit. Refer to Wiring Repairs in Wiring Systems.

Did you complete the repair?

--

Go to Step 15

--

11

Repair a short to voltage in the instrument panel turn signal indicator circuit. Refer to Wiring Repairs in Wiring Systems.

Did you complete the repair?

--

Go to Step 15

--

12

Repair a short to voltage in the turn signal monitor circuit. Refer to Wiring Repairs in Wiring Systems.

Did you complete the repair?

--

Go to Step 15

--

13

Replace the RH DRL relay. Did you complete the replacement?

--

Go to Step 15

--

14

Important: Perform the BCM RPO Reprogram procedure. Refer to Body Control Module (BCM) Programming/RPO Configuration .

Replace the BCM. Refer to Body Control Module Replacement .

Did you complete the replacement?

--

Go to Step 15

--

15

  1. Use the scan tool in order to clear the DTCs .
  2. Operate the vehicle within the Conditions for Setting the DTC as specified in the supporting text.

Does the DTC reset?

--

Go to Step 2

System OK