GM Service Manual Online
For 1990-2009 cars only

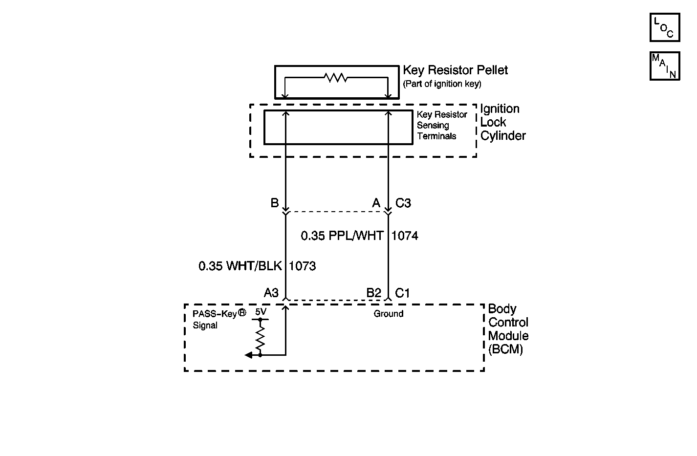
Object Number: 538641  Size: MF
Power and Grounding Components
Body Control System Schematics

Circuit Description

The BCM supplies a 5 volt signal and a ground circuit for the PASS-Key® system. This allows the BCM to detect PASS-Key® resistance values. Inserting the PASS-Key® (with resistor pellet) in the ignition lock cylinder completes the PASS-Key® circuit. Contacts in the ignition lock cylinder mate with the pellet contacts. The BCM compares the resistance value of the key pellet to the valid resistance programmed into the BCM. If the proper resistance value is read, the BCM allows the following functions to occur:

    • The theft deterrent relay to energize.
    • The steering column to unlock.
    • The BCM sends a message through the serial data line to the PCM to allow fuel enable processing to occur.

If the resistance value is incorrect, a malfunction is present and a DTC will set.

Conditions for Setting the DTC

    • The voltage level sampled at the BCMs PASS-Key® signal circuit is high, signaling that an invalid PASS-Key® resistance was detected, and a short to voltage or an open circuit is present.
    • This condition must be present for 1 second.

Action Taken When the DTC Sets

    • Stores a DTC B2723 in the BCM memory.
    • Sends a message to the IPC to display the SECURITY indicator.
    • The BCM will disable the theft deterrent relay.
    • The PCM will not allow fuel enable processing to occur.
    • Disables sampling of the PASS-Key® resistance for a time-out period of 3 minutes.
    • Does not disarm an armed UTD system
    • The steering column remains in the locked position.

Conditions for Clearing the DTC

    • This DTC requires an ignition cycle in order to change from current to history.
    • The BCM detects a valid PASS-Key® resistance value on the PASS-Key® signal circuit.
    • A history DTC will clear after 50 consecutive ignition cycles if the condition for the malfunction is no longer present.
    • Use the IPC clearing DTCs feature.
    • Use a scan tool.

Diagnostic Aids

    • The following conditions may cause an intermittent malfunction:
       - There is an intermittent open or short to voltage in the PASS-Key® signal or ground circuit.
       - There are poor connections at the BCM or the ignition switch connector.
       - The PASS-Key® resistor is open.
       - The ignition lock cylinder key contacts or the PASS-Key® resistor is dirty or loose.
    • If the key resistor pellet is incorrect, there will be no BCM outputs to the theft deterrent relay or to the PCM. This state will last about 3 minutes. If a key is inserted, or the ignition is turned ON again before the 3 minute time frame is complete, the timer will reset to 3 minutes. Disconnecting the battery will not clear the timer sequence, but the timer will reset to 3 minutes when the battery power is restored. Even if a proper key is inserted during one of the time periods, the vehicle will not start until the total time period has lapsed.
    • Clean away any dirt or grease from the key resistor. The foreign substances could interfere with the key detection circuit and set a DTC.
    • If there is an open or a short to voltage on the PASS-Key® signal or ground circuit. the vehicle will exhibit a no crank condition.
    • Check for any poor connections at the BCM and at the ignition lock cylinder. A poor connection can cause an open, a short, incorrect PASS-Key® resistance, or an intermittent malfunction. If the DTC is a history DTC, the problem may be intermittent. Perform the tests while moving the related wiring, the connectors, and the key. This can often cause the malfunction to appear. Refer to Intermittents and Poor Connections .

Test Description

The number(s) below refer to the step number(s) on the diagnostic table.

  1. Tests PASS-Key® Resister Signal data using a scan tool.

  2. Tests the PASS-Key® Resister Signal data with the PASS-Key® ignition switch connector disconnected. The scan tool will display PASS-Key® Resister Signal voltage as 5 volts with the PASS-Key® ignition switch connector disconnected.

  3. Tests the PASS-Key® Resister Signal data with a jumper wire between the signal and ground circuit. The scan tool will display PASS-Key® Resister Signal voltage as 0 volts with the PASS-Key® circuits jumpered.

  4. When the BCM is replaced, use a scan tool to perform the BCM RPO Reprogram procedure. Refer to Body Control Module (BCM) Programming/RPO Configuration .

Step

Action

Value(s)

Yes

No

1

Did you perform the BCM Diagnostic System Check?

--

Go to Step 2

Go to Diagnostic System Check - Body Control System

2

  1. Install a scan tool.
  2. Turn ON the ignition, with the engine OFF.
  3. With a scan tool, observe the PASS-Key® Resistor Signal parameter in the BCM data list.

Does the scan tool indicate that the PASS-Key® Resistor Signal parameter is within the specified range?

0.5-4.5 V

Go to Diagnostic Aids

Go to Step 3

3

  1. Turn OFF the ignition.
  2. Disconnect the PASS-Key® connector at the ignition switch.
  3. Turn ON the ignition, with the engine OFF.
  4. With a scan tool, observe the PASS-Key® Resistor Signal parameter.

Does the scan tool indicate that the PASS-Key® Resistor Signal parameter is greater than the specified value?

4.5 V

Go to Step 4

Go to Step 5

4

  1. Turn OFF the ignition.
  2. Connect a 3 amp fused jumper wire between the signal and the ground circuit of the PASS-Key® system at the ignition cylinder connector.
  3. Turn ON the ignition, with the engine OFF.
  4. With a scan tool, observe the PASS-Key® Resistor Signal parameter.

Does the scan tool indicate that the PASS-Key® Resistor Signal parameter is less than the specified value?

0 V

Go to Step 8

Go to Step 6

5

Test the signal circuit of the PASS-Key® system for a short to ground. Refer to Circuit Testing and Wiring Repairs in Wiring Systems.

Did you find and correct the condition?

--

Go to Step 12

Go to Step 9

6

Test the signal circuit of the PASS-Key® system for a short to voltage, a high resistance, or an open. Refer to Circuit Testing and Wiring Repairs in Wiring Systems.

Did you find and correct the condition?

--

Go to Step 12

Go to Step 7

7

Test the ground circuit of the PASS-Key® system for a high resistance or an open. Refer to Circuit Testing and Wiring Repairs in Wiring Systems.

Did you find and correct the condition?

--

Go to Step 12

Go to Step 9

8

Inspect for poor connections at the PASS-Key® harness connector at the ignition switch. Refer to Testing for Intermittent Conditions and Poor Connections and Connector Repairs in Wiring Systems.

Did you find and correct the condition?

--

Go to Step 12

Go to Step 10

9

Inspect for poor connections at the harness connector of the BCM. Refer to Testing for Intermittent Conditions and Poor Connections and Connector Repairs in Wiring Systems.

Did you find and correct the condition?

--

Go to Step 12

Go to Step 11

10

Perform the ignition lock cylinder test. Refer to Ignition Key Lock Cylinder Test .

Did you find and correct the condition?

--

Go to Step 12

Go to Diagnostic Aids

11

Important: Perform the BCM RPO Reprogram procedure. Refer to Body Control Module (BCM) Programming/RPO Configuration .

Replace the BCM. Refer to Body Control Module Replacement .

Did you complete the replacement?

--

Go to Step 12

--

12

  1. Use the scan tool in order to clear the DTCs.
  2. Operate the vehicle within the Conditions for Running the DTC as specified in the supporting text.

Does the DTC reset?

--

Go to Step 2

System OK