GM Service Manual Online
For 1990-2009 cars only

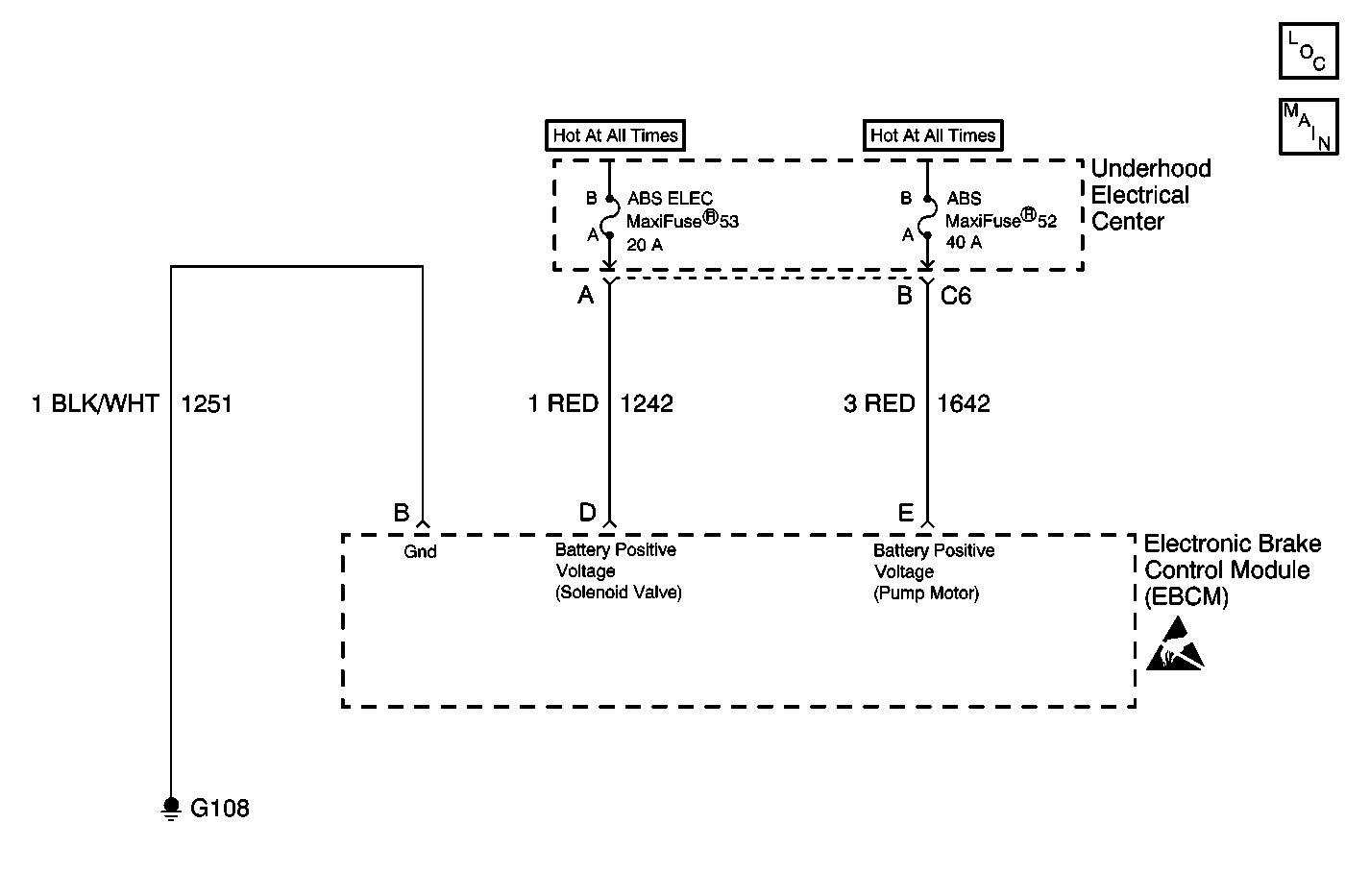
Object Number: 568126  Size: MF
ABS Components
Antilock Brake System Schematics

Circuit Description

The solenoid valve relay supplies power to the solenoid valves in the BPMV. The solenoid valve relay, located in the EBCM, is activated whenever the ignition switch is in the ON position and no faults are present. Power is provided to the solenoid valves through the relay from CKT 1242 going into terminal D of the EBCM. The solenoid valve relay remains engaged until the ignition is turned off or a failure is detected.

Conditions for Setting the DTC

DTC C1214 will set anytime the solenoid valve relay is commanded on and the solenoid valve relay voltage is less than 8 volts, and ignition voltage is greater than 10.5 volts.

Action Taken When the DTC Sets

ABS/TCS/Active Handling (if equipped with RPO JL4) are disabled.

    • Indicators that turn on:
       - ABS indicator
       - Car Icon (TCS indicator)
    • Messages displayed on the DIC:
       - Service ABS
       - Service Traction System
       - Service Active HNDLG (if equipped with Active Handling RPO JL4)

Conditions for Clearing the DTC

    • Condition for DTC is no longer present and scan tool clear DTC function is used.
    • Fifty ignition cycles have passed with no DTCs detected.

Diagnostic Aids

    • It is very important that a thorough inspection of the wiring and connectors be performed. Failure to carefully and fully inspect wiring and connectors may result in misdiagnosis, causing part replacement with reappearance of the malfunction.
    • If an intermittent malfunction exists refer to Intermittents and Poor Connections in Wiring Systems.
    • The Relays are integral to the EBCM and are not serviceable.

Test Description

The numbers below refer to step numbers on the diagnostic table.

  1. Checks for a short to ground in CKT 1242.

  2. Checks for an internal short in the BPMV.

  3. Checks for an open in CKT 1242.

DTC C1214 Solenoid Valve Relay Contact or Coil Circuit Open

Step

Action

Value(s)

Yes

No

1

Was the Diagnostic System Check performed?

--

Go to Step 2

Go to Diagnostic System Check - ABS

2

Inspect fuse 20A ABS ELEC Maxifuse®, in the Underhood Electrical Center.

Is the fuse OK?

--

Go to Step 7

Go to Step 3

3

  1. Install a new 20A ABS ELEC Maxifuse®.
  2. Cycle the ignition switch from the OFF to ON position, engine off.
  3. Recheck the 20A ABS ELEC Maxifuse®.

Is the fuse OK?

--

Go to Diagnostic System Check - ABS

Go to Step 4

4

  1. Turn the Ignition switch to the OFF position.
  2. Remove the 20A ABS ELEC Maxifuse®.
  3. Disconnect the EBCM.
  4. Connect the J 39700 Universal Pinout Box using theJ 39700-25 cable adapter to the EBCM harness connector only.
  5. Using J 39200 DMM measure the resistance between terminals D and B of J 39700 .

Is the resistance within the range specified in the value(s) column?

OL (infinite)

Go to Step 5

Go to Step 10

5

  1. Remove the EBCM from the BPMV.
  2. Connect the J 41247 Pinout Box to the BPMV.
  3. Measure the resistance between the J 41247 terminal 7 and the BPMV case.

Is the resistance within the range specified in the value(s) column?

OL (infinite)

Go to Step 9

Go to Step 6

6

Replace the BPMV. Refer to Brake Pressure Modulator Valve Replacement .

Is the replacement complete?

--

Go to Diagnostic System Check - ABS

--

7

  1. Install the fuse if removed.
  2. Using J 39200 DMM measure the voltage at the 20A ABS ELEC Maxifuse® fuse by probing between the fuse test terminals and a good ground.

Is the voltage within the range specified in the value(s) column?

Battery volts

Go to Step 8

Go to Wiring Repairs in Wiring Systems

8

  1. Turn the Ignition switch to the OFF position.
  2. Disconnect the EBCM.
  3. Connect the J 39700 Universal Pinout Box using the J 39700-25 cable adapter to the EBCM harness connector only.
  4. Using J 39200 DMM measure the voltage at terminal D of J 39700 .

Is the voltage within the range specified in the value(s) column?

Battery volts

Go to Step 9

Go to Step 11

9

Replace the EBCM. Refer to Electronic Brake Control Module Replacement .

Is the replacement complete?

--

Go to Diagnostic System Check - ABS

--

10

Repair short to ground in CKT 1242. Refer to Wiring Repairs in Wiring Systems.

Is the repair complete?

--

Go to Diagnostic System Check - ABS

--

11

Repair open in CKT 1242. Refer to Wiring Repairs in Wiring Systems.

Is the repair complete?

--

Go to Diagnostic System Check - ABS

--