GM Service Manual Online
For 1990-2009 cars only
Makes
🢒
Chevrolet
🢒
2001
🢒
Corvette
🢒 C60
C60
C60
Master Electrical Component List
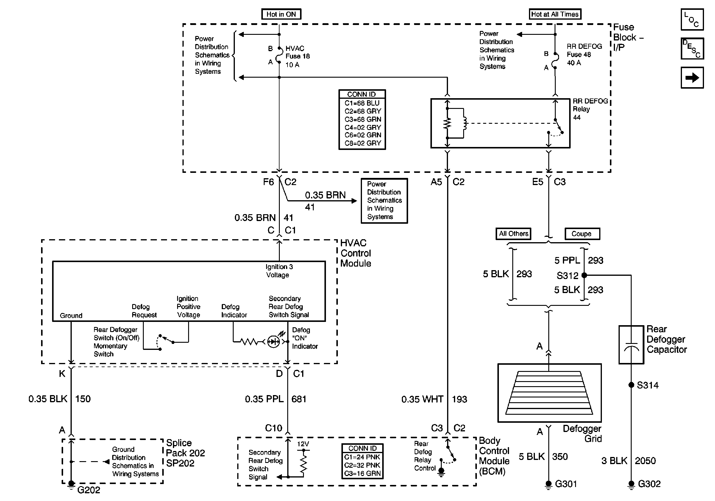
Rear Window Defogger Description and Operation
CJ2
Instrument Panel Electrical Center Fuses 50, 14, 21, 22, 18, Relay 44, and the Ignition Switch (2 of 2)
G202
Instrument Panel Electrical Center Fuses 50, 14, 21, 22, 18, Relay 44, and the Ignition Switch (2 of 2)
Instrument Panel Electrical Center Bussing (2 of 2)