GM Service Manual Online
For 1990-2009 cars only

Jingling Noise on Deceleration or Coast Down (Section and Replace Intermediate Exhaust)

Subject:Jingling Noise On Deceleration or Coast Down (Section and Replace Intermediate Exhaust)

Models:2002-2004 Chevrolet Corvette



This bulletin is being revised to clarify the correct part numbers for the gasket and clamp. Please discard Corporate Bulletin Number 04-06-05-006 (Section 06 - Engine).


Condition

Some customers may comment on an undesirable "jingle" or "jingling" type of noise when decelerating. The noise is similar to shaking a key ring. This condition is most prominent at the mid- to high-rpm range. This noise may also be noticed when driving next to a cement wall or other barrier that will deflect sound.

Cause

This noise is coming from the "H" pipe area of the exhaust system. The center part of the "H" is formed by a crossover pipe connecting the left and right exhaust pipes. At this point, turbulence builds up in the exhaust system and may produce a jingle noise.

Correction

A service section of the exhaust has been released that incorporates a revised crossover pipe. You will need to cut the original exhaust behind the catalytic converters as described in the procedure below.

Caution: This procedure requires metal cutting. You MUST wear protective goggles and gloves.

  1. Raise and suitably support the vehicle.
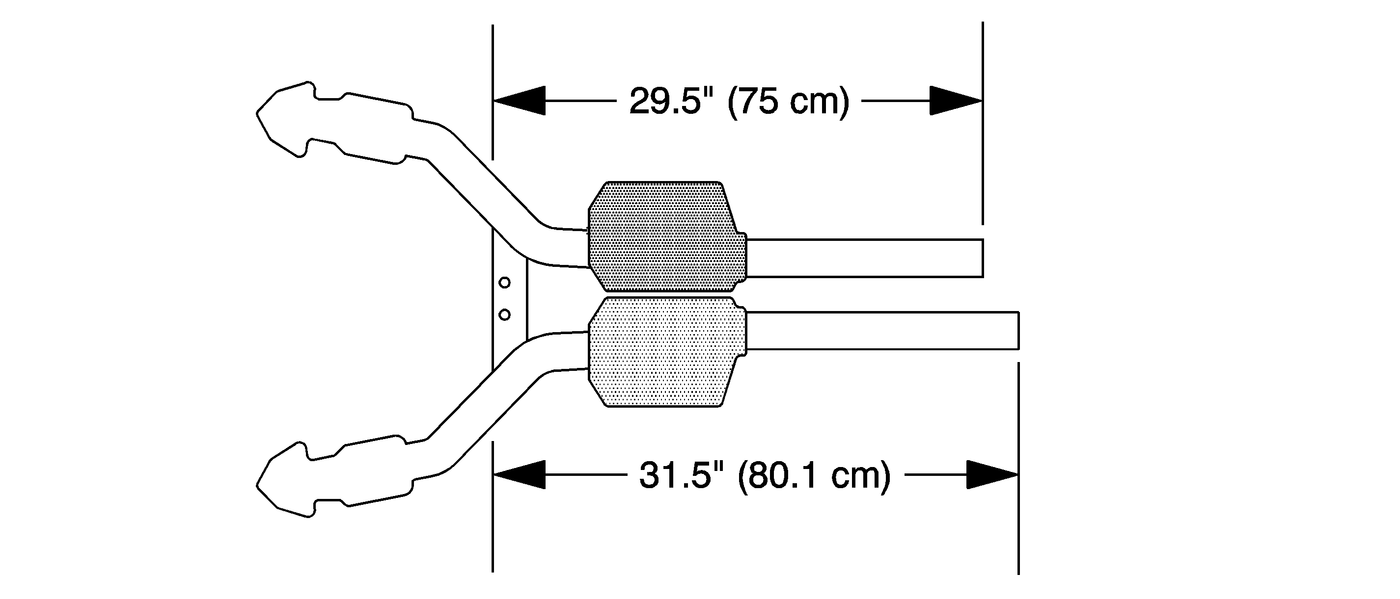
  2. Locate the exhaust system crossbrace, located ahead of the catalytic converters. You will need to mark the exhaust pipes based on the measurements as shown in the illustration. In order to make accurate measurements, please note the following:
  3. • Measurements need to be made from the forward edge of the crossbrace welded to the pipes.
    • The most accurate measurement can be achieved by running a measuring tape between the catalytic converters rather than over them down the length of the pipe. In order to measure over the converters, you will have to arc the tape which will result in an inaccurate measurement.
  4. The driver side exhaust pipe should be measured and marked for cutting at 80.1 cm (31.5 in).

  5. Object Number: 1357153  Size: SF
  6. The passenger side exhaust pipe should be measured and marked for cutting at 75 cm (29.5 in).
  7. Using an electric or air powered reciprocating saw, cut the exhaust pipes at your marks. It is important to cut the pipes as straight as possible. Use caution not to let the blade cut into the floorpan above the pipe.
  8. Remove the rear exhaust hanger from the cut intermediate section of the pipes.
  9. Support the pipe with your hand and remove the two bolts from each rear exhaust flange.
  10. Discard the sectioned exhaust pipes.
  11. Notice: You must make sure that no burrs remain at the cut point. In addition, the area up to 18 cm (7 in) back from the cut should be clean, smooth and free of metal fragments or burrs. Failure to properly prepare the surface may result in an exhaust leak.

  12. Examine the cuts on the front section of pipe that will be retained. You must make sure that no burrs remain at the cut point.
  13. Install the intermediate exhaust pipes with clamps loosely attached onto the original front section of the exhaust.
  14. Install the exhaust gaskets and secure the new intermediate pipe with two bolts to each rear exhaust flange.
  15. Tighten
    Tighten the flange bolts to 20 N·m(15 lb ft).

  16. Install and secure the rear exhaust bracket hanger.

  17. Object Number: 1357152  Size: SH
  18. Position the exhaust clamps as illustrated, allowing for road clearance. Tighten the clamps.
  19. Tighten
    Tighten the exhaust clamps to 44 N·m(32 lb ft).

  20. Lower the vehicle.
  21. Verify the alignment of the exhaust tips and start vehicle.
  22. Raise the vehicle and check for exhaust leaks.
  23. Lower and turn off vehicle.

Parts Information

Part Number

Description

Qty

10276792

Gasket, Exhaust -- Rear Flange

2

10345549

Clamp, 2 1/2" Exhaust

2

10352196

Pipe, Intermediate (Service Section)

1

Warranty Information

For vehicles repaired under warranty, use:

Labor Operation

Description

Labor Time

L3504*

Pipe, Intermediate Section -- Install

0.6 hr

*This labor operation is for bulletin use only. It will not be published in the Labor Time Guide.