GM Service Manual Online
For 1990-2009 cars only

Rear Brake Hose Replacement J55

Removal Procedure

Caution: Refer to Brake Fluid Irritant Caution in the Preface section.

Notice: Refer to Brake Fluid Effects on Paint and Electrical Components Notice in the Preface section.


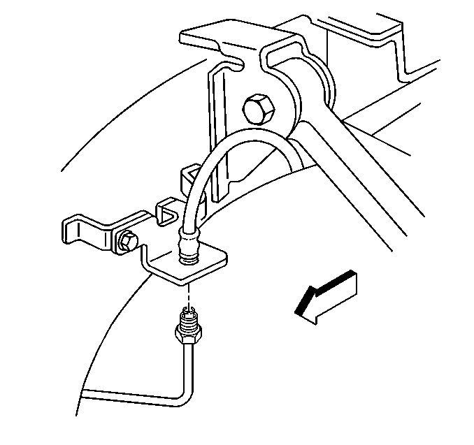
    Object Number: 171918  Size: SH
  1. Raise and suitably support the vehicle. Refer to Lifting and Jacking the Vehicle in General Information.
  2. Remove the rear tire and wheel assembly. Refer to Tire and Wheel Removal and Installation in Tires and Wheels.
  3. Clean all dirt and foreign material from the brake hose and brake pipe fitting.
  4. Important: Install a rubber cap or plug to the exposed brake pipe fitting end to prevent brake fluid loss and contamination.

  5. Use a backup wrench on the hose fitting, disconnect the brake pipe fitting from the brake hose, then cap or plug the brake pipe fitting end.
  6. Do not bend the brake pipe or the bracket.


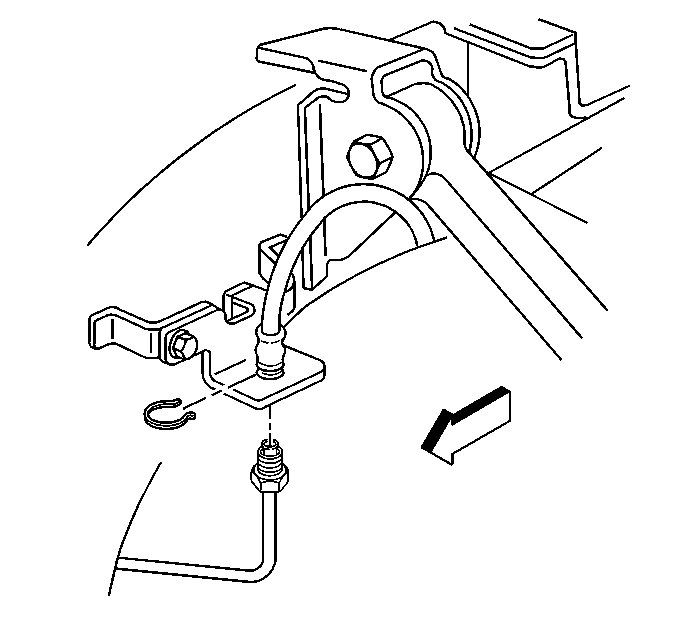
    Object Number: 171927  Size: SH
  7. Remove the brake hose retainer from the brake hose at the hose bracket.
  8. Remove the brake hose from the bracket.

  9. Object Number: 63948  Size: SH
  10. Remove the brake caliper inlet fitting bolt from the caliper.
  11. Remove the brake hose from the brake caliper.
  12. Remove and discard the two copper brake hose gaskets. These gaskets may be stuck to the brake caliper and/or the brake hose end.

Installation Procedure


    Object Number: 63948  Size: SH

    Important: Install NEW copper brake hose gaskets.

  1. Assemble the NEW copper brake hose gaskets, and the brake caliper inlet fitting bolt to the brake hose.
  2. Notice: Refer to Fastener Notice in the Preface section.

  3. Install the brake hose and the brake caliper inlet fitting bolt to the brake caliper.
  4. Tighten
    Tighten the brake caliper inlet fitting bolt to 45 N·m (33 lb ft).


    Object Number: 171927  Size: SH
  5. Install the brake hose to the hose bracket. Ensure that the hose is not kinked or twisted.
  6. Install the retainer onto the brake hose fitting at the bracket.

  7. Object Number: 171918  Size: SH
  8. Remove the rubber cap or plug from the exposed brake pipe fitting end.
  9. Connect the brake pipe fitting to the brake hose:
  10. • Use a backup wrench on the hose fitting.
    • Do not bend the bracket or pipe.

    Tighten
    Tighten the brake pipe fitting to 18 N·m (13 lb ft).

  11. Install the tire and wheel assembly. Refer to Tire and Wheel Removal and Installation in Tires and Wheels.
  12. Bleed the hydraulic brake system. Refer to Hydraulic Brake System Bleeding .
  13. Lower the vehicle.