GM Service Manual Online
For 1990-2009 cars only
Makes
🢒
Chevrolet
🢒
2004
🢒
Corvette
🢒
Transmission/Transaxle
🢒
Manual Transmission - Tremec 6-Speed
🢒 Manual Transmission Schematics
Figure
1:
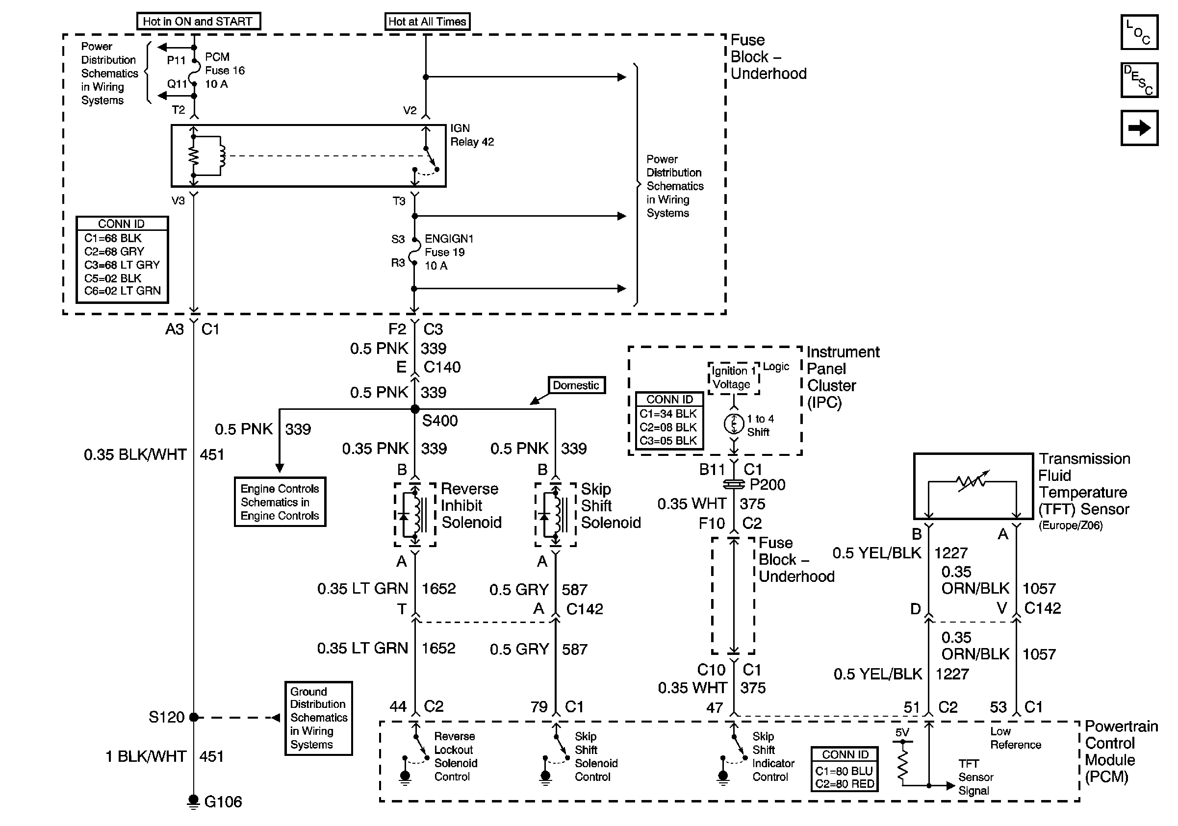
Solenoid Controls and TFT Sensor
Master Electrical Component List
Manual Transmission Description and Operation
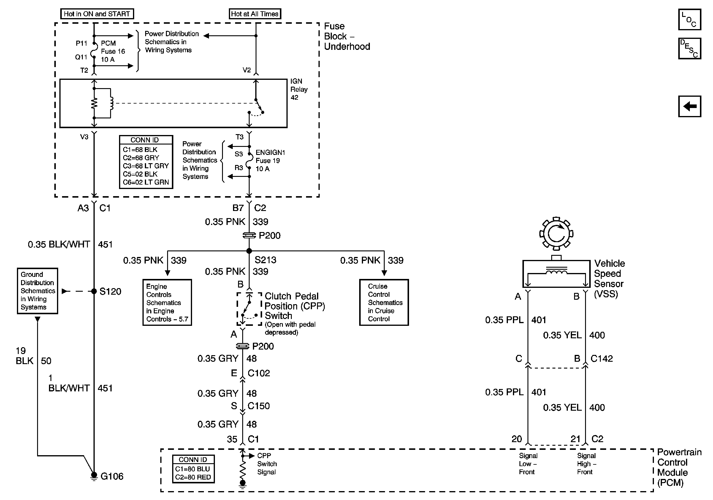
Clutch Pedal Position (CPP) Switch and Vehicle Speed Sensor (VSS)
Fuse Block-Underhood Fuses 14, 13, 16, 15, 5 and Relays 43, 44, 35 and 42
Fuel Controls - Evap Controls
G106 and G105
Fuse Block-Underhood Bussing (2 of 2)
Figure
2:
Clutch Pedal Positon (CPP) Switch and Vehicle Speed Sensor (VSS)
Master Electrical Component List
Manual Transmission Description and Operation
Solenoid Controls and TFT Sensor
Fuse Block-Underhood Bussing (2 of 2)
Fuse Block-Underhood Fuses 14, 13, 16, 15, 5 and Relays 43, 44, 35 and 42
G106 and G105
Engine Data Sensors - Pressure, Temperature and VSS
Power, Ground and Stoplamp Switch