GM Service Manual Online
For 1990-2009 cars only

Tools Required

J 39400-A Halogen Leak Detector

Removal Procedure


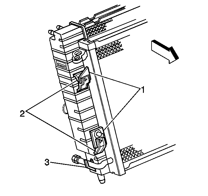
    Object Number: 297294  Size: SH
  1. Recover the refrigerant from the A/C system. Refer to Refrigerant Recovery and Recharging .
  2. Remove the upper radiator support. Refer to Radiator Support Replacement in Engine Cooling.
  3. Remove the front evaporator tube to condenser bolt.
  4. Important: Cap or tape off the A/C components immediately to prevent system contamination.

  5. Disconnect the front evaporator tube from the condenser.
  6. Remove and discard the O-ring.
  7. Cap or tape the open evaporator tube and the condenser.
  8. Reposition the front evaporator tube.
  9. Raise and support the vehicle. Refer to Lifting and Jacking the Vehicle in General Information.
  10. Important: Prior to removal, take note of the compressor hose routing and orientation between the compressor and condenser.


    Object Number: 297225  Size: SH
  11. Using a back-up wrench on the condenser fitting (2), loosen the compressor hose fitting (1) from the condenser.
  12. Cap or tape the open compressor hose and the condenser.

  13. Object Number: 82073  Size: SH
  14. Disconnect the compressor hose from the condenser.
  15. Remove and discard the O-ring.

  16. Object Number: 296225  Size: SH
  17. Lower the vehicle.
  18. Remove the radiator air baffle. Refer to Radiator Air Baffle Assemblies and Deflectors in Engine Cooling.
  19. Raise the condenser along the radiator to release the condenser tabs (1) from the radiator slots (2).

  20. Object Number: 628097  Size: SH
  21. Remove the condenser from the vehicle.
  22. Inspect the condenser insulators along the LH and RH front edges of the condenser for wear or damage.

Installation Procedure

    Important: If replacing the condenser, add the refrigerant oil to the condenser. Refer to Refrigerant System Capacities for system capacity information.


    Object Number: 296222  Size: SH
  1. Replace the condenser insulators (2), if necessary:
  2. 1.1. Remove all traces of the old insulators.
    1.2. Using isopropyl alcohol, or equivalent, wipe clean the front surface of the condenser LH and RH edges.
    1.3. Remove the paper backing (1) from the new insulators (2).
    1.4. Align and install the insulators (2) while keeping a gap (3) of 1 mm (0.039 in) between the insulators (2) and the inner edges of the condenser, as shown.

    Object Number: 628097  Size: SH
  3. Position the condenser into the vehicle.
  4. Install the condenser to the radiator so that the condenser is above the installed position.


    Object Number: 296225  Size: SH
  5. Lower the condenser to secure the condenser tabs (1) to the radiator slots (2).
  6. Install the radiator air baffle. Refer to Radiator Air Baffle Assemblies and Deflectors in Engine Cooling.
  7. Raise and support the vehicle.
  8. Remove the cap or tape from the compressor hose and the condenser.
  9. Install a new O-ring. Refer to O-Ring Replacement .

  10. Object Number: 82073  Size: SH
  11. Install the compressor hose to the condenser.

  12. Object Number: 297225  Size: SH

    Notice: Use the correct fastener in the correct location. Replacement fasteners must be the correct part number for that application. Fasteners requiring replacement or fasteners requiring the use of thread locking compound or sealant are identified in the service procedure. Do not use paints, lubricants, or corrosion inhibitors on fasteners or fastener joint surfaces unless specified. These coatings affect fastener torque and joint clamping force and may damage the fastener. Use the correct tightening sequence and specifications when installing fasteners in order to avoid damage to parts and systems.

  13. Using a back-up wrench on the condenser fitting (2), secure the compressor hose fitting (1) to the condenser.
  14. Tighten
    Tighten the fitting to 24 N·m (17 lb ft).

  15. Lower the vehicle.
  16. Remove the cap or tape from the front evaporator tube and the condenser.
  17. Install a new O-ring. Refer to O-Ring Replacement .

  18. Object Number: 297294  Size: SH
  19. Connect the front evaporator tube to the condenser.
  20. Install the evaporator tube to condenser bolt.
  21. Tighten
    Tighten the bolt to 27 N·m (20 lb ft).

  22. Install the upper radiator support. Refer to Radiator Support Replacement in Engine Cooling.
  23. Evacuate and recharge the A/C system. Refer to Refrigerant Recovery and Recharging .
  24. Leak test the fittings of the component using J 39400-A .