GM Service Manual Online
For 1990-2009 cars only
Makes
🢒
Chevrolet
🢒
2004
🢒
Corvette
🢒 Air Delivery/Temperature Controls
Air Delivery/Temperature Controls
Air Delivery/Temperature Controls
Master Electrical Component List
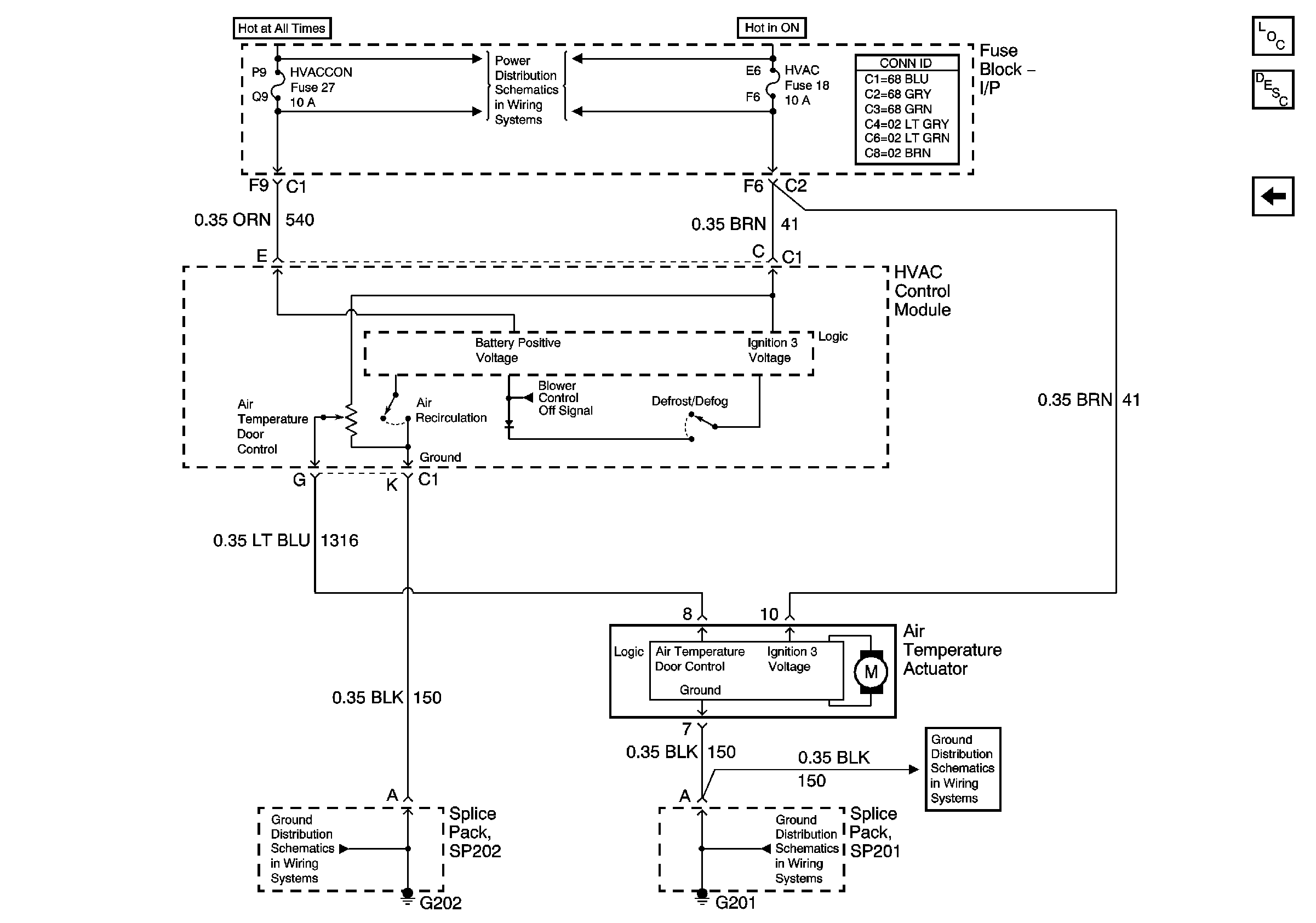
Air Temperature Description and Operation
Air Delivery/Temperature Controls (Vacuum Routing)
Compressor Controls
Fuse Block-I/P Bussing (1 of 2)
G202
G201
G201