GM Service Manual Online
For 1990-2009 cars only
Makes
🢒
Chevrolet
🢒
2004
🢒
Corvette
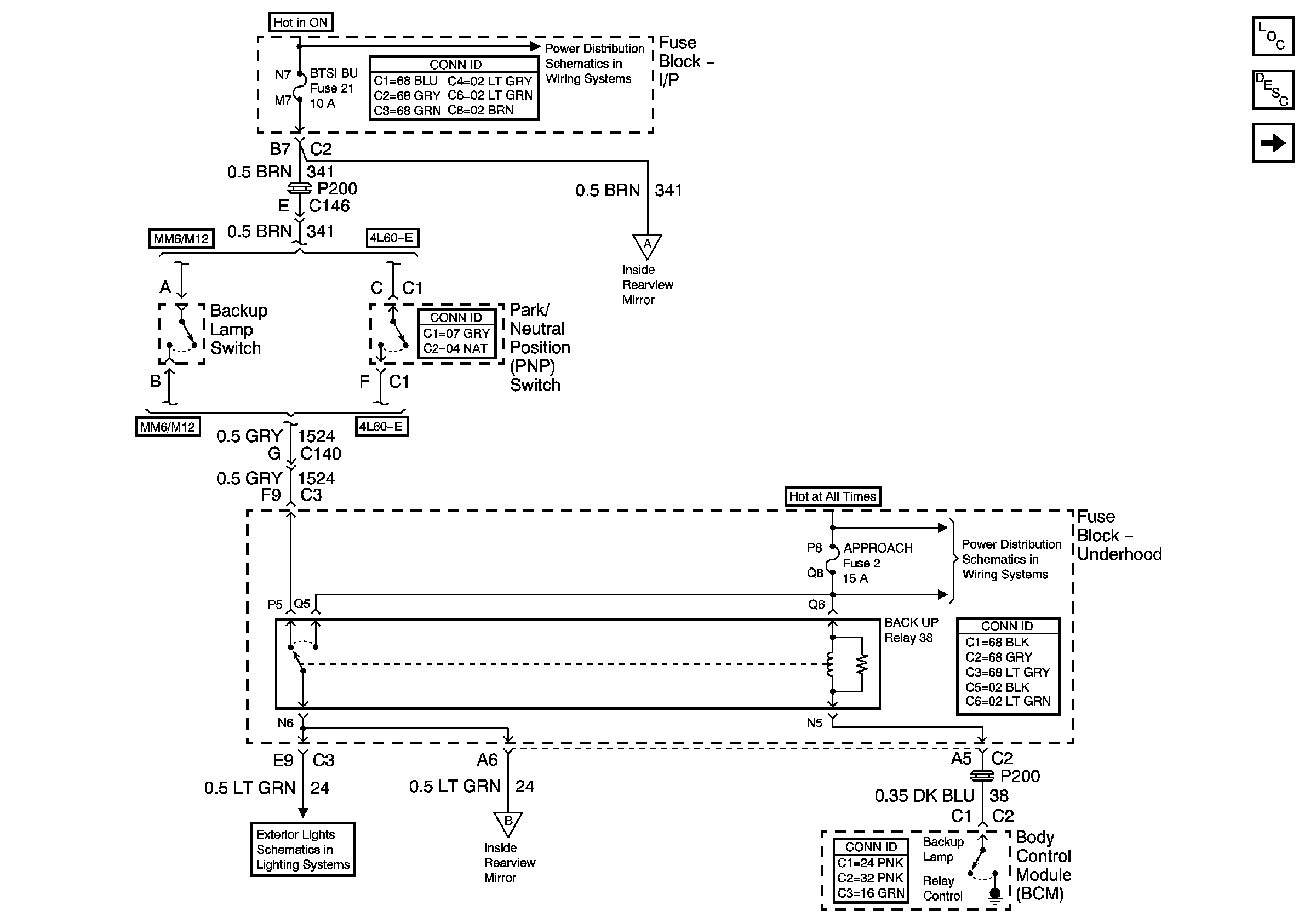
🢒 Backup Lamp Signal
Backup Lamp Signal
Backup Lamp Signal
Master Electrical Component List
Automatic Day-Night Mirror Description and Operation
Headlight and Photo Sensors
Fuse Block-I/P Fuses 50, 14, 21, 22, 18 and Relay 44
Headlight and Photo Sensors
Rear Parklamps Export
Headlight and Photo Sensors
Fuse Block-Underhood Bussing 1 of 2