GM Service Manual Online
For 1990-2009 cars only
Makes
🢒
Chevrolet
🢒
2004
🢒
Corvette
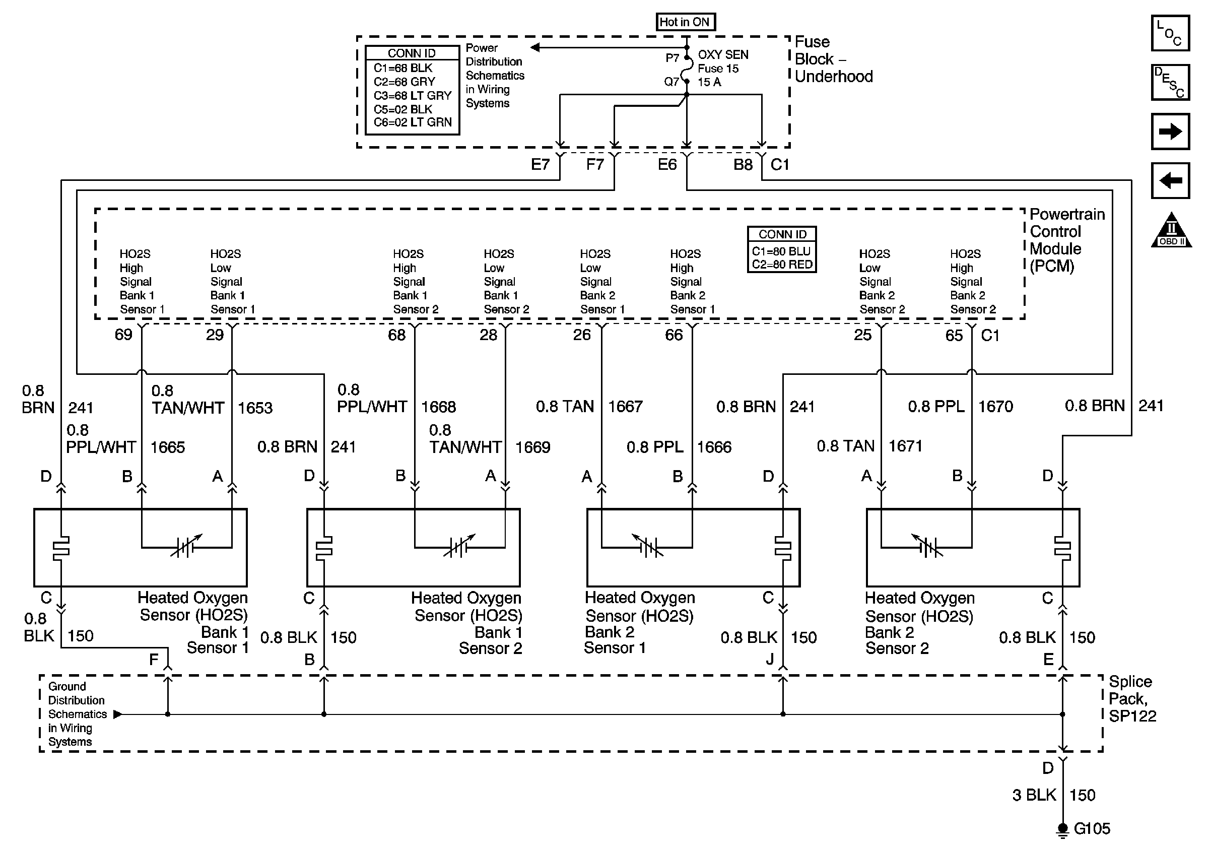
🢒 Engine Data Sensors - HO2S
Engine Data Sensors - HO2S
Engine Data Sensors -- HO2S
Master Electrical Component List
Powertrain Control Module Description
Power,Ground TAC Motor,Module and TP Sensor
Engine Data Sensors - MAF and Extended Brake Switch
Engine Controls Schematic Icons
Underhood Electrical Center Fuses 14, 13, 16, 15, 5 and Relays 43,44, 35 and 42
G106 and G105