GM Service Manual Online
For 1990-2009 cars only
Makes
🢒
Chevrolet
🢒
2004
🢒
Corvette
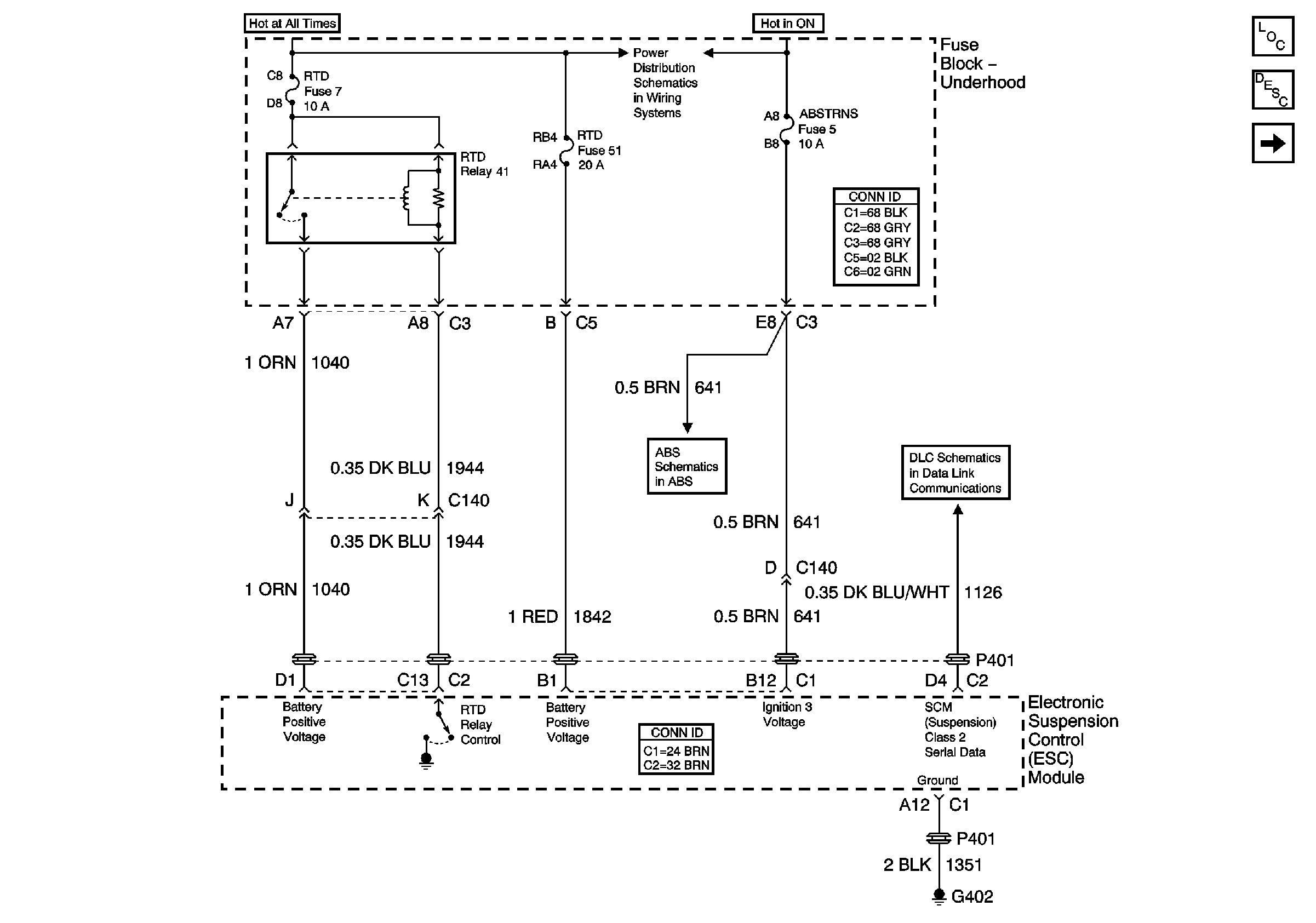
🢒 02 Y-Car: Suspension Controls Schematics (Power,Ground and DLC)
02 Y-Car: Suspension Controls Schematics (Power,Ground and DLC)
Power, Ground and DLC
Master Electrical Component List
Real Time Damping Description and Operation
ESC and Traction/Suspension Control Switch
Underhood Electrical Center Bussing (1 of 2)
Power,Ground and Stoplamp Switch Signal
Star Connectors