GM Service Manual Online
For 1990-2009 cars only
Makes
🢒
Chevrolet
🢒
2004
🢒
Corvette
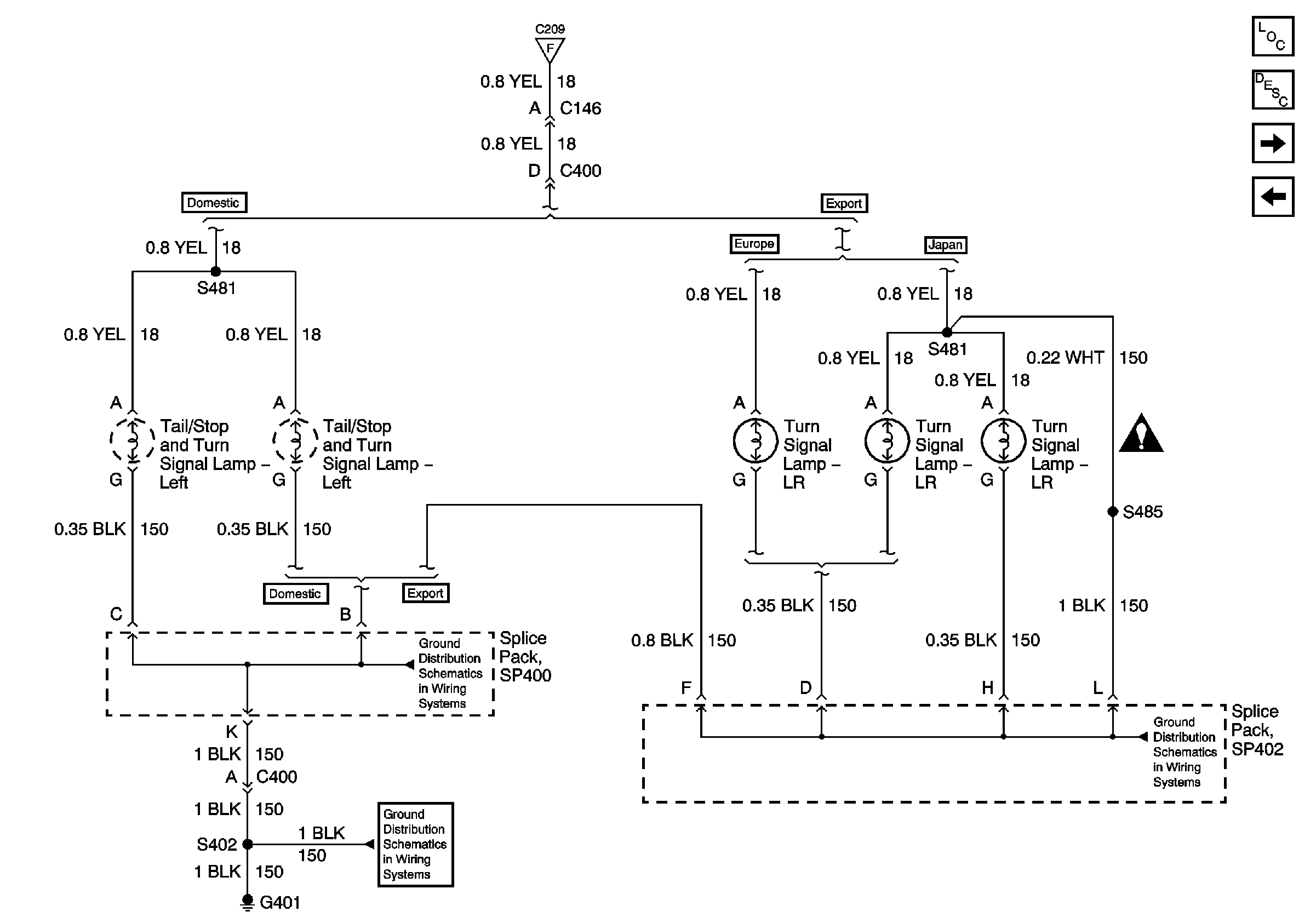
🢒 LR Turn Signal Indicators
LR Turn Signal Indicators
LR Turn Signal Indicators
Master Electrical Component List
Exterior Lighting Systems Description and Operation
Stoplamp Switch and Center High Mount Stoplamp (CHMSL)
RR Turn Signal Indicators
Hazard Warning Switch and Turn Signal Switch
G401
G401
Lighting Systems Schematic Icons
SP 402 (Japan)