| Table 1: | Engine Control Module (ECM) - C1 (MM6) |
| Table 2: | Engine Control Module (ECM) - C1 (M32) |
| Table 3: | Engine Control Module (ECM) - C2 |
| Table 4: | Engine Control Module (ECM) - C3 (MM6) |
| Table 5: | Engine Control Module (ECM) - C3 (M32) |
| |||||||||
|---|---|---|---|---|---|---|---|---|---|
Connector Part Information |
| ||||||||
Pin | Wire Color | Circuit No. | Function | ||||||
1 | TN/BK | 2500 | High Speed GMLAN Serial Data Bus+ | ||||||
2 | TN | 2501 | High Speed GMLAN Serial Data Bus- | ||||||
3 | -- | -- | Not Used | ||||||
4 | BN/WH | 419 | MIL Control | ||||||
5-6 | -- | -- | Not Used | ||||||
7 | BN | 1271 | Low Reference | ||||||
8 | PU | 1272 | Low Reference | ||||||
9 | -- | -- | Not Used | ||||||
10 | WH/BK | 448 | Ignition 1 Relay Control | ||||||
11-12 | -- | -- | Not Used | ||||||
13 | YE/BK | 625 | Starter Enable Relay Control | ||||||
14 | PK | 439 | Ignition 1 Voltage | ||||||
15-17 | -- | -- | Not Used | ||||||
18 | YE | 43 | Accessory Voltage | ||||||
19 | PK | 1439 | Ignition 1 Voltage | ||||||
20 | RD/WH | 2440 | Battery Positive Voltage | ||||||
21 | D-GN/WH | 817 | Vehicle Speed Signal | ||||||
22 | D-BU | 1161 | APP Sensor 1 Signal | ||||||
23 | -- | -- | Not Used | ||||||
24 | D-GN | 890 | Fuel Tank Pressure Sensor Signal | ||||||
25 | -- | -- | Not Used | ||||||
26 | OG/BK | 380 | A/C Refrigerant Pressure Sensor Signal | ||||||
27-28 | -- | -- | Not Used | ||||||
29 | TN | 1274 | 5-Volt Reference | ||||||
30 | GY | 2700 | 5-Volt Reference | ||||||
31 | GY | 2709 | 5-Volt Reference | ||||||
32 | WH | 17 | Stop Lamp Switch Signal | ||||||
33-34 | -- | -- | Not Used | ||||||
35 | WH/BK | 1164 | 5-Volt Reference | ||||||
36 | D-GN | 335 | Cooling Fan Speed Control | ||||||
37 | D-BU | 1936 | Fuel Level Sensor Signal - Primary | ||||||
38 | -- | -- | Not Used | ||||||
39 | L-BU | 1937 | Fuel Level Sensor Signal - Secondary | ||||||
40 | -- | -- | Not Used | ||||||
41 | L-BU | 1162 | APP Sensor 2 Signal | ||||||
42 | L-GN | 1652 | Reverse Lockout Solenoid Control | ||||||
43 | GY | 48 | CPP Switch Signal | ||||||
44 | -- | -- | Not Used | ||||||
45 | D-GN/WH | 465 | Fuel Pump Relay Control - Primary | ||||||
46-47 | -- | -- | Not Used | ||||||
48 | WH | 121 | Engine Speed Signal | ||||||
49-50 | -- | -- | Not Used | ||||||
51 | PU/WH | 1035 | Starter Relay Coil Supply Voltage | ||||||
52-53 | -- | -- | Not Used | ||||||
54 | WH | 1310 | EVAP Canister Vent Solenoid Control | ||||||
55 | BK/WH | 2751 | Low Reference | ||||||
56 | -- | -- | Not Used | ||||||
| |||||||||
|---|---|---|---|---|---|---|---|---|---|
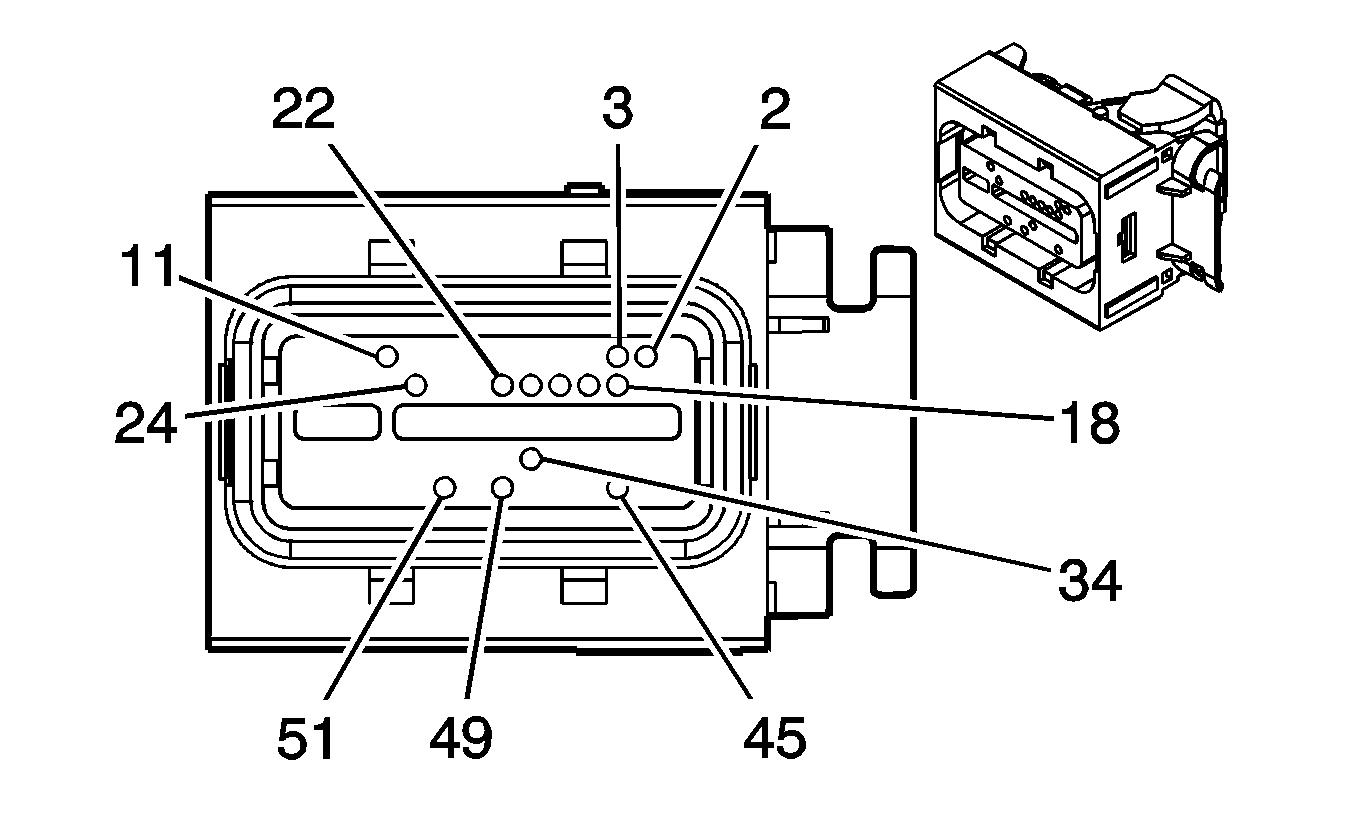
Connector Part Information |
| ||||||||
Pin | Wire Color | Circuit No. | Function | ||||||
1 | TN/BK | 2500 | High Speed GMLAN Serial Data Bus+ | ||||||
2 | TN | 2501 | High Speed GMLAN Serial Data Bus- | ||||||
3 | -- | -- | Not Used | ||||||
4 | BN/WH | 419 | MIL Control | ||||||
5-6 | -- | -- | Not Used | ||||||
7 | BN | 1271 | Low Reference | ||||||
8 | PU | 1272 | Low Reference | ||||||
9 | -- | -- | Not Used | ||||||
10 | WH/BK | 448 | Ignition 1 Relay Control | ||||||
11-12 | -- | -- | Not Used | ||||||
13 | YE/BK | 625 | Starter Enable Relay Control | ||||||
14 | PK | 439 | Ignition 1 Voltage | ||||||
15-17 | -- | -- | Not Used | ||||||
18 | YE | 43 | Accessory Voltage | ||||||
19 | PK | 1439 | Ignition 1 Voltage | ||||||
20 | RD/WH | 2440 | Battery Positive Voltage | ||||||
21 | D-GN/WH | 817 | Vehicle Speed Signal | ||||||
22 | D-BU | 1161 | APP Sensor 1 Signal | ||||||
23 | -- | -- | Not Used | ||||||
24 | D-GN | 890 | Fuel Tank Pressure Sensor Signal | ||||||
25 | -- | -- | Not Used | ||||||
26 | OG/BK | 380 | A/C Refrigerant Pressure Sensor Signal | ||||||
27-28 | -- | -- | Not Used | ||||||
29 | TN | 1274 | 5-Volt Reference | ||||||
30 | GY | 2700 | 5-Volt Reference | ||||||
31 | GY | 2709 | 5-Volt Reference | ||||||
32 | WH | 17 | Stop Lamp Switch Signal | ||||||
33-34 | -- | -- | Not Used | ||||||
35 | WH/BK | 1164 | 5-Volt Reference | ||||||
36 | D-GN | 335 | Cooling Fan Speed Control | ||||||
37 | D-BU | 1936 | Fuel Level Sensor Signal - Primary | ||||||
38 | -- | -- | Not Used | ||||||
39 | L-BU | 1937 | Fuel Level Sensor Signal - Secondary | ||||||
40 | -- | -- | Not Used | ||||||
41 | L-BU | 1162 | APP Sensor 2 Signal | ||||||
42-44 | -- | -- | Not Used | ||||||
45 | D-GN/WH | 465 | Fuel Pump Relay Control - Primary | ||||||
46-47 | -- | -- | Not Used | ||||||
48 | WH | 121 | Engine Speed Signal | ||||||
49-53 | -- | -- | Not Used | ||||||
54 | WH | 1310 | EVAP Canister Vent Solenoid Control | ||||||
55 | BK/WH | 2751 | Low Reference | ||||||
56 | -- | -- | Not Used | ||||||
| |||||||||
|---|---|---|---|---|---|---|---|---|---|
Connector Part Information |
| ||||||||
Pin | Wire Color | Circuit No. | Function | ||||||
1 | L-GN | 3212 | HO2S Heater Low Control - Bank 2 Sensor 1 | ||||||
2 | GY/WH | 3113 | HO2S Heater Low Control - Bank 1 Sensor 1 | ||||||
3 | -- | -- | Not Used | ||||||
4 | D-BU/WH | 878 | Fuel Injector 8 Control | ||||||
5 | TN | 1744 | Fuel Injector 1 Control | ||||||
6 | L-GN/BK | 1745 | Fuel Injector 2 Control | ||||||
7 | OG/BK | 877 | Fuel Injector 7 Control | ||||||
8 | L-BU/BK | 844 | Fuel Injector 4 Control | ||||||
9 | PK/BK | 1746 | Fuel Injector 3 Control | ||||||
10 | TN/WH | 845 | Fuel Injector 5 Control | ||||||
11-12 | -- | -- | Not Used | ||||||
13 | YE/BK | 846 | Fuel Injector 6 Control | ||||||
14 | YE/BK | 1868 | Low Reference | ||||||
15 | PK/BK | 632 | Low Reference | ||||||
16 | BN | 2129 | Low Reference | ||||||
17-19 | -- | -- | Not Used | ||||||
20 | OG/BK | 469 | Low Reference | ||||||
21 | BK | 2755 | Low Reference | ||||||
22-23 | -- | -- | Not Used | ||||||
24 | TN/WH | 331 | Oil Pressure Sensor Signal | ||||||
25 | -- | -- | Not Used | ||||||
26 | BN/WH | 633 | CMP Sensor Signal | ||||||
27 | BN | 1174 | Oil Level Switch Signal | ||||||
28 | -- | -- | Not Used | ||||||
29 | PU | 486 | TP Sensor 2 Signal | ||||||
30 | -- | -- | Not Used | ||||||
31 | D-GN | 485 | TP Sensor 1 Signal | ||||||
32-34 | -- | -- | Not Used | ||||||
35 | GY | 2704 | 5-Volt Reference | ||||||
36 | TN/WH | 1704 | Low Reference | ||||||
37 | GY | 2705 | 5-Volt Reference | ||||||
38-40 | -- | -- | Not Used | ||||||
41 | L-BU/BK | 1688 | 5-Volt Reference | ||||||
42 | -- | -- | Not Used | ||||||
43 | L-GN | 1867 | 12-Volt Reference | ||||||
44 | OG | 631 | 12-Volt Reference | ||||||
45 | GY | 23 | Generator Field Duty Cycle Signal | ||||||
46 | L-GN | 432 | MAP Sensor Signal | ||||||
47 | -- | -- | Not Used | ||||||
48 | PU/WH | 1665 | HO2S High Signal - Bank 1 Sensor 1 | ||||||
49 | TN | 1664 | HO2S Low Signal - Bank 1 Sensor 1 | ||||||
50 | D-GN/WH | 428 | EVAP Canister Purge Solenoid Control | ||||||
51 | PU | 1666 | HO2S High Signal - Bank 2 Sensor 1 | ||||||
52 | TN | 2761 | Low Reference | ||||||
53 | OG | 2127 | IC 7 Control | ||||||
54 | PU | 2121 | IC 1 Control | ||||||
55 | YE | 410 | ECT Sensor Signal | ||||||
56 | OG | 225 | Generator Turn On Signal | ||||||
57 | L-BU/WH | 2126 | IC 6 Control | ||||||
58 | D-GN/WH | 2124 | IC 4 Control | ||||||
59 | D-GN | 2125 | IC 5 Control | ||||||
60 | BN | 582 | TAC Motor Control - 2 | ||||||
61 | L-BU | 2123 | IC 3 Control | ||||||
62 | D-BU/WH | 1869 | CKP Sensor Signal | ||||||
63 | YE | 581 | TAC Motor Control - 1 | ||||||
64 | BN/WH | 2130 | Low Reference | ||||||
65 | PU/WH | 2128 | IC 8 Control | ||||||
66 | OG/WH | 2122 | IC 2 Control | ||||||
67 | -- | -- | Not Used | ||||||
68 | D-BU | 496 | Knock Sensor 1 Signal | ||||||
69 | GY | 1716 | Low Reference | ||||||
70 | TN | 1667 | HO2S Low Signal - Bank 2 Sensor 1 | ||||||
71 | GY | 2303 | Low Reference | ||||||
72 | L-BU | 1876 | Knock Sensor 2 Signal | ||||||
73 | BK/WH | 451 | Ground | ||||||
| |||||||||
|---|---|---|---|---|---|---|---|---|---|
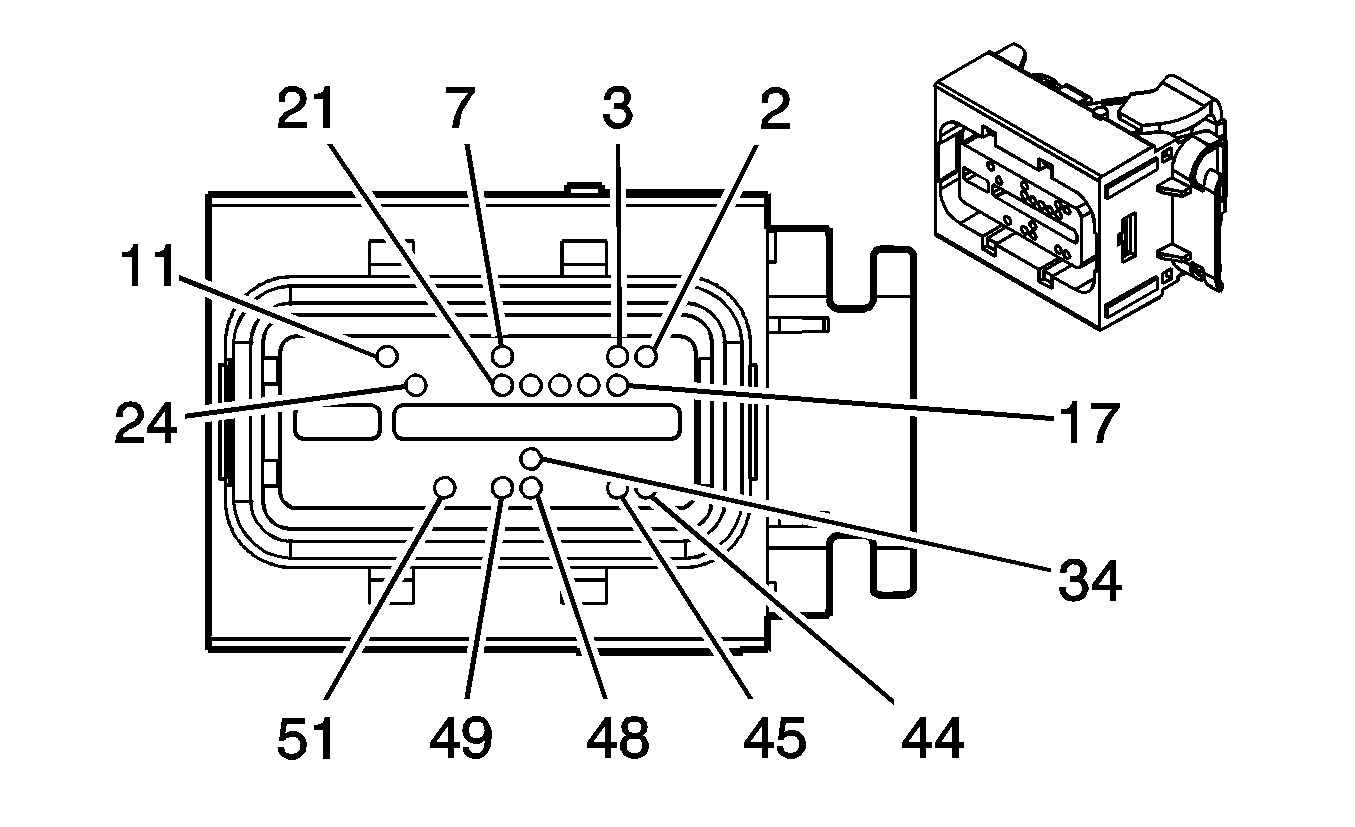
Connector Part Information |
| ||||||||
Pin | Wire Color | Circuit No. | Function | ||||||
1 | -- | -- | Not Used | ||||||
2 | BN | 2391 | HO2S Heater Low Control - Bank 1 Sensor 2 | ||||||
3 | OG/WH | 3223 | HO2S Heater Low Control - Bank 2 Sensor 2 | ||||||
4-6 | -- | -- | Not Used | ||||||
7 | YE/BK | 1227 | Low Reference | ||||||
8-10 | -- | -- | Not Used | ||||||
11 | YE | 492 | MAF Sensor Signal | ||||||
12-16 | -- | -- | Not Used | ||||||
17 | TN | 452 | Low Reference | ||||||
18 | TN/WH | 1669 | HO2S Low Signal Bank 1 Sensor 2 | ||||||
19 | PU/WH | 1668 | HO2S High Signal Bank 1 Sensor 2 | ||||||
20 | PU | 1670 | HO2S High Signal Bank 2 Sensor 2 | ||||||
21 | TN | 1671 | HO2S Low Signal Bank 2 Sensor 2 | ||||||
22-23 | -- | -- | Not Used | ||||||
24 | TN | 2760 | Low Reference | ||||||
25-33 | -- | -- | Not Used | ||||||
34 | TN | 472 | IAT Sensor Signal | ||||||
35-43 | -- | -- | Not Used | ||||||
44 | PU | 401 | VSS Low Signal | ||||||
45 | YE | 400 | VSS High Signal | ||||||
46-47 | -- | -- | Not Used | ||||||
48 | GY | 587 | Skip/Shift Solenoid Control | ||||||
49 | TN | 2759 | Low Reference | ||||||
50 | -- | -- | Not Used | ||||||
51 | D-GN/WH | 459 | A/C Compressor Clutch Relay Control | ||||||
52-56 | -- | -- | Not Used | ||||||
| |||||||||
|---|---|---|---|---|---|---|---|---|---|
Connector Part Information |
| ||||||||
Pin | Wire Color | Circuit No. | Function | ||||||
1 | -- | -- | Not Used | ||||||
2 | BN | 2391 | HO2S Heater Low Control - Bank 1 Sensor 2 | ||||||
3 | OG/WH | 3223 | HO2S Heater Low Control - Bank 2 Sensor 2 | ||||||
4-10 | -- | -- | Not Used | ||||||
11 | YE | 492 | MAF Sensor Signal | ||||||
12-17 | -- | -- | Not Used | ||||||
18 | TN/WH | 1669 | HO2S Low Signal Bank 1 Sensor 2 | ||||||
19 | PU/WH | 1668 | HO2S High Signal Bank 1 Sensor 2 | ||||||
20 | PU | 1670 | HO2S High Signal Bank 2 Sensor 2 | ||||||
21 | TN | 1671 | HO2S Low Signal Bank 2 Sensor 2 | ||||||
22 | OG/BK | 1786 | Park/Neutral Signal | ||||||
23 | -- | -- | Not Used | ||||||
24 | TN | 2760 | Low Reference | ||||||
25-33 | -- | -- | Not Used | ||||||
34 | TN | 472 | IAT Sensor Signal | ||||||
35-44 | -- | -- | Not Used | ||||||
45 | OG | 381 | Vehicle Speed Signal | ||||||
46-48 | -- | -- | Not Used | ||||||
49 | TN | 2759 | Low Reference | ||||||
50 | -- | -- | Not Used | ||||||
51 | D-GN/WH | 459 | A/C Compressor Clutch Relay Control | ||||||
52-56 | -- | -- | Not Used | ||||||