GM Service Manual Online
For 1990-2009 cars only

    Caution: Refer to Fuel Rail Stop Bracket Installation Caution in the Preface section.


    Object Number: 1408855  Size: SH

    Important: 

       • The intake manifold, throttle body, fuel injection rail and fuel injectors may be removed as an assembly. If not servicing the individual components, remove the intake manifold as a complete assembly.
       • Do not separate the fuel injectors from the fuel rail, unless component service is required.
       • Use cleanliness and care when handling the fuel system components. Do not allow dirt or debris to enter the fuel injectors or fuel rail components. Cap ends, as necessary.

  1. Note the location of the fuel rail ground strap (557).

  2. Object Number: 1408856  Size: SH
  3. Remove the bolts (511, 512), ground strap (557), and fuel rail with injectors (510). Lift evenly on both sides of the fuel rail until all injectors have left their bores.

  4. Object Number: 1408857  Size: SH
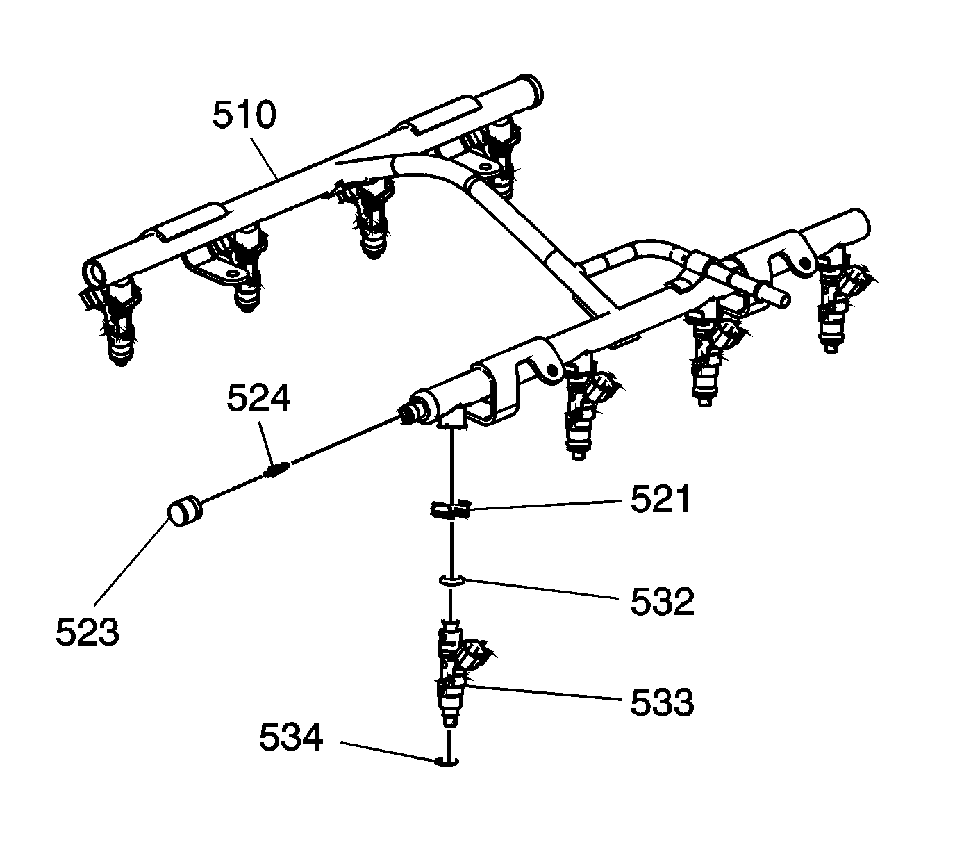
  5. Remove the fuel injectors (533) and retainers (521).
  6. Remove the O-rings (532, 534), as required.
  7. Remove the cap (523) and service valve (524), as required.