GM Service Manual Online
For 1990-2009 cars only

Object Number: 1505820  Size: SH

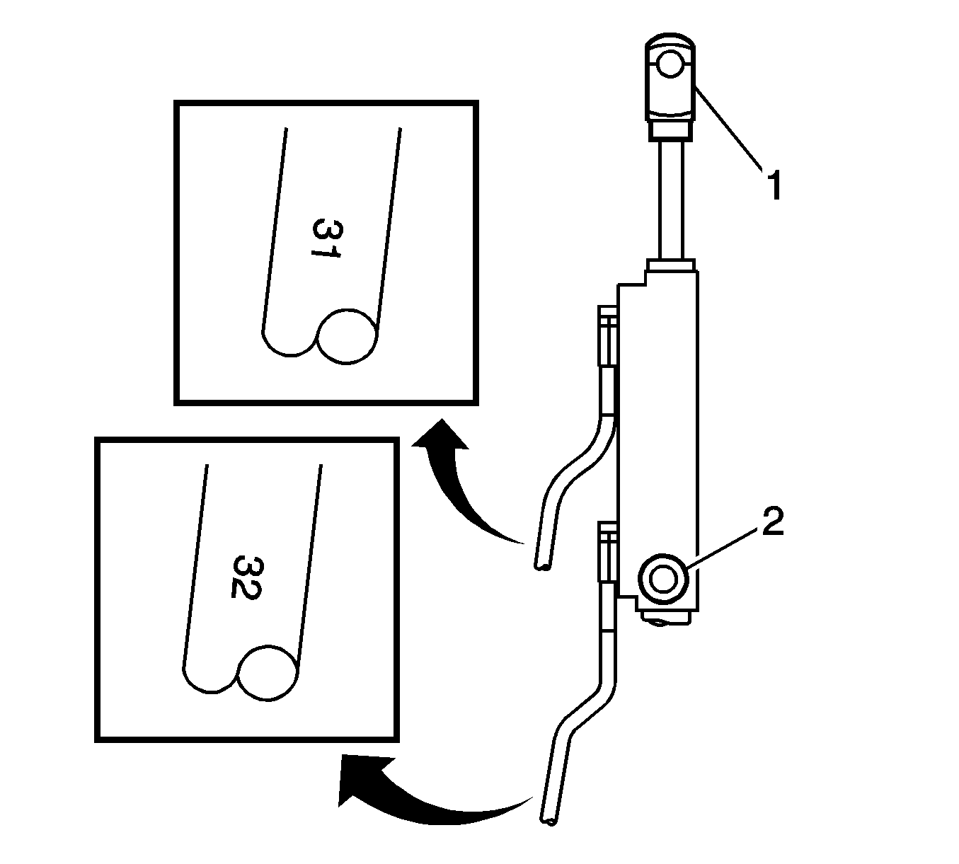
Each cylinder is serviced by 2 hoses:

    • The rod end (1)
    • The closed end (2)

Object Number: 1505813  Size: SF

Each hose has an identification number stamped on the cylinder side and on the pump side near the connection point. Corresponding numbers are also stamped on the pump manifold plate to aid in identification.

The following chart identifies the hose that supplies fluid to each specific cylinder.

Folding Top Hydraulic Cylinder Hose Identification Chart

Hydraulic Cylinders

Hose Location and Number

Rod End

Closed End

Folding Top Main Hydraulic Cylinder Hose

11 - Left

13 - Right

12 - Left

14 - Right

Folding Top Center Rail Hydraulic Cylinder Hose

21 - Left

23 - Right

22 - Left

24 - Right

Folding Top Storage Compartment Panel Hydraulic Cylinder Hose - Rear

31 - Left

33 - Right

32 - Left

34 - Right