GM Service Manual Online
For 1990-2009 cars only

Object Number: 1492081  Size: LF

Callout

Component Name

Notice: Refer to Fastener Notice in the Preface section.

Fastener Tightening Specifications: Refer to Fastener Tightening Specifications .

Fascia Replacement

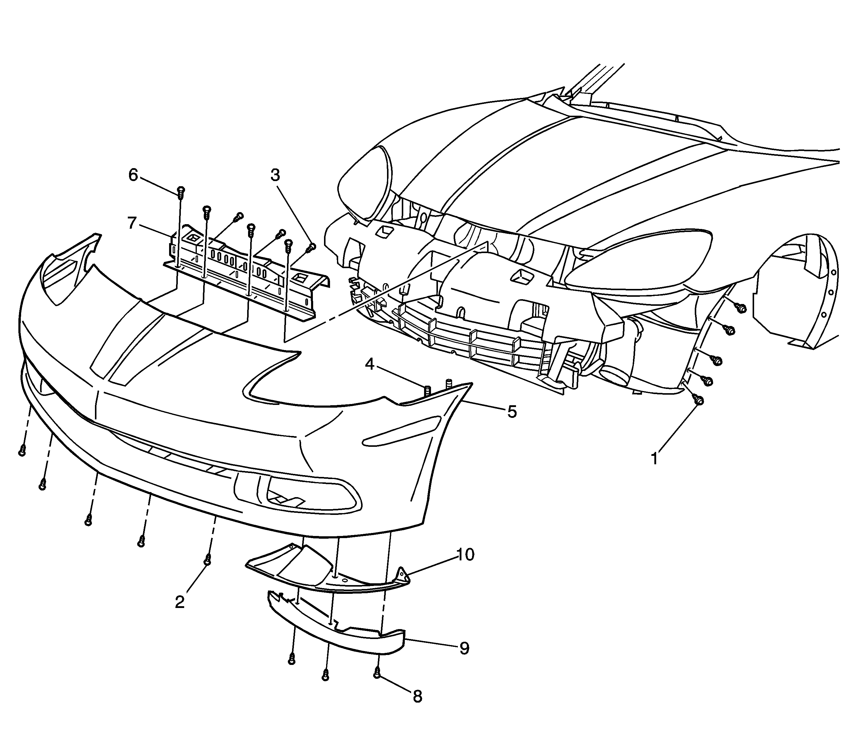
1

Retainer, Front Wheelhouse (Qty: 5)

2

Bolt, Fascia (Qty: 5)

Tighten
7 N·m (62 lb in)

3

Bolt, Fascia Upper Bracket (Qty: 3)

Tighten
7 N·m (62 lb in)

4

Nut, Fascia (Qty: 4)

Tighten
5 N·m (44 lb in)

5

Fascia, Front Bumper Fascia

6

Bolt, Fascia Upper Bracket (Qty: 4)

Tighten
7 N·m (62 lb in)

7

Bracket, Fascia Support Bracket

Front Bumper Valance Replacement

8

Bolt, Valance (Qty: 3)

Tighten
7 N·m (62 lb in)

9

Valance, Front Bumper Valance

Fascia Close Out Panel Replacement

8

Bolt, Valance (Qty: 3)

Tighten
7 N·m (62 lb in)

9

Valance, Front Bumper Valance

10

Panel, Fascia Close Panel