GM Service Manual Online
For 1990-2009 cars only

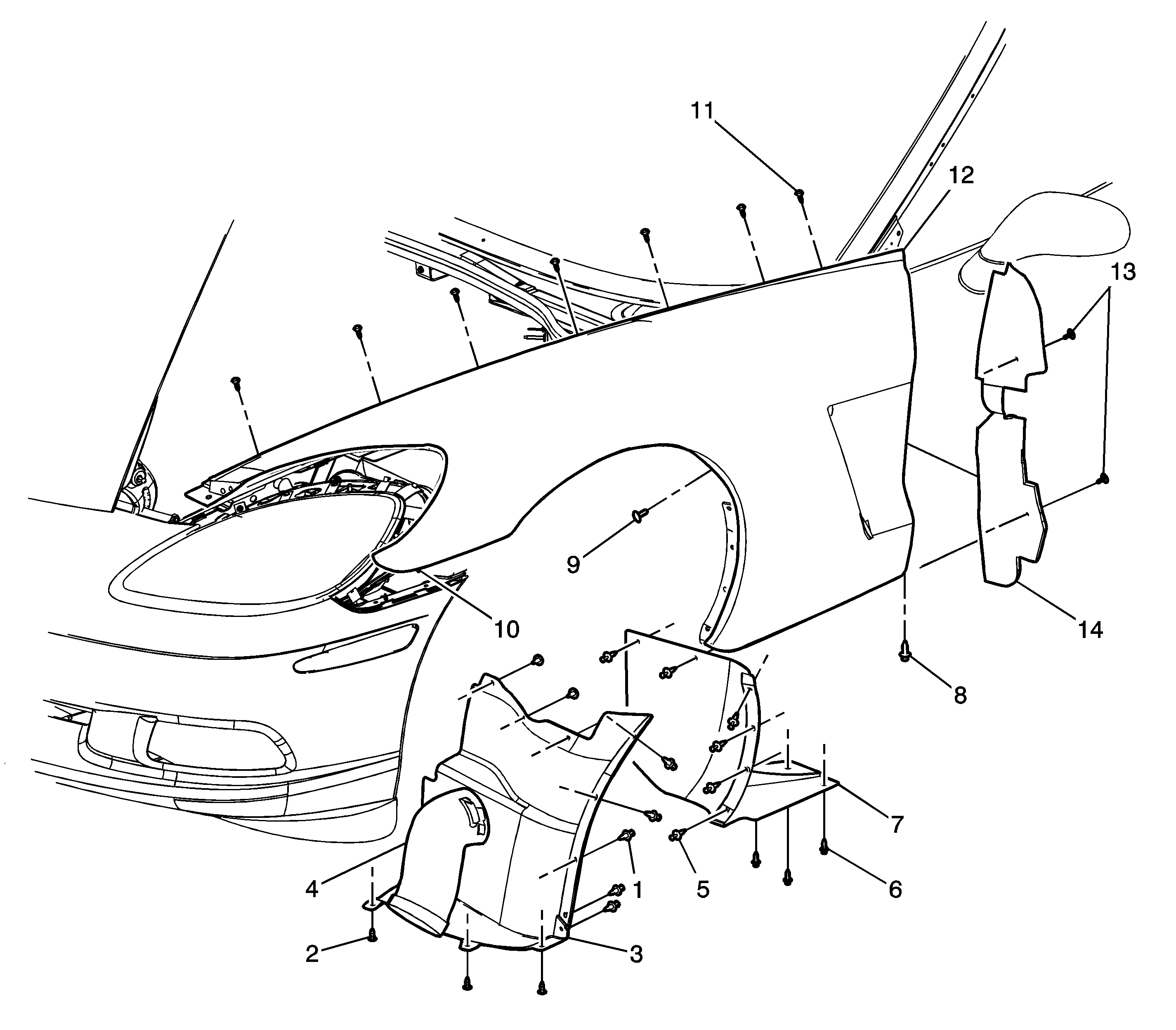
Object Number: 1499843  Size: LF

Callout

Component Name

Notice: Refer to Fastener Notice in the Preface section.

Fastener Tightening Specifications: Refer to Fastener Tightening Specifications .

Front Wheelhouse Liner Replacement - Front

Preliminary Procedures

  1. Lift and support the vehicle. Refer to Lifting and Jacking the Vehicle .
  2. Remove the tire and wheel assembly. Refer to Tire and Wheel Removal and Installation .

1

Retainer, Front Wheel House Liner (Qty: 7)

2

Screw, Front Wheel House Liner (Qty: 3)

Tighten
9 N·m (80 lb in)

3

Liner, Front Wheelhouse

Brake Caliper Cooling Duct

Preliminary Procedures

  1. Lift and support the vehicle. Refer to Lifting and Jacking the Vehicle .
  2. Remove the tire and wheel assembly. Refer to Tire and Wheel Removal and Installation .

1

Retainer, Front Wheel House Liner (Qty: 7)

2

Screw, Front Wheel House Liner (Qty: 3)

Tighten
9 N·m (80 lb in)

3

Liner, Front Wheelhouse

4

Brake Caliper Cooling Duct

Tip
Turn the brake caliper cooling duct counterclockwise to disengage tab.

Rear Wheelhouse Liner Replacement

Preliminary Procedures

  1. Lift and support the vehicle. Refer to Lifting and Jacking the Vehicle .
  2. Remove the tire and wheel assembly. Refer to Tire and Wheel Removal and Installation .

5

Retainer, Rear Wheel House Liner (Qty: 6)

6

Screw Wheel House Liner (Qty: 3)

Tighten
9 N·m (80 lb in)

7

Liner, Rear Wheelhouse

Fender Assembly Replacement

Preliminary Procedures

  1. Lift and support the vehicle. Refer to Lifting and Jacking the Vehicle .
  2. Remove the tire and wheel assembly. Refer to Tire and Wheel Removal and Installation .

1

Retainer, Front Wheel House Liner (Qty: 7)

2

Screw, Front Wheel House Liner (Qty: 3)

Tighten
9 N·m (80 lb in)

3

Liner, Front Wheelhouse

5

Retainer, Rear Wheel House Liner (Qty: 6)

6

Screw, Rear Wheel House Liner (Qty: 3)

Tighten
9 N·m (80 lb in)

7

Liner, Rear Wheelhouse

8

Bolt, Fender

Tighten
2 N·m (18 lb in)

9

Bolt, Fender

Tighten
2 N·m (18 lb in)

10

Nut, Fender (Qty: 2)

Tighten
7 N·m (62 lb in)

11

Bolt, Fender (Qty: 7)

Tighten
2 N·m (18 lb in)

12

Fender Assembly

Front Fender Insulator Assembly Replacement

13

Retainer, Front Fender Insulator (Qty: 2)

14

Insulator Assembly, Front Fender