GM Service Manual Online
For 1990-2009 cars only

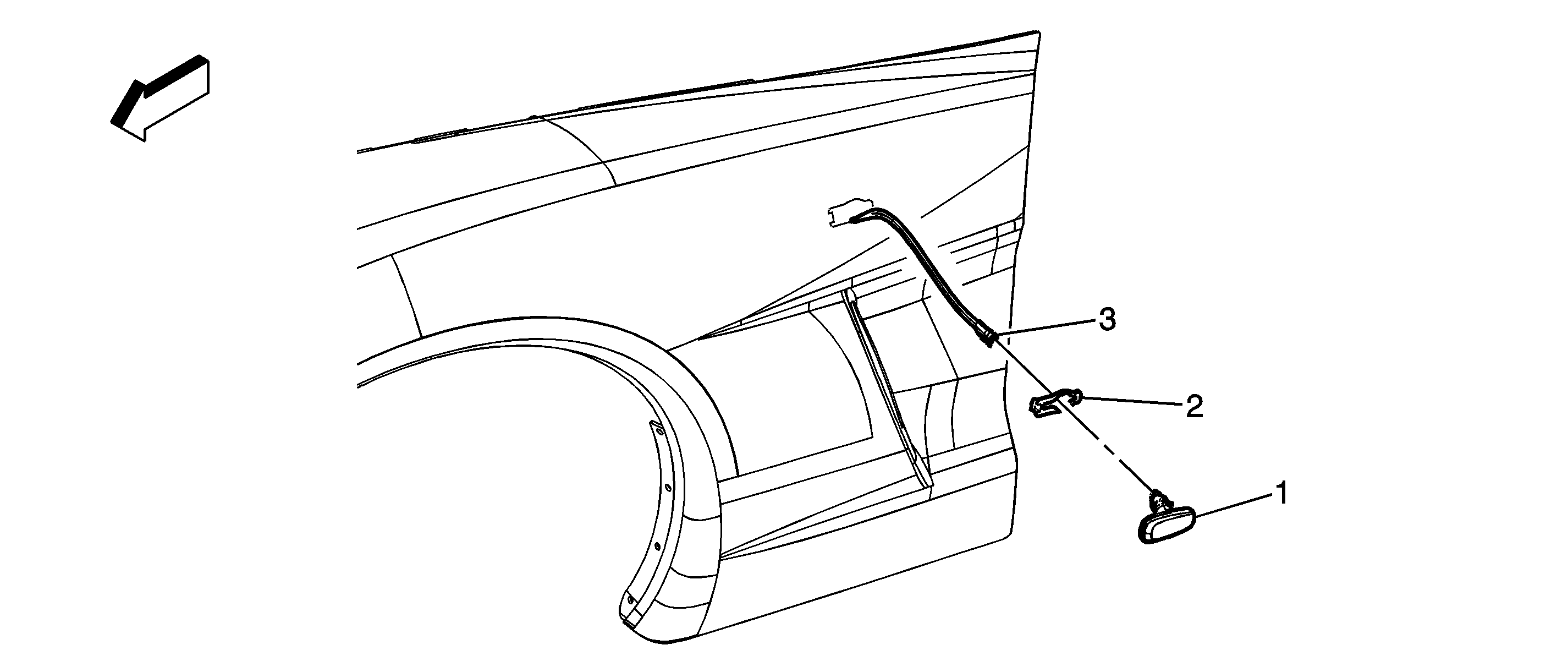
Turn Signal Lamp Replacement Front Side Fender


Object Number: 1656308  Size: SF

Callout

Component Name

Fastener Tightening Specifications: Refer to Fastener Tightening Specifications .

1

Front Turn Signal Lamp Assembly

  1. Gently pry the lamp rearward from the front fender bracket.
  2. Twist lamp socket counterclockwise in order to remove the lamp socket bulb.

2

Front Turn Signal Lamp Bracket

3

Front Turn Signal Lamp Electrical Connector

Tip
Disconnect from the turn signal lamp assembly.