GM Service Manual Online
For 1990-2009 cars only
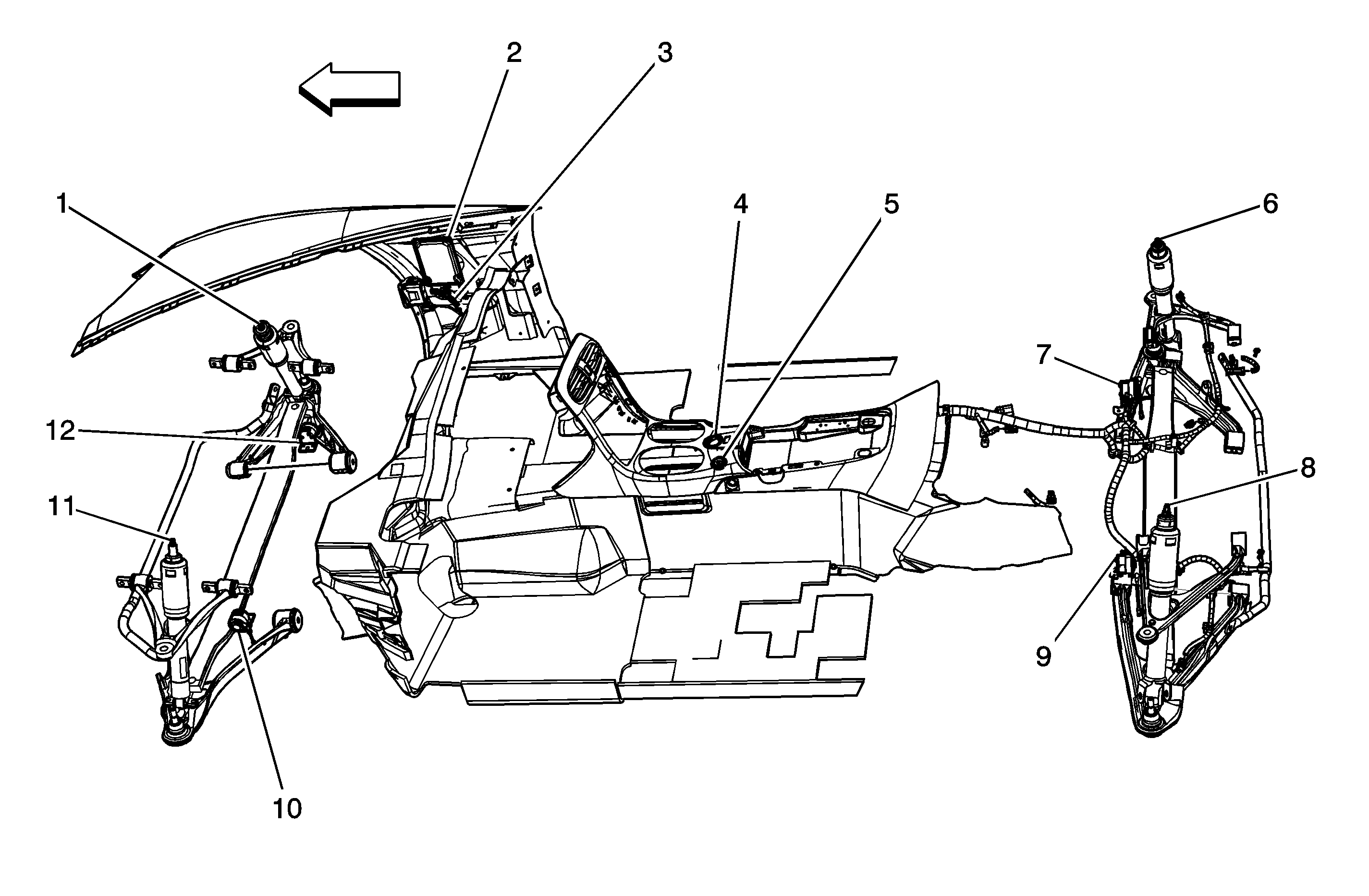
Figure 1:

Suspension Components


Object Number: 1479639  Size: MF
(1)Suspension Damper - RF
(2)Electronic Suspension Control (ESC) Module
(3)Transmission Harness
(4)Suspension Control Switch
(5)Traction Control Switch
(6)Suspension Damper - RR
(7)Suspension Position Sensor - RR
(8)Suspension Damper - LR
(9)Suspension Position Sensor - LR
(10)Suspension Position Sensor - LF
(11)Suspension Damper - LF
(12)Suspension Position Sensor - RF
Figure 2:

Suspension Position Sensors and Dampers


Object Number: 1485883  Size: LF
(1)Suspension Damper - RF
(2)Suspension Position Sensor - RF
(3)Suspension Damper - RR
(4)Suspension Position Sensor - RR
(5)Suspension Damper - LR
(6)Suspension Position Sensor - LR
(7)Suspension Damper - LF
(8)Suspension Position Sensor - LF