GM Service Manual Online
For 1990-2009 cars only
Figure 1:

Front Top Center of Headliner


Object Number: 1653867  Size: LF
(1)Intrusion Sensor Defeat Switch (UA2)
(2)Intrusion Sensor (UA2)
(3)Windshield
Figure 2:

Engine Compartment Area


Object Number: 1488860  Size: LF
(1)Underhood Lamp
(2)Hood Ajar Switch (UA2)
(3)Hood Release Handle
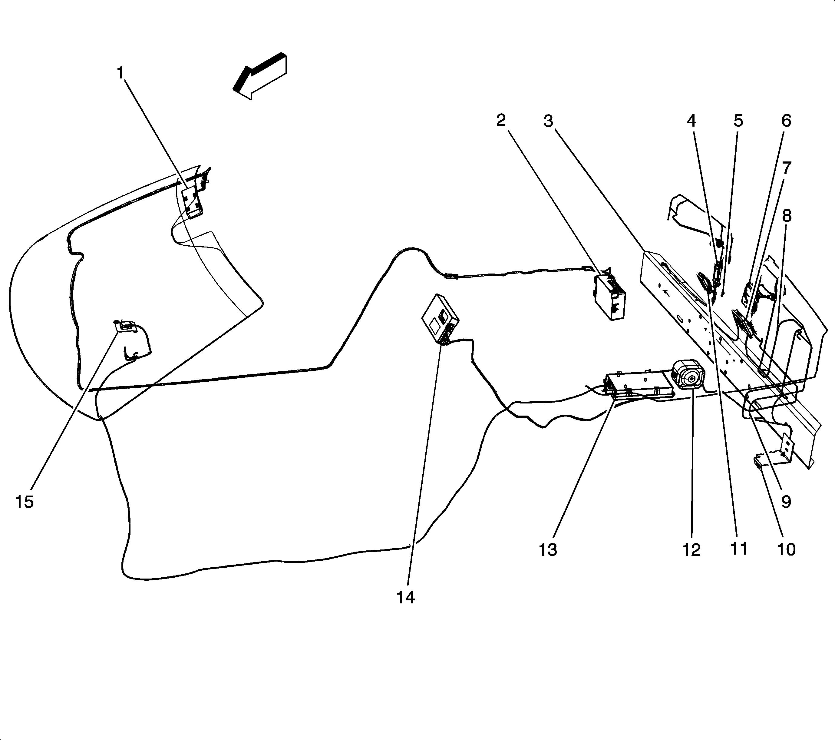
Figure 3:

Antennas and Antenna Modules


Object Number: 1698017  Size: LF
(1)Cellular and Navigational Antenna
(2)Vehicle Communication Interface Module (VCIM) (UE1)
(3)Radio Antenna Module - Case Ground
(4)Radio Antenna Module - Right (Convertible)
(5)Radio Antenna Module - Case Ground
(6)Vehicle Communication Interface Module (VCIM)
(7)Radio Antenna Module - Left (Coupe)
(8)Loop Antenna (Convertible)
(9)Loop Antenna (Coupe)
(10)Loop Antenna Ground
(11)Radio Antenna Module - Right (Coupe)
(12)Theft Deterrent Alarm Siren (UA2)
(13)Digital Radio Receiver (Coupe)
(14)Digital Radio Receiver (Convertible)
(15)Global Positioning System (GPS) Antenna (U3U)