GM Service Manual Online
For 1990-2009 cars only
Makes
🢒
Chevrolet
🢒
2007
🢒
Corvette
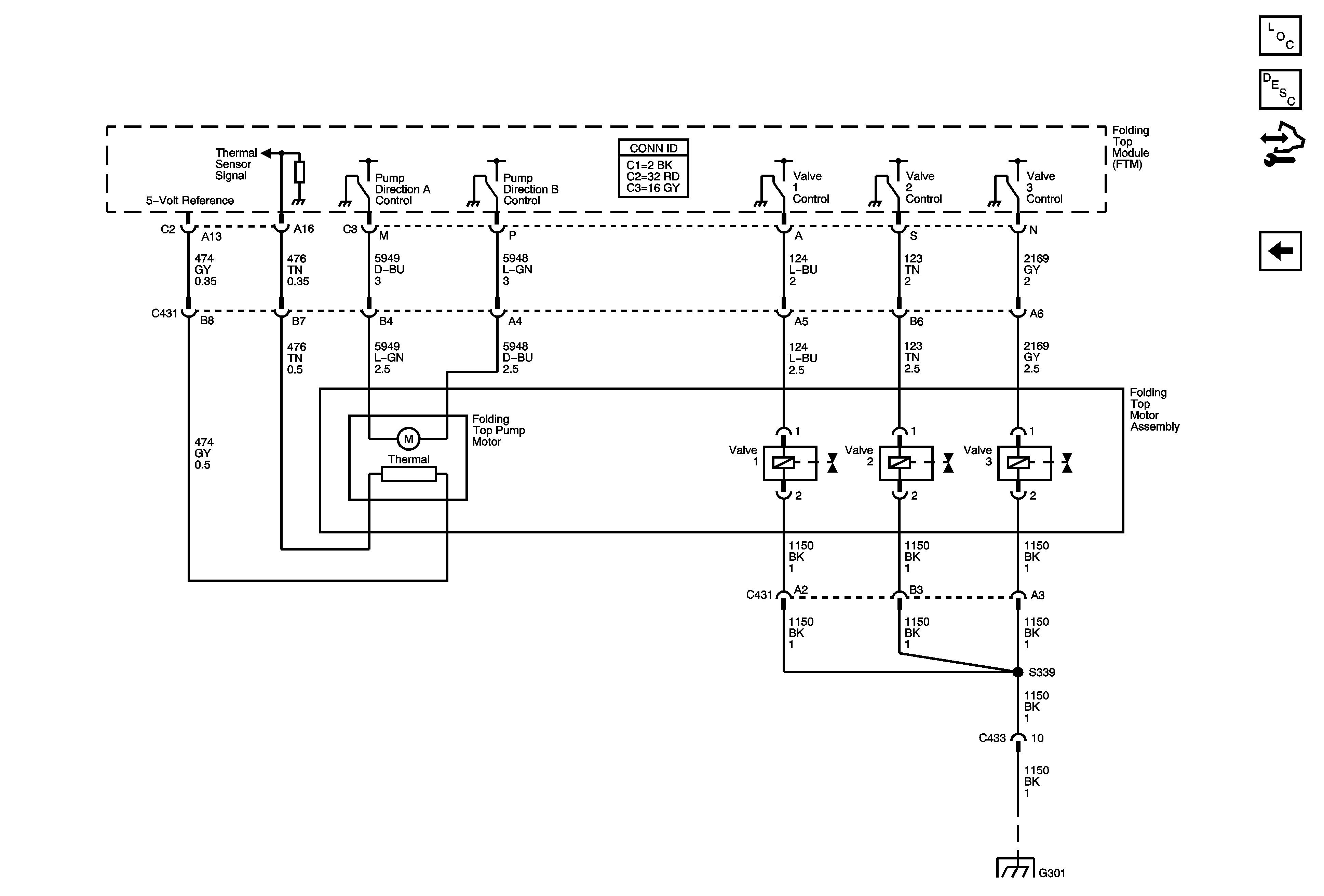
🢒 Pump and Valves (CM7)
Pump and Valves (CM7)
Pump and Valves (CM7)
Master Electrical Component List
Power Folding Top Description and Operation
Control Module References
Switches (CM7)
G301