GM Service Manual Online
For 1990-2009 cars only
Makes
🢒
Chevrolet
🢒
2007
🢒
Corvette
🢒 Navigation except Japan
Navigation except Japan
Navigation Except Japan
Master Electrical Component List
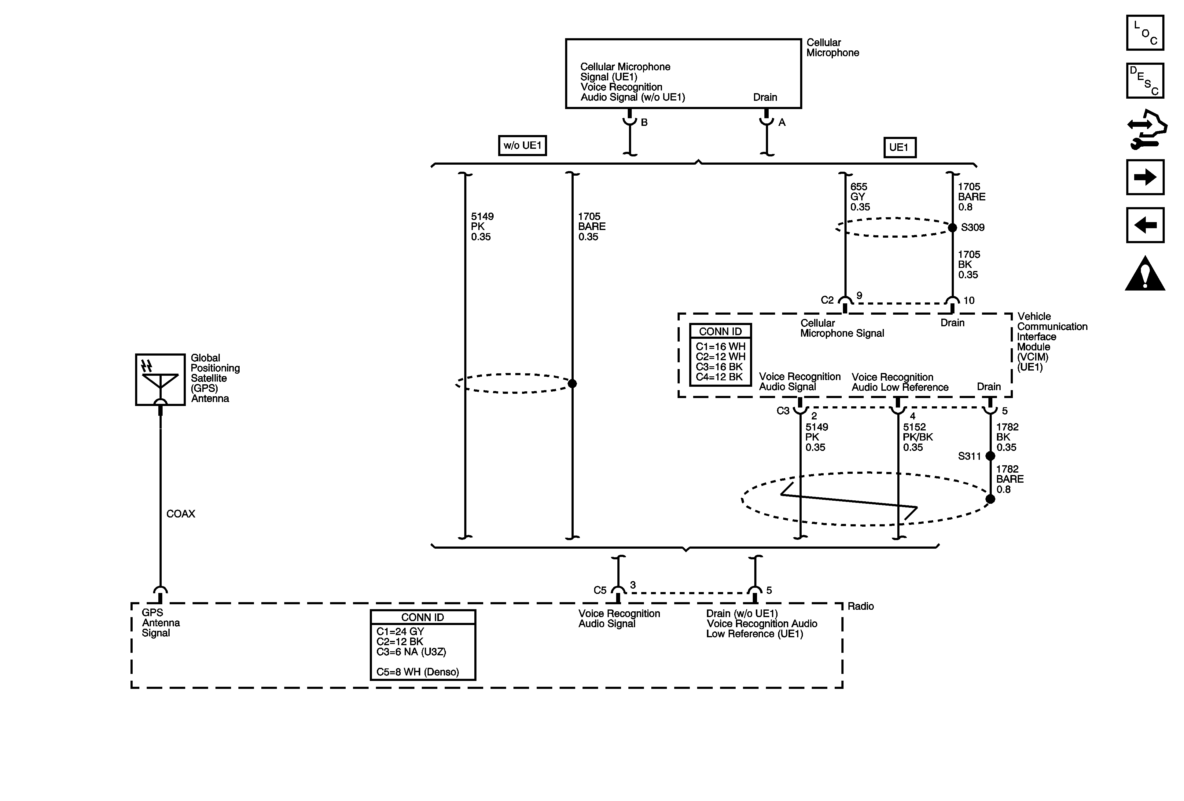
Navigation System Description and Operation
Control Module References
Navigation - Japan (U3Z)
Steering Wheel Controls (UK3)
Entertainment/Communication Schematic Icons