GM Service Manual Online
For 1990-2009 cars only

Disassembled Views 7.0L

Figure 1:

Intake Manifold/Upper Engine


Object Number: 1552417  Size: LF
(100)Engine Block
(307)Engine Coolant Air Bleed Pipe
(308)Engine Coolant Air Bleed Pipe Seal
(308)Engine Coolant Air Bleed Pipe Seal
(309)Bolt
(312)Bolt
(313)Engine Coolant Air Bleed Pipe Hole Cover
(500)Intake Manifold
(506)Bolt
(508)Throttle Body
(509)Throttle Body Seal
(510)Fuel Rail Assembly - Multi-Port
(511)Bolt
(512)Bolt
(513)Intake Manifold Seal
(514)Intake Manifold Gasket
(537)Engine Block Valley Cover High Pressure Port Seal
(538)Bolt
(555)Engine Block Valley Cover
(556)Engine Block Valley Cover Gasket
(557)Fuel Injection Fuel Rail Bracket
(700)Positive Crankcase Ventilation (PCV) Tube - Fresh Air
(706)Engine Oil Pressure Sensor
(707)Engine Oil Pressure Sensor Seal
(712)Fuel Injection Fuel Rail Stop
(712)Fuel Injection Fuel Rail Stop
(714)Manifold Absolute Pressure (MAP) Sensor
(715)MAP Sensor Seal
(716)PCV Hose - Dirty Air
(729)Evaporative (EVAP) Emission Canister Purge Tube
(730)EVAP Canister Purge Solenoid Valve
(731)EVAP Service Valve Cap
(734)EVAP Service Valve
(735)EVAP Canister Purge Tube
(740)EVAP Canister Purge Tube Clip
(741)EVAP Canister Purge Solenoid Valve Bracket
(742)Bolt
Figure 2:

Cylinder Head/Upper Engine


Object Number: 1552418  Size: LF
(100)Engine Block
(209)Valve Lifter
(210)Valve Lifter Guide
(211)Bolt
(212)Valve Pushrod
(213)Valve Rocker Arm
(214)Bolt
(217)Cylinder Head Gasket
(218)Cylinder Head
(220)Cylinder Head Bolt - M11
(221)Cylinder Head Bolt - M8
(222)Valve Stem Oil Seal
(223)Valve Spring
(224)Valve Spring Cap
(225)Valve Stem Key
(227)Intake Valve
(228)Exhaust Valve
(229)Cylinder Head Plug
(230)Cylinder Head Locating Pin
(234)Valve Rocker Arm Wear Pad - Intake Valve
(424)Oil Cap
(450)Oil Cap O-Ring Seal
(504)Valve Rocker Arm Cover Gasket
(504)Valve Rocker Arm Cover Gasket
(505)Valve Rocker Arm Cover
(505)Valve Rocker Arm Cover
(515)Bolt Grommet
(516)Bolt
(559)Engine Cover Stud
(600)Exhaust Manifold
(601)Exhaust Manifold Gasket
(602)Bolt
(603)Exhaust Manifold Heat Shield
(604)Bolt
(605)Stud
(700)Positive Crankcase Ventilation (PCV) Tube - Fresh Air
(719)Ignition Coil Bracket
(720)Stud
(721)Ignition Coil Wire Harness Assembly
(722)Ignition Coil
(723)Bolt
(724)Spark Plug Wire
(725)Coolant Temperature Sensor
(726)Spark Plug
Figure 3:

Front of Engine


Object Number: 1552419  Size: LF
(100)Engine Block
(138)Crankshaft Balancer
(139)Bolt
(140)Crankshaft Front Oil Seal
(143)Balancer Weight - Crankshaft Balancer
(200)Camshaft
(201)Camshaft Bearings
(202)Camshaft Sprocket Locating Pin
(203)Camshaft Retainer
(204)Bolt
(205)Camshaft Sprocket
(206)Bolt
(207)Crankshaft Sprocket
(208)Timing Chain
(231)Bolt
(232)Timing Chain Dampener
(233)Crankshaft Balancer Washer
(300)Water Pump
(301)Bolt
(302)Bolt
(303)Water Inlet Housing
(304)Water Inlet Seal
(305)Engine Coolant Thermostat
(306)Water Pump Gasket
(408)Bolt
(409)Oil Pump Cover
(410)Oil Pump Gear - Drive
(410)Oil Pump Gear - Drive
(411)Bolt
(412)Oil Pump Gear - Driven
(412)Oil Pump Gear - Driven
(413)Oil Pump Housing - Primary
(414)Oil Pressure Relief Valve
(415)Oil Pressure Relief Valve Spring
(416)Oil Pressure Relief Valve Plug
(456)Oil Pump Housing - Secondary
(501)Bolt
(502)Engine Front Cover
(503)Engine Front Cover Gasket
(703)Camshaft Position (CMP) Sensor
(704)CMP Sensor Seal
(705)CMP Sensor Bolt
(737)CMP Sensor Wire Harness
Figure 4:

Rear of Engine


Object Number: 1552421  Size: MF
(100)Engine Block
(123)Transmission Pilot Bearing
(132)Washer
(133)Bolt
(134)Flywheel - Manual Transmission
(135)Clutch Drive Plate - Manual Transmission
(136)Clutch Pressure Plate - Manual Transmission
(137)Bolt
(141)Crankshaft Rear Oil Seal
(142)Clutch Pressure Plate Locating Pin - Manual Transmission
(144) Balance Weight - Flywheel
(517)Bolt
(518)Crankshaft Rear Oil Seal Housing
(519)Crankshaft Rear Oil Seal Housing Gasket
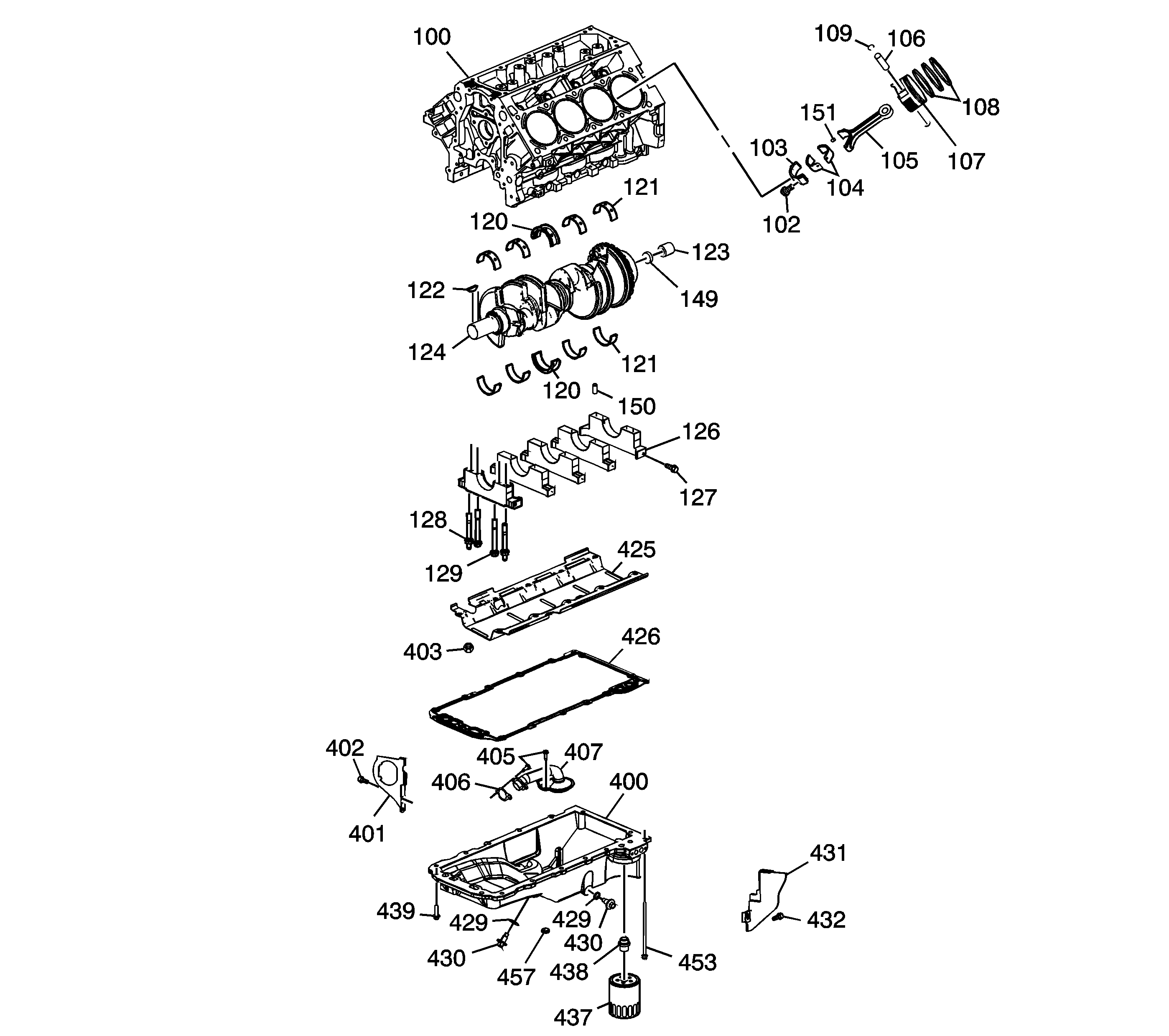
Figure 5:

Lower Engine Assembly


Object Number: 1552424  Size: LF
(100)Engine Block
(102)Bolt
(103)Connecting Rod Cap
(104)Connecting Rod Bearing
(105)Connecting Rod
(106)Piston Pin
(107)Piston
(108)Piston Ring Set
(109)Piston Pin Retainer
(120)Crankshaft Bearing - Thrust
(120)Crankshaft Bearing - Thrust
(121)Crankshaft Bearing
(121)Crankshaft Bearing
(122)Crankshaft Sprocket Key
(123)Transmission Pilot Bearing
(124)Crankshaft
(126)Crankshaft Bearing Cap
(127)Bolt - M8
(128)Stud - M10
(129)Bolt - M10
(149)Crankshaft Hole Plug
(150)Crankshaft Bearing Cap Locating Pin
(151)Connecting Rod Cap Locating Pin
(400)Oil Pan
(401)Engine Cover - Right
(402)Bolt
(403)Crankshaft Oil Deflector Nut
(405)Bolt
(406)Oil Pump Suction Pipe Gasket
(407)Oil Pump Screen
(425)Crankshaft Oil Deflector
(426)Oil Pan Gasket
(429)Oil Pan Drain Plug Seal - O-Ring
(429)Oil Pan Drain Plug Seal - O-Ring
(430)Oil Pan Drain Plug
(430)Oil Pan Drain Plug
(431)Oil Pan Cover - Left
(432)Bolt
(437)Oil Filter
(438)Oil Filter Fitting
(439)Bolt - M8
(453)Bolt - M6
(457)Oil Pan Hole Plug
Figure 6:

Engine Block Plugs/Sensors


Object Number: 1401949  Size: LF
(100)Engine Block
(100)Engine Block
(101)Engine Block Oil Gallery Plug - Front
(110)Engine Block Oil Gallery Plug Seal
(111)Engine Block Oil Gallery Plug - Rear
(112)Engine Block Oil Gallery Plug - Side
(113)Engine Block Oil Gallery Plug Seal
(114)Engine Block Coolant Heater
(115)Engine Block Coolant Heater Seal
(116)Engine Block Oil Gallery Plug - Side
(117)Engine Block Oil Gallery Plug Seal
(130)Transmission Locating Pin
(145)Engine Block Coolant Drain Hole Plug Seal
(146)Engine Block Coolant Drain Hole Plug - Side
(701)Crankshaft Position (CKP) Sensor
(702)CKP Sensor Seal
(718)Knock Sensor
(718)Knock Sensor
(739)Bolt
(739)Bolt
(750)CKP Sensor Bolt
Figure 7:

Oil Pump Assembly


Object Number: 1552425  Size: MF
(408)Bolt
(409)Oil Pump Cover
(410)Oil Pump Gear - Drive
(410)Oil Pump Gear - Drive
(412)Oil Pump Gear - Driven
(412)Oil Pump Gear - Driven
(413)Oil Pump Housing - Primary
(414)Oil Pressure Relief Valve
(415)Oil Pressure Relief Valve Spring
(416)Oil Pressure Relief Valve Plug
(456)Oil Pump Housing - Secondary
Figure 8:

Engine Oil Tank Assembly


Object Number: 1830422  Size: LF
(1)Oil Level Indicator
(2)Oil Fill Cap
(3)O-ring
(4)Tube
(5)Engine Oil Tank - Bottom
(6)Engine Oil Temperature Sensor
(7)Bracket
(8)Bolt
(9)Bolt
(10)Bracket
(11)Screen
(12)O-ring
(13)Bolt
(14)Baffle
(15)Engine Oil Tank - Top
(16)Bolt/Stud
(17)Bolt

Disassembled Views 6.2L

Figure 1:

Intake Manifold/Upper Engine


Object Number: 1875998  Size: LF
(100)Engine Block
(307)Engine Coolant Air Bleed Pipe
(308)Seal
(308)Seal
(309)Bolt
(312)Bolt
(313)Engine Coolant Air Bleed Cover
(500)Intake Manifold
(506)Bolt
(508)Throttle Body
(509)Throttle Body Gasket
(510)Fuel Rail with Injectors
(511)Bolt
(512)Bolt
(513)Seal
(514)Intake Manifold Gasket
(537)Seal
(538)Bolt
(555)Valley Cover
(556)Valley Cover Gasket
(557)Fuel Rail Ground Strap
(706)Oil Pressure Sensor
(707)Washer
(712)Fuel Injection Fuel Rail Stop Bracket
(713)Manifold Absolute Pressure (MAP) Sensor Bolt
(714)MAP Sensor
(715)Seal
(716)Positive Crankcase Ventilation (PCV) Hose - Dirty Air
(729)Evaporative Emission (EVAP) Canister Purge Tube
(730)EVAP Canister Purge Solenoid Valve
(731)Service Valve Cap
(734)Service Valve
(735)EVAP Canister Purge Tube
(740)EVAP Tube Clip
(741)EVAP Purge Valve Bracket
(742)Bolt
Figure 2:

Cylinder Head/Upper Engine


Object Number: 1408840  Size: LF
(100)Engine Block
(209)Valve Lifter
(210)Valve Lifter Guide
(211)Bolt
(212)Pushrod
(213)Valve Rocker Arm
(214)Bolt
(215)Valve Rocker Arm Pivot Support
(216)Core Hole Plug
(217)Cylinder Head Gasket
(218)Cylinder Head
(220)Cylinder Head Bolt - M11
(221)Cylinder Head Bolt - M8
(222)Valve Stem Oil Seal
(223)Valve Spring
(224)Valve Spring Cap
(225)Valve Stem Key
(226)Core Hole Plug
(227)Intake Valve
(228)Exhaust Valve
(229)Cylinder Head Plug
(230)Cylinder Head Locating Pin
(422)O-Ring
(423)Oil Fill Tube
(424)Oil Fill Cap
(450)O-Ring
(504)Valve Rocker Arm Cover Gasket
(504)Valve Rocker Arm Cover Gasket
(505)Valve Rocker Arm Cover
(505)Valve Rocker Arm Cover
(515)Bolt Grommet
(516)Bolt
(558)Plug
(600)Exhaust Manifold
(601)Exhaust Manifold Gasket
(602)Bolt
(603)Exhaust Manifold Heat Shield
(604)Bolt
(605)Stud
(700)Positive Crankcase Ventilation (PCV) Hose - Fresh Air
(719)Ignition Coil Bracket
(720)Stud
(721)Ignition Coil Wire Harness Assembly
(722)Ignition Coil
(723)Bolt
(724)Spark Plug Wire
(725)Coolant Temperature Sensor (CTS)
(726)Spark Plug
Figure 3:

Front of Engine


Object Number: 1704618  Size: LF
(1)Bolt
(2)Water Inlet Housing
(3)O-Ring
(4)Thermostat
(5)Bolt
(6)Water Pump
(7)Water Pump Gasket
(8)Oil Level Indicator
(9)O-Ring
(10)Bolt
(11)Oil Level Indicator Tube
(12)O-Ring
(13)Engine Block
(14)Camshaft Bearings
(15)Camshaft
(16)Camshaft Sprocket Locating Pin
(17)Crankshaft Sprocket
(18)Crankshaft Balancer Washer
(19)Camshaft Retainer
(20)Bolt
(21)Camshaft Sprocket
(22)Bolt
(23)Timing Chain
(24)Timing Chain Tensioner
(25)Bolt
(26)Engine Front Cover Gasket
(27)Engine Front Cover
(28)Bolt
(29)Crankshaft Front Oil Seal
(30)Crankshaft Balancer
(31)Bolt
(32)Balance Weight - Crankshaft Balancer
(33)Bolt
(34)Camshaft Position (CMP) Sensor
(35)O-Ring
(36)Bolt
(37)CMP Sensor Wire Harness
(38)Bolt
(39)Oil Pump
(40)Bolt
(41)Oil Pump Housing Cover
(42)Oil Pump Drive Gear
(43)Oil Pump Driven Gear
(44)Oil Pump Housing Plug
(45)Oil Pump Pressure Relief Valve Spring
(46)Oil Pump Pressure Relief Valve
(47)Bolt
(48)O-Ring
(49)Nut
(50)Oil Pump Screen
Figure 4:

Rear of Engine


Object Number: 1408842  Size: LF
(100)Engine Block
(123)Transmission Pilot Bearing - Manual Transmission
(132)Flex Plate - Automatic Transmission
(133)Bolt
(134)Flywheel - Manual Transmission
(135)Clutch Driven Plate - Manual Transmission
(136)Clutch Pressure Plate - Manual Transmission
(137)Bolt
(141)Crankshaft Rear Oil Seal
(142)Clutch Pressure Plate Locating Pin - Manual Transmission
(144)Balance Weight - Flywheel
(517)Bolt
(518)Crankshaft Rear Oil Seal Housing
(519)Crankshaft Rear Oil Seal Housing Gasket
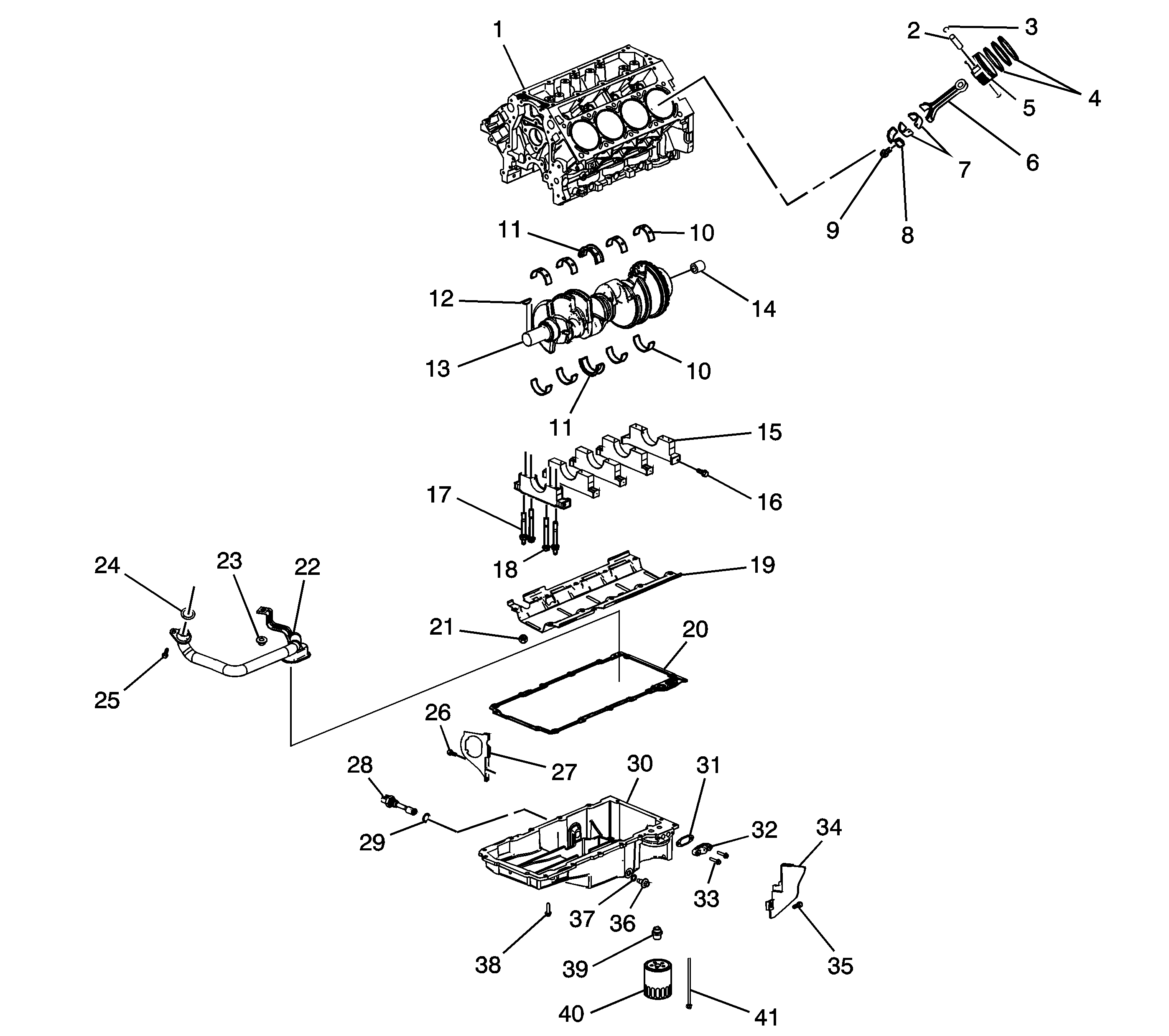
Figure 5:

Lower Engine Assembly


Object Number: 1704619  Size: LF
(1)Engine Block
(2)Piston Pin
(3)Piston Pin Retainer
(4)Piston Rings
(5)Piston
(6)Connecting Rod
(7)Connecting Rod Bearings
(8)Connecting Rod Cap
(9)Bolt
(10)Crankshaft Main Bearing
(10)Crankshaft Main Bearing
(11)Crankshaft Thrust Bearing
(11)Crankshaft Thrust Bearing
(12)Crankshaft Sprocket Key
(13)Crankshaft
(14)Transmission Pilot Bearing - Manual Transmission
(15)Crankshaft Bearing Cap
(16)Bolt - M8
(17)Stud - M10
(18)Bolt - M10
(19)Crankshaft Oil Deflector
(20)Oil Pan Gasket
(21)Nut
(22)Oil Pump Screen
(23)Nut
(24)O-Ring
(25)Bolt
(26)Bolt
(27)Engine Closeout Cover - Right
(28)Oil Level Sensor
(29)O-Ring
(30)Oil Pan
(31)Oil Pan Cover Gasket
(32)Oil Pan Cover
(33)Bolt
(34)Engine Closeout Cover - Left
(35)Bolt
(36)Oil Pan Drain Plug
(37)O-Ring
(38)Bolt
(39)Oil Filter Fitting
(40)Oil Filter
(41)Bolt
Figure 6:

Engine Block Plugs/Sensors


Object Number: 1401949  Size: LF
(100)Engine Block
(100)Engine Block
(101)Oil Gallery Plug - Front
(110)O-Ring
(111)Oil Gallery Plug - Rear
(112)Oil Gallery Plug - Side
(113)Washer
(114)Engine Coolant Heater
(115)Washer
(116)Oil Gallery Plug - Side
(117)Washer
(130)Transmission Housing Locating Pin
(145)Washer
(146)Engine Block Coolant Drain Hole Plug
(701)Crankshaft Position (CKP) Sensor
(702)O-Ring
(718)Knock Sensor
(718)Knock Sensor
(739)Bolt
(739)Bolt
(750)CKP Sensor Bolt
Figure 7:

Oil Pump Assembly


Object Number: 1272779  Size: SF
(408)Bolt
(409)Oil Pump Housing Cover
(410)Oil Pump Drive Gear
(412)Oil Pump Driven Gear
(413)Oil Pump
(414)Oil Pump Pressure Relief Valve
(415)Oil Pump Pressure Relief Valve Spring
(416)Oil Pump Housing Plug