GM Service Manual Online
For 1990-2009 cars only

Special Tools

    • J 36850 Transjel Lubricant
    • J 39437 Bushing Installer

1st/2nd, 3rd/4th Shift Rail Assembly


    Object Number: 1938392  Size: SH
  1. Install the selector pin (2) on the shift shaft (1).
  2. Align the roll pin hole on the selector pin with the roll pin hole on the shift shaft.
  3. Install the roll pin (3) through the selector pin (2) and the shift shaft (1).

  4. Object Number: 1938391  Size: SH

    Important: The interlocking plate fits loosely on the shift shaft and selector pin assembly. Use the J 36850 lubricant to hold the interlocking plate in place.

  5. Install the interlocking plate (2) on the selector pin (1).

  6. Object Number: 1887585  Size: SH
  7. Install the 3rd/4th shift fork (2) on the shift shaft (1).

  8. Object Number: 1887593  Size: SH
  9. Align the notch on the shift link (2) with the selector roll pin (1).

  10. Object Number: 1887583  Size: SH
  11. Install the 1st/2nd shift fork (1) on the shift shaft (2).

  12. Object Number: 1887595  Size: SH
  13. Install the 1st/2nd shift shaft link (1) on top of the 3rd/4th shift shaft link (3) on the interlocking plate and the selector roll pin assembly (2).

5th/6th, Reverse Shift Rail Assembly


    Object Number: 1938404  Size: SH
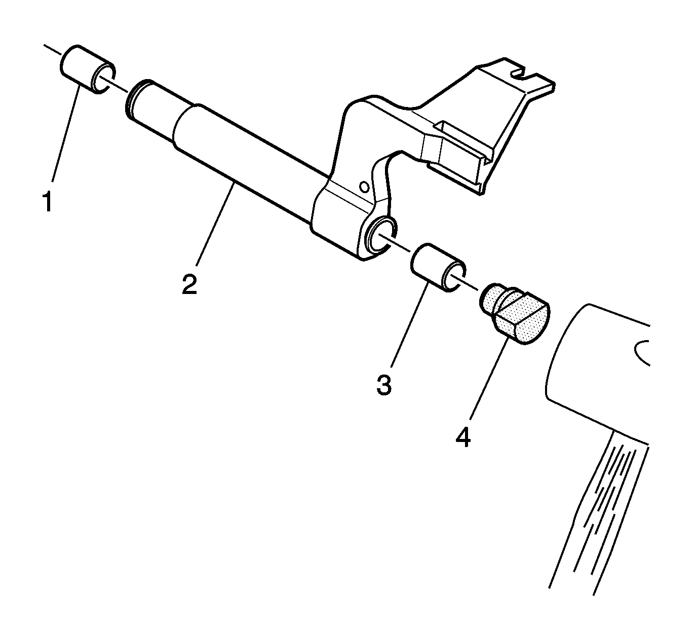
  1. Install the 5th/6th shift shaft lever bushings (1) and (3) in the 5th/6th shift lever (2) using the J 39437  (4) and a hammer.

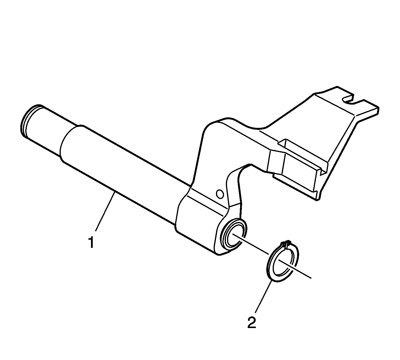
  2. Object Number: 1938401  Size: SH
  3. Install the retainer ring (2) on the 5th/6th shift lever (1).

  4. Object Number: 1938395  Size: SH
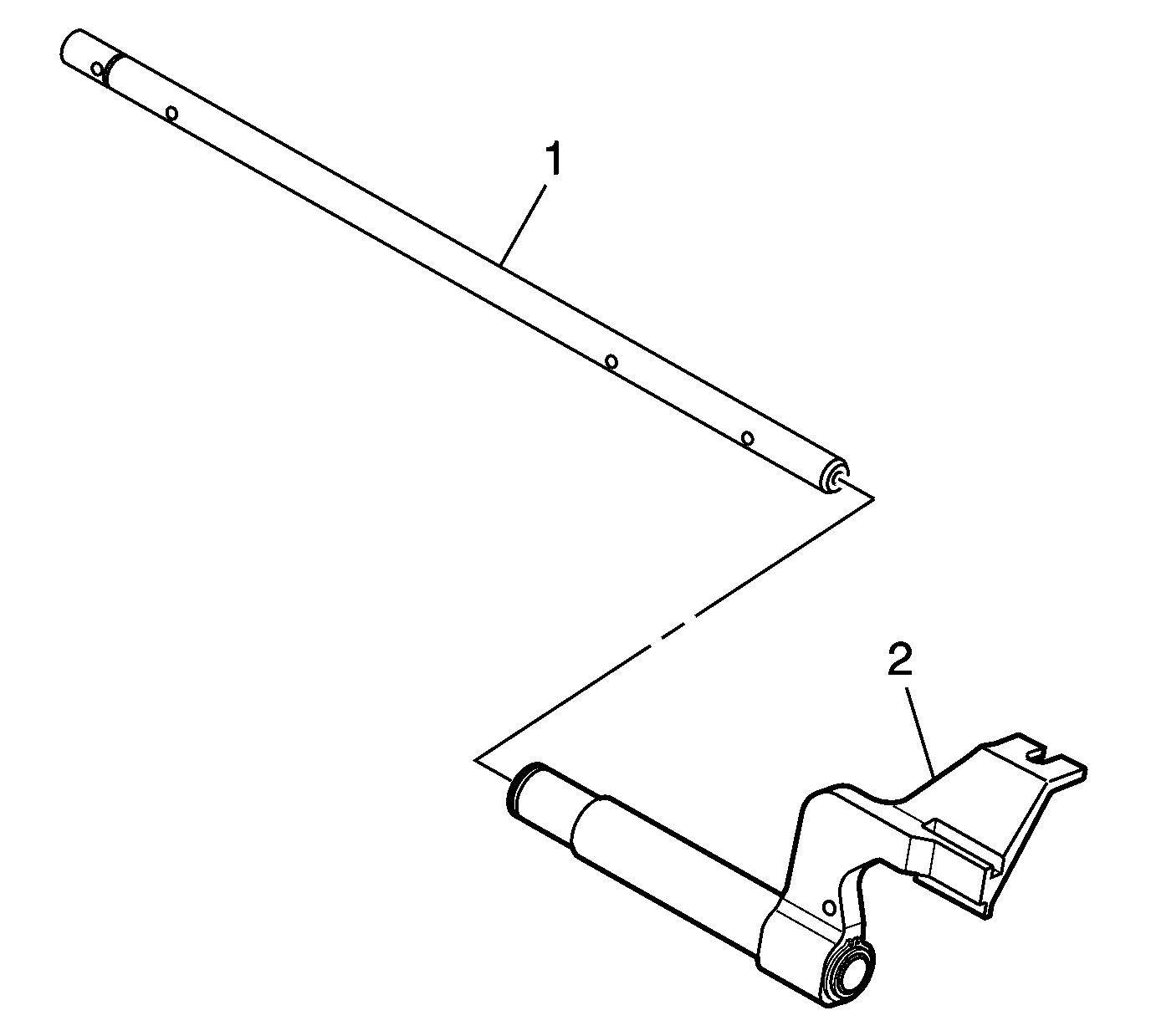
  5. Install the 5th/6th shift lever (2) on the shift shaft (1).

  6. Object Number: 1938394  Size: SH
  7. Install the reverse shift lever (2) on the shift shaft (1).

  8. Object Number: 1938393  Size: SH
  9. Install the reverse lever roll pin (3).
  10. Install the reverse collar (2).
  11. Install the reverse collar roll pin  (1).